
Die Geschichte des Perpetuum mobile gehört zum seltsamsten Kapitel aus der Romantik der Wissenschaft. Einem tiefen Bedürfnis des menschlichen Geistes entsprungen, hat diese Idee jahrhundertelang die Köpfe beschäftigt. Wir sehen eine schier unendliche Kette der verschiedenartigsten Versuche vor uns, die eins gemeinsam haben: das negative Resultat. Aber die Menschheit läßt sich durch die unzähligen Mißerfolge von der Unmöglichkeit des Unternehmens nicht überzeugen: hier ist der Wunsch mächtiger als die Vernunft.
Die Rolle, die das Perpetuum mobile in der Geschichte gespielt hat, ist zu den verschiedenen Zeiten verschieden. Die Idee des Perpetuum mobile, die als Problem nur den Denkenden zugänglich war, hat zunächst lediglich die Gelehrtenwelt interessiert. Dann kommt eine Zeit, da die Frage aus dem Rahmen einer Fachangelegenheit heraustritt und breite Schichten zu interessieren anfängt. Die Folge ist, daß das Perpetuum mobile, durch die angeblichen Erfolge dieses oder jenes »Erfinders« und die Anpreisungen von Charlatanen populär gemacht, zur Sensation wird. Da tritt zu Ende des 18. Jahrhunderts eine Wendung ein: im Jahre 1775 fühlt sich die Pariser Akademie der Wissenschaften gezwungen zu erklären, sie nehme ein für allemal kein Projekt eines Perpetuum mobile zur Prüfung mehr an, ganz gleich, was für Prinzipien diesem Projekt zugrunde liegen mögen. Aus dieser Erklärung allein geht schon hervor, wie überhäuft die oberste Instanz aller wissenschaftlichen Fragen in Frankreich zu jener Zeit mit Perpetuum-mobile-Erfindungen war. Durch diese Erklärung gerät die Idee arg in Mißkredit. In der bekannten »Geschichte der Mathematischen Wissenschaften« von Montucla, die nach dem Tode des Verfassers von Lalande weitergeführt wurde, lesen wir in der Ausgabe von 1802 die Bemerkung: »Es ist eher ein Schimpf als ein Lob, von jemandem zu behaupten, er suche das Perpetuum mobile«. Aber die Perpetuum-mobile-Sucher müssen auch damals noch zahlreich gewesen sein. Arago, der große Astronom und Mathematiker, macht sogar die Beobachtung, daß »die Perpetuum-mobile-Projekte besonders zahlreich im Frühling sind«. [2]
Das 19. Jahrhundert liefert durch das Gesetz von der Erhaltung der Energie den endgültigen Beweis dafür, daß das Perpetuum mobile unmöglich ist, und daß die Idee auf einer falschen Auffassung vom Wesen der Arbeit und der Arbeitsüberträgerin, d. h. der Maschine beruht. Mit diesem Nachweis verliert das Perpetuum mobile seine wissenschaftliche Bedeutung und gilt für den Physiker als erledigt. Aber damit wird die Frage nicht aus der Welt geschafft. Bis in unsere Tage werden die Versuche fortgesetzt, ein Perpetuum mobile zu konstruieren.
Für uns hat das Problem des Perpetuum mobile heute eine eigentümliche historische und erkenntnistheoretische Bedeutung. Wir fragen: auf welchem logischen, mehr noch, auf welchem weltanschaulichen Fundament ruht die Idee des Perpetuum mobile? Ferner: welchen Ursprung hat dieser Gedanke, mit welchen Mitteln wurde er zu verwirklichen gesucht? Was hat das Suchen nach dem Perpetuum mobile der Menschheit gegeben?
Man ist gewohnt, das Perpetuum mobile in einem Atemzug mit dem Stein der Weisen zu nennen. Eine landläufige Meinung ist die, daß ebenso wie das Experimentieren und Kochen der Alchemisten zu vielen wertvollen Entdeckungen (Gewinnung des Phosphors, Bereitung des Porzellans) und schließlich indirekt zum Gesetz der Erhaltung des Stoffes geführt hat, so habe auch das Suchen nach dem Perpetuum mobile uns notwendigerweise zum Gesetz von der Erhaltung der Energie gebracht. So verlockend an sich dieser Vergleich auch ist, so stimmt er doch nicht.
Die Geschichte des Perpetuum mobile ist mit nichts zu vergleichen. Sie hat keinen Anfang und kein Ende. Es ist auch keine Geschichte im eigentlichen Sinne des Wortes. Wir haben es hier nicht mit einem stetigen Fortschreiten und Weiterentwickeln zu tun, sondern mit einem verwirrenden Durcheinander von Versuchen und Bemühungen, die immer von der Tradition (von der Legende, möchte man fast sagen) eines Begriffes zusammengehalten werden, aber in keinem inneren Zusammenhang der geleisteten Arbeit miteinander stehen. Jeder »Erfinder« fängt von vorne an, ohne von den Erfahrungen seiner Vorgänger etwas gelernt zu haben; jeder experimentiert auf eigene Faust und mit seinen eigenen Mitteln, und jeder muß auf eigene Kosten zu der Überzeugung der Unmöglichkeit gelangen.
Das historische Material, das über das Perpetuum mobile existiert, ist fast unermeßlich. Wie die Idee selbst, so sind viele Dokumente, die auf sie Bezug haben, unklar und verworren. Man kann von verschie [3] denen Gesichtspunkten aus an diese Idee herantreten. Es gilt indes, aus dem riesigen Stoß von Material die interessantesten und bemerkenswertesten Exemplare herauszugreifen, sie zu schildern und ihren Wert vom Standpunkt der heutigen Wissenschaft zu zeigen. Die Details der rein technischen Seite der Frage sollen nur insoweit berücksichtigt werden, als sie für das allgemeine Verständnis notwendig sind.
Charakteristisch für das Problem des Perpetuum mobile erscheint uns auch der Umstand, daß es bis jetzt in der ganzen Literatur keine systematische Behandlung dieser Frage gibt. Von den zwei bis jetzt existierenden Büchern, die sich mit der Geschichte des Perpetuum mobile beschäftigen, ist das eine (H. Dircks: The perpetuum mobile, London 1861-72. 2 Bde.) eine fleißige, aber unvollständige, ungeordnete und vollkommen wahl- und kritiklose Zusammentragung von Material, und das andere (Daul: Das Perpetuum mobile, Wien 1900) eine Kompilation des ersteren. Es wird sich also für uns darum handeln, den Quellen nachzugehen und die Dokumente zu prüfen. Die Aufgabe wird sein, das Material gleichzeitig vom Standpunkt der Physik und in seiner historischen Bedeutung zu gruppieren.
Der Begriff „Perpetuum mobile“ ist heutzutage dermaßen verbraucht und ins Lächerliche verzerrt, daß man sich kaum noch nach dem eigentlichen Sinne des Wortes fragt. Bevor wir an die Schilderung der Mittel gehen, mit denen man zu verschiedenen Zeiten ein „Perpetuum mobile“ zu konstruieren suchte, wollen wir näher betrachten, was unter dieser Bezeichnung zu verstehen sei.
Wie die wörtliche Übersetzung (perpetuum = fortdauerndes/ewiges, mobile = bewegliches) zeigt, muß ein „Perpetuum mobile“ etwas sein, was in beständiger, ewiger Bewegung ist. Als künstliche Vorrichtung gedacht, wäre das eine Maschine, die bloß durch die Tatsache ihrer Existenz, also nach vollendeter Konstruktion in Bewegung geriete und eine unbegrenzt lange Zeit in Bewegung bliebe. In der Praxis hat man sich meist darauf beschränkt, eine Maschine haben zu wollen, die einmal in Gang gesetzt, sich auf ewige Zeit weiter bewegte. Eine solche Maschine wäre z. B. eine Uhr, die einmal aufgezogen, bis in alle Ewigkeit weiter ginge ohne stehen zu bleiben.
Ohne an dieser Stelle näher darauf einzugehen, warum eine solche [4] Vorrichtung eine Sache der Unmöglichkeit ist, müssen wir schon hier betonen, daß allein der Begriff des ewigen (perpetuierlichen) eine solche Vorrichtung aus dem Bereich der Erfahrung heraushebt und ihr ein transzendentes Gepräge verleiht. Die Erfahrung lehrt, daß alles im Leben begrenzt und zeitlich ist; das „Ewige“ existiert nur als Begriff, steht aber außerhalb der Erfahrung. Jede Maschine, jede künstlich ersonnene Vorrichtung muß — und sei sie noch so vollkommen — in ihrer Bewegung ablaufen und eines Tages stehen bleiben. Will man etwas konstruieren, was „nie aufhört“, so will man dadurch die Grenzen des Möglichen überschreiten, und es ist klar, daß ein solches Problem ungelöst bleiben muß.
Als Beispiele von „perpetuierlicher Bewegung“ wurden oft Naturerscheinungen angeführt, wie die Bewegung der Himmelskörper, Ebbe und Flut usw. Aber die Naturwissenschaft fragt doch auch nach dem Anfang und dem Ende der Himmelskörper, und vom Standpunkt der Kosmogenie ist die Bewegung der Sonne z. B. ebensowenig „ewig“ zu nennen, wie die jedes anderen aufgezogenen Mechanismus.
Liegt schon im Begriff des zeitlich Unbegrenzten eine physische Unmöglichkeit, so wird die gedachte Aufgabe des Perpetuum mobile noch dadurch kompliziert, daß es nicht nur ewig gehen, sondern dabei auch noch eine (nützliche) Arbeit verrichten sollte. Von den meisten Autoren, die sich mit dieser Frage beschäftigten, wurde das Perpetuum mobile definiert als „eine Maschine, die einmal in Bewegung gesetzt, ohne weiteren Kraftantrieb eine unbegrenzt lange Zeit weiterginge und irgendeine nützliche Arbeit leistete“. Unter „Arbeit“ wurde dabei zumeist eine mechanische Bewegung verstanden: das Heben und Senken eines Gewichts, das Rollen eines Rades oder sonst eine Bewegung, die zu praktischen Zwecken benutzt werden könnte.
Eine solche Maschine konstruieren zu wollen, widerspricht unseren ganzen heutigen Vorstellungen vom Wesen der Maschine und ihrer Arbeitsfähigkeit. Der Sinn der Maschine besteht darin, daß sie die Richtung der Kraftwirkung ändert und die zur Verfügung stehende Energie, d. h. die Arbeitsfähigkeit, modifiziert. Die Energie selbst unterliegt aber dem Gesetz der Erhaltung ebenso wie die Materie: durch keine Maschine der Welt kann Arbeitsfähigkeit neu geschaffen werden, ebensowenig wie sie zerstört werden kann.
In der älteren Literatur findet man zwei Arten des Perpetuum mobile unterschieden: das Perpetuum mobile physicae und das [5] Perpetuum mobile naturae. Der erstere dieser Begriffe deckt sich mit dem, was wir bis jetzt unter einem Perpetuum mobile verstanden haben. Was aber mit dem „natürlichen“ Perpetuum mobile gemeint war, ist den Autoren, die davon sprechen, selbst meist unklar geblieben. Soviel steht fest, daß dieses „Perpetuum mobile naturae“ nichts mit Physik und Mechanik, wie überhaupt nichts mit einer wissenschaftlichen Disziplin zu tun hat.
Bei dem physikalischen Perpetuum mobile an sich wurde wiederum zwischen einem „mechanischen“ und einem „physikalischen“ Perpetuum mobile unterschieden. Unter dem ersteren wurde eine Maschine verstanden, die durch mechanische Mittel allein bewerkstelligt sei, während beim zweiten auch andere physikalische Hilfsmittel, wie Magnetismus, Elektrizität usw. mit in Betracht kamen. Der Unterschied muß aufrechterhalten bleiben, denn vielfach verneinten die einen die Möglichkeit eines mechanischen Perpetuum mobile, während sie von der Erreichbarkeit des physikalischen überzeugt waren, oder umgekehrt.
Da die Idee des Perpetuum mobile etwas durchaus Ungewöhnliches darstellt, so ist man zunächst bewogen zu fragen, wie man überhaupt auf die Idee gekommen ist. Seit wann datiert dieser Gedanke, durch welche wissenschaftlichen oder praktischen Momente wurde er in die Welt gerufen, welcher Notwendigkeit entsprang er?
Schon die lateinische Bezeichnung des Begriffes zeigt, daß der Gedanke alt sein muß und daß er zumindest schon bekannt war zu der Zeit, da die Gelehrtensprache Latein war. Rosenberger verlegt in seiner „Geschichte der Physik“ den Ursprung der Perpetuum-mobile-Idee in jene Zeit, als man eine besondere Vorliebe für Automaten und mechanische Spiele hatte, also etwa in die Zeit zwischen 1690-1750. Dieser Annahme widerspricht aber die einfache Tatsache, daß schon lange vor dieser Zeit Perpetuum-mobile-Projekte existierten. Geht man in der Literatur immer mehr zurück, so findet man schon im 13. Jahrhundert einen Plan zur Herstellung einer fortdauernd sich bewegenden Vorrichtung, und interessant ist, daß der Autor dieses Planes, Vilard de Honnecourt, selbst schon davon spricht, daß man „seit einiger Zeit“ beschäftigt sei, eine solche Vorrichtung zu konstruieren.
In der ältesten Literatur wird vom Perpetuum mobile oft gesprochen, als „von dem großen Geheimnis, an dessen Enthüllung Führer [6] der Philosophie wie Demokritos, Pythagoras und Plato gearbeitet haben, ebenso wie die Gymnosophisten und die indischen Priester“. Aber wie es in der Geschichte jedes Gedankens der Fall ist und in der Geschichte eines so unproduktiven Gedankens wie der des Perpetuum mobile der Fall sein muß, werden oft Ansichten übernommen und weiter verbreitet, die zumindest zweifelhaft sind. So steht es auch mit diesem Zitat. Wir finden es zuerst bei Bischof Wilkins, einem Autor des 17. Jahrhunderts; der Gedanke wird immer weiter übernommen bis in das 19. Jahrhundert. Schließlich gewinnt die Ansicht den Charakter eines Axioms, ohne daß man je ihre Richtigkeit geprüft hat.
In Wirklichkeit kann weder bei Plato noch irgend sonstwo in der klassischen Literatur ein Nachweis dafür gefunden werden, daß die obengenannten Autoren sich mit dem Perpetuum mobile beschäftigt hätten. Bei der großen Rolle, die das Perpetuum mobile im ganzen Mittelalter gespielt hat, ist es nur natürlich, daß die Scholastiker auch in dieser wichtigen Frage das Bedürfnis hatten sich auf die Autorität der Alten zu stützen, und so werden bald Plato, bald Pythagoras angerufen, auch wo man kein Recht dazu hat.
Es fehlt bis jetzt an historischen Daten, die den Zeitpunkt der Entstehung des Perpetuum-mobile-Gedankens angäben. Man hat keine historische Berechtigung, positiv zu behaupten, daß man schon im griechischen Altertum oder gar im alten Indien Versuche zur Verwirklichung dieses Gedankens unternahm. Man kann hier nur Vermutungen aussprechen, Vermutungen, die mehr oder weniger Wahrscheinlichkeit für sich haben.
Man muß einen Unterschied machen zwischen der Idee der ewigen Bewegung als solcher und den praktischen Versuchen zu ihrer Verwirklichung. Diese letztere Frage ist eine Frage der Technik und physikalischen Anschauungsweise. Der Ursprung des Perpetuum mobile als einer praktischen Angelegenheit muß also zunächst in der Geschichte der Technik gesucht werden.
Die Anfänge der Technik gehen in das hohe Altertum zurück. Es war vor allem das Heben von Lasten (beim Häuserbau und bei der Wasserversorgung), das das Bedürfnis nach der Maschine hervorrief. (Man denke an den Bau der Pyramiden.) Noch in später Zeit, bei Marcus Vitruvius, dem römischen Ingenieur zur Zeit der Geburt Christi wird die Maschine selbst definiert als „hölzerne Vorrichtung, die dazu bestimmt ist, Lasten zu heben“. Mit der Maschine, die Kraft gewinnt [7] auf Kosten der Zeit, scheint ein ungeheurer Arbeitsaufwand gewonnen zu sein. Die Maschine befreit sozusagen den Menschen vom Erbfluch der Arbeit. Je vollkommener die Maschine ist, desto mehr schont sie unsere Kraft und stellt uns die ihrige zur Verfügung. Das Ideal wäre also eine Maschine, die nichts von uns verlangt, keine Kraft zu ihrer Unterhaltung fordert, und immer weiter aus sich heraus Arbeit leistet. In diesem Ideal liegt etwas vom Traum der Menschheit vom goldenen Zeitalter, da man ernten wird ohne zu säen, und der Mensch nicht mehr im Schweiße seines Angesichts Brot essen wird. Es ist also nur zu wahrscheinlich, daß der Wunsch nach einer von selbst arbeitenden Maschine sich im Kopfe des Menschen regte, dem zuerst der Wert und der Nutzen der Maschine überhaupt klar wurde. In diesem Sinne ist die Behauptung bezeichnend, die man schon in der ältesten Literatur findet: „Das Ding, das sich seit Anbeginn der Welt bis auf diesen Tag die großen Philosophen mit andauernden Studien und großer Mühe versucht haben zu bewerkstelligen.“
Ist aller Wahrscheinlichkeit nach das Perpetuum mobile als technische Aufgabe schon sehr alt, so muß der Gedanke der ewigen Bewegung, als Idee, noch älteren Ursprungs sein. Ihre Wurzel ist nicht allein in den physikalischen Ansichten, sondern in der allgemeinen Kulturgeschichte zu suchen.
Es war das unvergleichliche Verdienst Berthelots zuerst (in den „Ursprüngen der Alchemie“) darauf hingewiesen zu haben, daß der Ursprung und die Langlebigkeit der Alchemie nicht im geringen Maße Momenten religiöser Natur zu verdanken seien. Daß auch bei dem Problem des Perpetuum mobile religiöse und mythologische Momente eine Rolle spielen, unterliegt keinem Zweifel. Man denke daran, welche Rolle in der Symbolik der alten Religionen das Rad spielt, das Rad, in dem die Idee der Bewegung und der in sich wiederkehrenden Wiederholung am besten verkörpert ist. In der Religion der Veda (vgl. Oldenberg), der Urreligion des alten Indiens, ist das Rad das Symbol der Gottheit. Denselben Sinn hat das Rad bei den alten Germanen und den Kelten, viele religiöse Bräuche und Mythen zeugen vom religiösen Ursprung des Symbols des Rades, das sowohl durch seine Form wie seiner Bewegung mit der Sonne am nächsten vergleichbar ist. Durch das Radsymbol erklärt Oldenberg auch die Tatsache, daß an dem Pfahl, an den die Opfertiere angebunden werden, ein Kranz angebracht wurde. Die Wissenschaft, d. h. das kausale Denken, über [8]nimmt in ihren Anfängen unbewußt den religiösen Vorstellungskreis, und Spuren von Ansichten religiöser und okkulter Natur sind hie und da noch zu finden, wenn die Wissenschaft den Stand der Dinge schon weit überholt hat. Nur durch religiöse Einflüsse ist z. B. zu erklären, daß die Theologen des Mittelalters das Perpetuum mobile heiß verfechten, und die Endlichkeit der Bewegung, d. h. die Unmöglichkeit des Perpetuum mobile für unvereinbar mit der göttlichen Wissenschaft halten. Da das Urbild der „ewigen“ Bewegung, die Bewegung der Himmelskörper, einmal in der Natur gegeben war, so erschien es absolut anstrebenswert, eine solche Bewegung auch künstlich hervorzubringen.
In der Mythologie fast aller Völker findet man Berichte von Gegenständen und künstlich erzeugten Vorrichtungen, die ewig währen. Als Gegenstück zum eigentlichen Perpetuum mobile, als Perpetuum mobile besonderer Art ist z. B. die „ewige Lampe“ zu betrachten. Die Legende der ewigen Lampe ist sehr alt. Der heil. Augustinus erwähnt die angebliche ewige Lampe im Tempel der Venus, die von selbst, ohne Ölzufuhr brannte und weder vom Winde noch durch Regen oder Unwetter ausgelöscht werden konnte. Augustinus selbst zweifelt keinen Augenblick an der Möglichkeit solcher Lampen und sieht in ihnen ein Werk des Teufels. Eine Lampe, die anderthalb Jahrtausende gebrannt haben sollte, wollte man 1345 im Grabe der Tullia, der Tochter Ciceros gefunden haben. Es existieren noch zahlreiche andere Erzählungen über solche von selbst brennende Lichtquellen, die, einmal instand gesetzt, unaufhörlich brennen und Licht spenden bis sie zerstört werden.
Die Legende von der ewigen Lampe zeigt, daß der Wunsch der Menschheit nach einer künstlichen Vorrichtung, die ewig funktioniert, uralt ist, vielleicht ebenso alt wie die Sehnsucht nach Unsterblichkeit. Abgesehen von der technischen Seite der Frage, gehört also die Idee der ewigen Bewegung zu den Urfragen der Kultur.
Das erste, bis jetzt bekannte authentische Dokument über die Verwirklichung der Perpetuum-mobile-Idee durch äußere Mittel stammt aus dem 13. Jahrhundert. Sein Autor ist Vilard de Honnecourt, ein gothischer Architekt zur Zeit Ludwigs des Heiligen. Zu den Schöpfungen dieses Architekten gehört unter andern die Karthäuserkirche von Vaucelles bei Honnecourt in Nordfrankreich. [9]
In der Pariser École des Chartes befinden sich die Originale der erhalten gebliebenen Handzeichnungen Honnecourts, wo sich neben Architekturentwürfen und Ornamenten das für uns in Betracht kommende Projekt befindet.
Ein Gerüst (Abb. 1), das aus zwei Balken und einem Querbalken gebildet ist, trägt in seiner Mitte auf einer Achse ein Rad mit 4 Speichen. Auf der Peripherie des Rades hängen 7 Schlegel frei hinunter: 4 davon sind nach der einen, 3 nach der andern Seite gerichtet. Die Zeichnung trägt die Inschrift: „Seit einiger Zeit streiten sich die Meister, wie man ein Rad durch sich selbst sich drehen lassen könnte. Auf folgende Art kann man es durch eine ungerade Anzahl von Schlegeln oder durch Quecksilber erreichen.“

Nach dieser Inschrift kann man sich ungefähr vorstellen, wie sich der Verfasser die Wirkung seiner Vorrichtung gedacht hat. Beim freien Fallen eines Schlegels an der Peripherie wird das Rad mitgerissen und etwas gedreht. Nun sollten die Schlegel einer nach dem andern fallen und das Rad in ununterbrochener Bewegung erhalten.
Das Album des Vilard de Honnecourt ist das einzige Dokument, das von diesem Manne erhalten geblieben ist, und so läßt sich nicht feststellen, ob er selbst der Urheber dieses Projekts war oder den Plan eines andern beschreibt. Vilard de Honnecourt baute Kirchen. Vielleicht gab ihm die Anregung zu dieser Idee die Metalltrommel mit Schlegeln, die in alten Kirchen jetzt noch an Stelle einer Glocke gebraucht wird. Er muß gewiß beobachtet haben, daß die Trommel unter dem Einfluß der Trägheit sich eine Weile noch bewegt, nachdem ihr der letzte Schlag versetzt worden war, und so mag er vielleicht die Idee gefaßt haben, die Trommel könnte sich kontinuierlich bewegen, wenn ihr immer neue Schlegel zu Hilfe kämen.
Man muß annehmen, daß in der auf Vilard de Honnecourt folgenden Zeit die Idee des Perpetuum mobile weiter entwickelt wurde. Zwei Jahrhunderte später finden wir fast dieselbe Form des beschriebenen Perpetuum mobile wieder, und zwar wieder von einem Künstler [10] vertreten. Es ist kein geringerer als Lionardo da Vinci (1452-1519), der sich mit dem Problem des Perpetuum mobile befaßte.
Bekannt ist, daß Lionardo ebenso groß als Techniker und Gelehrter wie als Maler war. Ein tragisches Geschick lastet über dem Lebenswerk Lionardos. Seine Bilder sind zum Teil von der Zeit zerstört, zum Teil verloren gegangen. Ebenso sind seine wissenschaftlichen Werke teils verloren, teils unwirksam geblieben. Aber erwiesen ist, daß viele wichtige wissenschaftliche Ansichten, deren Ursprung man gewöhnlich viel später datiert, bereits Lionardo gehörten. Lionardo hatte, 100 Jahre vor Galilei, richtige Vorstellungen vom freien Fallen der Körper, er kannte die Gesetze der auf den Hebelarm schief wirkenden Kräfte, die Gesetze der Reibung usw. Wie tief Lionardo das Wesen der Mechanik erfaßte, geht aus einer Bemerkung hervor wie: „Die Mechanik ist das Paradies der mathematischen Wissenschaften, denn mit ihr gelangt man zur Frucht des mathematischen Wissens.“
Neben der Mathematik und der reinen Wissenschaft beschäftigten Lionardo Fragen technischer Natur. Zahlreich sind seine Pläne technischer Erfindungen. Von einer Flugmaschine auf Grund des freien Vogelfluges bis auf einen Lampenzylinder gegen das Blaken der Lampe findet man in seinen Skizzen die technischen Projekte der verschiedensten Art. Unter den Originalskizzen Lionardos im Britischen Museum zu London befindet sich ein Blatt, das stark vermuten läßt, daß Lionardo sich mit dem Problem des Perpetuum mobile beschäftigte. Wie man sieht (Abb. 2), erinnern die Zeichnungen sehr an das Perpetuum-mobile-Projekt des Vilard de Honnecourt. Besonders interessant ist Zeichnung 1. Wir sehen darauf ein Rad mit vielen Fächern, die je ein Gewicht führen. Besonders diese Modifikation des Rades, das durch die Schwere angetrieben wird, bildete das Versuchsobjekt der Erfinder der folgenden Jahrhunderte.
Auch an vielen Stellen des Codex Atlanticus, dem Mailänder handschriftlichen Nachlaß Lionardos, findet man Skizzen, die glauben lassen, daß Lionardo die Perpetuum-mobile-Projekte seinerzeit genau bekannt waren. Doch er selbst erkennt mit dem Scharfsinn des Mathematikers und der Überlegenheit des Technikers, daß die Projekte dieser Art unausführbar sind. „O Erforscher der ewigen Bewegung, wie viele eitle Pläne habt ihr bei dergleichen Suchen geschaffen“, bemerkt Lionardo bei Gelegenheit eines Perpetuum-mobile-Projekts. [1]

Die Autorität, die Vilard de Honnecourt für die Nachwelt bedeutete, mochte viel dazu beigetragen haben, daß sein Perpetuum-mobile-Projekt gerade unter seinen Fachgenossen, den Architekten sehr bekannt war. Noch am Ende des 17. Jahrhunderts finden wir fast dieselbe Konstruktion wie bei Vilard von einem Architekten beschrieben. Alessandro Capra, Architekt in Cremona, nimmt in einem Werke aus dem Jahre 1683 die Idee des Rades, das durch Gewichte an seiner Peripherie bewegt wird, wieder auf. Aber Capra scheint sich der ganzen Schwierigkeit der Konstruktion bewußt gewesen zu sein. Damit die Schlegel (Abb. 3) von rechts nach links ihre Richtung ändern können, modifiziert Capra die Idee. Auf der Achse C schwebt frei ein gut equilibriertes Rad A. An dessen Peripherie hängen in gleichen Abständen an einer Art von Ösen 18 gleich schwere Gewichte. Unter dem Einfluß der Schwerkraft fallen die Gewichte B hinunter, ziehen das Rad mit und zwingen die Gewichte I ihre Richtung zu ändern. Capra erklärt die Wirkung der Maschine dadurch, daß die Gewichte in Lage B sich weiter vom Zentrum befinden und daher „mehr wiegen“ als die Gewichte I.

Den einfachsten Eindruck von physikalischer Bewegung bekommen wir durch den frei fallenden Körper. Im freien Fallen, im Streben zur Erde reißt der fallende Körper alle Gegenstände mit, die mit ihm verbunden sind, und wird also selbst zur Ursache einer Bewegung. Da die Ursache dieser Ursache, die Schwerkraft, konstant ist, so liegt der Gedanke an sich nahe, man müsse nur die Schwerkraft richtig ausnutzen, um die Bewegung von Körpern ewig zu erhalten. Und so laufen die Bemühungen, ein Perpetuum mobile mit mechanischen Mitteln zu konstruieren, immer auf den Versuch hinaus, ein Rad durch Gewichte, d. h. unter dem Einfluß der Schwere sich bewegen zu lassen. [13]
Daß eine solche Vorrichtung, so verlockend sie auf den ersten Blick auch erscheint, nichts als eine kühne Phantasie ist, braucht nicht besonders erörtert zu werden. Der einzige, aber auch vollkommen ausreichende Einwand, der gegen die Vorrichtung gemacht werden kann, ist der, daß sie nicht funktioniert. Würde man ein solches Rad mit Gewichten an der Peripherie aufstellen, so würde es sich nur zu bald zeigen, daß die Vorrichtung gleich nach der Aufstellung in Ruhe gerät und darin verharrt.
Heute, da sich die physikalische Erfahrung auf streng tatsächliches Material stützt, erscheinen uns Projekte wie diese fast unglaublich. Wir fragen uns unwillkürlich: haben denn die klugen Erfinder des von selbst sich bewegenden Rades nie versucht, ihre Idee in Praxis umzusetzen, um zu sehen, wie töricht sie ist, oder ist der Plan die Ausgeburt eines ungebildeten Kopfes und überhaupt nicht ernst zu nehmen?
Die Namen allein zeigen, daß die Idee durchaus ernst zu nehmen ist. Es ist schwer zu sagen, wer der Urheber dieses Gedankens ist. Wir treffen ihn zu den verschiedensten Zeiten bei den verschiedensten Autoren. Kaspar Schott, ein Physiker des 17. Jahrhunderts, bezeichnet das Rad, das durch Gewichte gedreht wird, als Erfindung eines gewissen Mitz, dem er noch die Erfindung eines andern Perpetuum mobile zuschreibt (von den Arbeiten des Mitz ist aber sonst nichts bekannt). Das Zeugnis Schotts entspricht, wie wir gesehen haben, in diesem Fall nicht den Tatsachen, denn wir finden ja dasselbe Projekt schon lange vorher. Ein Zeitgenosse Schotts, der sich ebenso wie dieser viel mit der Frage des Perpetuum mobile befaßt, ist John Wilkins, der Schwager Cromwells und berühmte Bischof von Chester. In seiner „Mathematical Magick“ erörtert er auch die Frage des mechanischen Perpetuum mobile, und es ist zu bewundern, mit welch kritischem Geiste er dabei verfährt.
Der Irrtum, auf dem die Konstruktion des Rades mit den Gewichten beruhte, lag vor allem in der falschen Auffassung des Hebelprinzipes. Das Hebelprinzip ist an sich schon sehr alt. Archimedes (der der Legende nach mit einem Hebel die Welt aus den Angeln heben wollte, wenn man ihm den richtigen Unterstützungspunkt zeigte) beweist, daß ein durch zwei Gewichte belasteter Hebel im Gleichgewicht sein muß, wenn die einzelnen Gewichte sich umgekehrt proportional verhalten wie die Hebelarme. So klar für uns diese Archimedische Behauptung ist, so [14] wurde sie doch von den Perpetuum-mobile-Konstruktoren falsch verstanden. Sie beriefen sich darauf, daß beim Fallen der Gewichte, einige Gewichte sich weiter vom Zentrum befanden und daher mehr „Schwere“ (oder wie einige Autoren sagten: mehr „Gewicht“) besäßen als die andern, so daß sie die letztern überwiegen müßten. Es ist interessant, wie Bischof Wilkins mit den Mitteln seiner Zeit sich gegen diese Behauptung wendet.
Angenommen, der Mittelpunkt des Rades sei A (Abb. 4); der Durchmesser DC sei in 10 gleiche Teile geteilt. Es ist evident, laut dem Hebelgesetz, daß 1 Pfund in C 5 Pfund in B im Gleichgewicht halten, denn die Arme AC und AB stehen im Verhältnis 5 : 1. Dabei ist es gleichgültig, ob und wieviele Gewichte horizontal hängen. Obwohl C z. B. höher hängt als das Gewicht in F oder niedriger als in E, so ist die Wirkung dieselbe, denn die Gewichte streben abwärts in vertikaler Linie. Ihre Schwere (meint Wilkins) ist zu messen durch den Teil des horizontalen Durchmessers, auf, unter oder über dem die Last hängt. Wird die Last C nach G oder H gebracht, so verliert sie 2/3 ihres früheren Gewichts und wird so schwer, als ob sie auf dem Wagebalken selbst 3 Teilstriche vom Zentrum weit aufgehängt wäre. Die Teilstriche auf dem Wagebalken können also, laut Wilkins, als Maßstab der Schwere eines jeden Gewichts in den verschiedenen Lagen dienen.

Wir sehen, Wilkins hat andere Vorstellungen über das Gewicht und die Schwere als wir heute. Wir nennen heute das Gewicht die Kraft, mit der ein Körper zum Erdmittelpunkt strebt. Diese Kraft ist konstant. Bei Wilkins hängt das „Gewicht“ von der jeweiligen Lage des Körpers ab. Er nennt „Gewicht“ und „Schwere“ das, was wir heute beim Hebel mit dem Worte „statisches Moment“ bezeichnen, d. h. das Produkt aus Last und Lastarm (Entfernung der Last vom Unterstützungspunkt). Ein Hebel, auf den verschiedene Lasten einwirken, befindet sich in Ruhe, wenn die algebraische Summe aller Momente gleich 0 ist. Aber obwohl Wilkins' Terminologie der unsrigen widerspricht, so kommt [15] er doch zu einem richtigen Resultat in der Verneinung der Perpetuum-mobile-Frage.
Zu diesem Zweck denkt er sich zwei konzentrische Kreise, die auf ihrer Peripherie je 8 gleiche Gewichte tragen. [2] Die Gewichte sind so gewählt, daß die im inneren Kreise zu denen im äußeren Kreise im Verhältnis der Radien, der Entfernungen vom Zentrum stehen. Obwohl beim Fallen der Gewichte ihre Entfernung vom Zentrum, also ihr Gewicht vermehrt wird (meint Wilkins), so kann doch keine perpetuierliche Bewegung der Kreise eintreten. Wilkins zählt die Summe aller „Gewichte“ auf den beiden Kreisen zusammen und findet, daß die Summe aller „Gewichte“ (der Momente, würden wir sagen) stets gleich ist der Summe der „Gewichte“ auf dem andern Kreise.
Wie wir sehen, ist Wilkins' Interpretierung, abgesehen von der Terminologie, ganz richtig. Um dem Gedanken eine allgemeine Fassung zu geben, stützt er sich auf die Autorität des großen Mathematikers Cardanus (1501-1576), der aussagt: alle Körper unter dem Monde fallen oder steigen, und diese Bewegung muß aufhören, wenn der Körper auf dem Platz angelangt ist, zu dem er strebt.
Nicht so einsichtsvoll wie Wilkins waren seine Zeitgenossen. Einer der gelehrtesten Männer seiner Zeit, ein wirklicher Physiker, Athanasius Kircher (1602-1680), der unter anderen die Laterna magica erfunden hat, versucht es, das mechanische Perpetuum mobile theoretisch zu begründen. Er untersucht folgenden Fall.
Ist auf dem Kreise (Abb. 5) ADBC das Gewicht D = C, so ist keine Bewegung möglich, denn Gleiches kann nicht Gleiches heben. Wird jedoch das Gewicht D etwa nach F verschoben, so daß FE größer als CE ist, so muß D entschieden C heben. Ja, auch wenn D leichter wäre als C, z. B. 3½ Pfund gegen 4, so würde D doch C heben.

Daraus sieht man, daß eine kleinere Last im allgemeinen eine größere heben kann, und daraus folgt, schließt Kircher, daß das mechanische Perpetuum mobile möglich ist.
Kirchers Schluß beruht auf der Vernachlässigung eines Gesetzes, das wir „die goldene Regel der Mechanik“ nennen. Zwar kann eine größere Last durch eine kleinere gehoben werden, aber was an Kraft dabei gewonnen wird, geht an Zeit verloren, und es findet kein Gewinn an Arbeit statt.
Bei dem großen Ansehen, das Athanasius Kircher bei seinen Zeitgenossen und ganz besonders unter seinen Ordensbrüdern (Kircher war Jesuit) genoß, konnte seine theoretische Ansicht über das mechanische Perpetuum mobile nur zu neuen Versuchen anspornen. Das 17. Jahrhundert ist an Projekten von Rädern, die unter dem Einfluß der Gravitation bewegt werden, besonders reich. Eine andere Modifikation des Rades, das durch Gewichte angetrieben wird, ist ein Rad oder vielmehr eine Trommel, die in einzelne Fächer geteilt ist und durch rollende Kugeln oder Quecksilber in diesen Fächern angetrieben wird. Das ist das Projekt, dessen Schema die Zeichnung 1 auf Lionardos Blatt zeigt (siehe Seite 11). Obwohl also diese Idee schon zur Zeit Lionardos bekannt sein mußte, so ist doch äußerst charakteristisch für die Unfruchtbarkeit der ganzen Perpetuum-mobile-Idee, daß dasselbe Projekt immer wieder von neuem entworfen wird. So kommt es, daß 300 Jahre nach Lionardo die Idee noch für ganz „neu“ galt. Ein besonders bitterer Witz der Geschichte besteht darin, daß ein Mann durch diese „Erfindung“ zu hohen Ehren gelangte, dessen wirkliche wissenschaftliche Verdienste lange Zeit unbeachtet blieben.
Der Mann war Edward Somerset, Marquis von Worcester (1601-1667). Er spielte nicht nur eine große politische Rolle zur Zeit Karls I., sondern machte sich auch in der Mechanik verdient. Sein Name wird vor allem mit der Erfindung der Dampfmaschine in Verbindung gebracht. In seinem Buche „A Century of Inventions“, finden wir unter anderen Projekten, wie der fliegende Mann, der Segelwagen usw. auch ein Perpetuum mobile angeführt, das der Erfinder selbst „das unglaublichste Ding der Welt“ nennt.
Die Erfindung soll unter großem Pomp im Tower von London dem König, dem Herzog von Richmond, dem Herzog von Hamilton und dem versammelten Hofe vorgeführt worden sein. Die Zeitgenossen sprachen mit höchster Begeisterung von diesem Wunder, und es sind [17] zahlreiche Berichte erhalten über das Aufsehen, das der Marquis erregte. Aber über die Erfindung selbst sind fast keine Berichte erhalten geblieben. Es heißt nur so viel, daß es ein Rad von 14 Fuß Durchmesser war, das durch 14 Gewichte von je 50 Pfund angetrieben wurde. Partington, der das Buch des Marquis von Worcester 1825 neu herausgab, fügte eine Zeichnung bei, die der Zeichnung I auf unserer Abb. 2 entspricht.

Auch diese Perpetuum-mobile-Idee erfuhr eine zeitgenössische Kritik, ähnlich wie das Rad mit den Gewichten von Bischof Wilkins. Jakob Leupold, ein Mechaniker aus dem Ende des 17. und Anfang des 18. Jahrhunderts, dessen Luftpumpe, die er für Christian Wolf angefertigt hat, bis jetzt noch eine Sehenswürdigkeit bietet, zeigt die Unhaltbarkeit der Idee auf Grund einer Berechnung. Eine Trommel (Abb. 6) möge durch Bretter in 12 Kammern eingeteilt sein. In jeder Kammer befindet sich eine schwere Kugel. Leupold fällt von jedem Gewichte ein Lot auf die Vertikalachse der Trommel. Addiert man alle diese Lote, in einem beliebigen Maß gemessen, bei a — 44, b — 47, c — 37, d — 18, so ergibt das die Summe 146; und ebenso ist die Summe der Lote auf der linken Seite e — 7, f — 15, g — 35, h — 23, i — 27, k — 24, l — 15 und n — 0 gleich 146! Leupold betrachtet die Lote als Maß für die Kräfte und meint, das Rad müsse im Gleichgewicht verharren, weil die Kräfte auf beiden Seiten gleich seien. Nach unserer Auffassung tritt Gleichgewicht ein, wenn die Momente (Produkt aus Gewicht und Arm) auf beiden Seiten gleich sind. Das Resultat stimmt bei Leupold (ähnlich wie Wilkins, siehe Seite 15) zufällig, denn er setzt voraus, daß alle Gewichte einander gleich sind, so daß an Stelle der Summe der Momente die Summe der Arme gesetzt werden kann.
Das mechanische Perpetuum mobile, wie wir es bis jetzt geschildert haben, geht von einer falschen Auffassung der Gravitation aus. Man sah in der Gravitation, infolge deren die Körper zueinander gezogen werden, eine unerschöpfliche Quelle von Arbeitsfähigkeit. Diese Auf [18] fassung der Gravitation geht besonders deutlich aus dem sogenannten Scheinerschen Gnomon hervor, einer erdachten Konstruktion, die im 17. Jahrhundert und auch später noch eine viel umstrittene Frage der Physik bildete.
Christoph Scheiner, Jesuit und Astronom (1575-1650), ist in der Geschichte der Wissenschaft als der Entdecker der Sonnenflecken bekannt. Bei seiner Beschäftigung mit kosmischen Problemen war er auch der Frage der Gravitation nahegekommen. Der Gnomon Scheinerianus in centro mundi besteht in folgendem.
Man denke sich durch den Mittelpunkt A des Weltalls (Abb. 7), also durch den Mittelpunkt der Gravitation, eine Achse. An diese Achse sei ein Gnomon BC befestigt, dessen äußeres Ende C ein Gewicht trägt. Wiegt das Gewicht über, meint Scheiner, so müßte der Gnomon sich um das Zentrum des Weltalls bewegen und zwar perpetuierlich. Das Ende C kommt infolge des Gewichts nach D, dann der Reihenfolge nach nach E, F, G und wieder nach C; es kann nirgends stehen bleiben, weil nirgends dafür ein Grund vorhanden ist; alle diese Punkte sind vom Gravitationszentrum gleich weit entfernt. Nur wenn man dem Gnomon noch einen Arm BG = BC hinzufügt, gerät er in Ruhe; wird aber dieser Gegenarm weggenommen, so beginnt der Gnomon sich zu drehen und bleibt nirgends stehen.

Schon Zeitgenossen Scheiners ließen gegen diese Konstruktion Einwände gelten. Der Astronom und ebenfalls Jesuit Giov. Baptista Riccioli (1598-1671), einer der letzten Gegner des Kopernikanischen Weltsystems, wandte mit Recht ein, daß ein Gnomon nur das Bestreben habe, nach dem Gravitationszentrum zu fallen. Das Gewicht habe ja gar keine Veranlassung von C nach D zu fallen, denn dadurch komme es dem Gravitationszentrum nicht näher. Ein anderer Ordensbruder Scheiners, der Mathematiker Mario Bettino (1584-1657) meinte, ein solcher Gnomon müßte sich nicht in perpetuierlicher Bewegung, sondern in perpetuierlicher Ruhe befinden. Nur eine äußere Kraft könnte ihn in Bewegung versetzen, und nach Aufhören dieser Kraft müsse wieder Ruhe eintreten. [19]
Allen Versuchen, ein Perpetuum mobile durch Ausnutzung der Gravitation zu konstruieren, ist ein Irrtum gemeinsam: der Glaube, man brauche nur in geeigneter Weise den Schwerpunkt eines Körpers abwechselnd zu verschieben, um eine unaufhörliche Bewegung zu erhalten. Diese Auffassung spricht von einer großen Unklarheit über die Begriffe der Mechanik, und vor allem der Statik. Das große Genie Galileis (1564-1642) hat durch seine Fallgesetze in der Dynamik seiner Zeit eine Revolution hervorgerufen. Aber die Statik blieb von Archimedes bis auf Stevin (1548-1620) fast dieselbe. Die Gravitation, ein Gleichgewichtszustand, vermengte man mit dynamischen Elementen, und es ist doppelt interessant, daß ein Schüler und Getreuer Galileis, Clemens Septimus, es unternimmt, die Möglichkeit des mechanischen Perpetuum mobile durch eine Konstruktion zu beweisen.

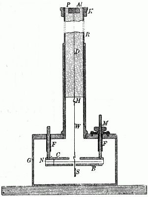
Eine Kupfertrommel (Abb. 8) AFBG sei in einem Zylinder eingeschlossen, dessen Enden durch zwei gut polierte Scheiben geschlossen und verlötet sind. Innerhalb der Trommel befinde sich eine Platte FCG, die die Rolle eines Diaphragma spielt. Die eine Hälfte des Zylinders FCG sei mit Wasser oder Quecksilber, die andere mit Öl oder Luft, also einer spezifisch leichteren Substanz gefüllt. Die Platte dient dazu, um dem Quecksilber den Zutritt von FAG nach GFB zu verwehren. Diese Platte ist mit der festen Achse C verbunden, an der ein Hebel H angebracht ist, so daß sie gedreht werden kann. Die Trommel ruht auf zwei vertikalen Stützen und kann sich frei bewegen. Die Wirkung der Trommel sollte folgende sein.
Da auf CA das größere Gewicht des Quecksilbers drückt, so rückt der Hebelarm in die Lage DE, und der Schwerpunkt des Hebels fällt in irgendeinen Punkt D zwischen A und C. Da aber das Quecksilber nicht zusammengedrückt werden und auch nicht in die andere Hälfte des Zylinders eindringen kann, so erhält der Zylinder einen Stoß, und die Trommel rollt in der Richtung nach G. Durch das Rollen gewinnt das Ganze den früheren Schwerpunkt, und das Spiel beginnt von neuem. Auf diese Art mußte eine solche Trommel in demselben Moment, da sie hergestellt wurde, zu rollen anfangen und nie zu rollen aufhören.[20]
Eine Besprechung dieser Trommel des Clemens Septimus findet man bei dessen gutem Freunde Borelli. Giov. Alfonso Borelli (1608-1679), Mitglied der berühmten Florentiner Akademie del cimento, war der ideenreichste der italienischen Physiker des 17. Jahrhunderts. Borellis Wirken war sehr vielseitig: neben physikalischen Fragen beschäftigte er sich auch mit Mathematik und Astronomie. In einem bedeutenden Werke über die Planetenbewegung geht er auch auf die Frage der Gravitation ein und gelangt, lange vor Newton, zu einer bemerkenswerten Gravitationstheorie. Borelli erklärt die Bewegung der Himmelskörper durch eine Zentrifugalkraft, die aus der Beharrung der Körper resultiert, und nicht durch die Attraktionskraft der Zentralkörper, also durch bloße Gravitation, wie man damals allgemein annahm. „Setzen wir voraus,“ sagt Borelli, „daß der Planet zur Sonne hinstrebt, und daß er zugleich durch seine Bewegung von der Sonne, die im Mittelpunkt steht, im Kreise weggehen muß. Sind dann diese entgegengesetzten Kräfte unter sich gleich, so werden sie sich aufheben, und der Planet wird weder näher zu der Sonne hinrücken, noch weiter als bis zu einer bestimmten Grenze von ihr weggehen können. Auf diese Weise würde er im Gleichgewicht um die Sonne schwebend erhalten bleiben.“
Auf irdische Verhältnisse übertragen sind es dieselben Ansichten über die Gravitation, die Borelli zum entschiedenen Gegner der Perpetuum-mobile-Idee machen. Die Gravitation, die auf alle Teile eines Systems die gleiche Wirkung ausübt, kann nicht zur Ursache einer konstanten Gleichgewichtsstörung werden. Die Schwerkraft ist keine Arbeitsfähigkeit, die sich einem anderen System mitteilt. Der Einwand, den Borelli gegen die Trommel des Clemens Septimus macht, ist der, daß gar kein Grund dafür vorliegt, daß die Trommel sich nach G bewege. Und würde die Trommel nach D rollen, so müßte sie in dieser neuen Lage verharren, aber nicht in die ursprüngliche zurückkehren.
Ungeachtet der wichtigen Einwände, die ein Mann wie Borelli gegen das Unternehmen machte, ein Rad durch bloße Gravitation bewegen zu wollen, ließ sich die Mit- und Nachwelt noch lange nicht von dieser Idee abbringen. Man glaubte, was sich mit einem Rade nicht erreichen lasse, müsse vielleicht mit mehreren Rädern gehen. Caspar Schott, der für die Idee des mechanischen Perpetuum mobile überhaupt sehr eingenommen ist, beschreibt unter anderen das Projekt eines gewissen Wilhelm Schröter. Da (Abb. 9) sollten von 9 Zahnrädern je [21] Z in einer Reihe durch drei Gewichte XYZ angetrieben werden, die unter verschiedenen Winkeln zum Horizont stehen.

Aber durch die Einführung von Übertragungen und Zahnrädern wurde die Sache natürlich nicht erleichtert, sondern eher erschwert, denn [22] je mehr Teile eine Maschine hat, um so größer ist die Reibung, und um so eher wird sie zum Stillstand kommen. Schon Leupold warnt ausdrücklich vor der „Friktion“ und erteilt den weisen Rat „allen, so das Perpetuum mobile noch beständig suchen: daß sie solches mit den allersimpelsten Maschinen tun; denn je mehr die Maschine übersetzet ist, je mehr sie Zapfen, Zähne und Materialien hat, je weniger wird der Motus perpetuus erhalten werden, und wenn es nicht in der Simplicität geschieht, wird es in Komposition wohl ewig außen bleiben“.
Die Idee des Rads oder des Rädersystems, das unter dem Einfluß der Gravitation sich immer weiter bewegte, hat aber lange nach Leupold noch die Köpfe der Erfinder in Anspruch genommen. Die Projekte zu ihrer Verwirklichung sind ebenso zahlreich wie fruchtlos.
Der Grundgedanke der Perpetuum-mobile-Konstruktion auf mechanischer Basis war, die Gravitation, die eine konstante Naturerscheinung darstellt, zur Ursache einer konstanten Bewegung zu machen. Außer der Gravitation schien eine solche nie versiegende Ursache einer möglichen Bewegung noch in einer anderen Naturkraft gegeben zu sein, nämlich im Magnetismus.
Die Kenntnis von der Anziehungskraft der Magneten ist an sich uralt. Aristoteles schreibt sie bereits Thales von Milet (640-500 v. Chr.), dem ersten Physiker der Griechen zu. Von Plinius (23-79 n. Chr.) stammt die bekannte Fabel vom Schäfer Magnes, der den Magnetismus dadurch entdeckt haben sollte, daß seine Schuhnägel von einem natürlichen Magneten angezogen wurden. Im Mittelalter bildeten sich die wissenschaftlichen Ansichten über die Natur des Magnetismus. Wichtig ist in dieser Hinsicht die Auffassung des Cusanus (eigentlich Nikolaus Krebs aus Kues an der Mosel, 1401-1464), der zuerst zeigt, daß man die Anziehung der Magnete durch Gewichte feststellen kann. Mit dieser Feststellung war zuerst auf die Analogie hingewiesen, die zwischen Magnetismus und Schwerkraft besteht. Daß man sich dieser Analogie schon sehr früh bewußt war, geht aus der Tatsache hervor, daß dieselben Personen, die sich mit der Konstruktion eines mechanischen Perpetuum mobile beschäftigten, es auch mit Hilfe des Magnetismus versuchten.[23]

Einen ausführlichen Bericht über ein magnetisches Perpetuum mobile finden wir bereits im 16. Jahrhundert. Sein Autor ist Joh. Taisnerius, Belgier von Geburt, der gegen 1558 Erzbischof von Köln war. In einem Buche über die Natur des Magneten gibt Taisnerius eine Anleitung zur Herstellung eines Perpetuum mobile durch magnetische Hilfsmittel. Der Wortlaut dieser „Anleitung“ ist aber derart charakteristisch sowohl für unsere Frage wie für den ganzen damaligen Stand der Forschung, daß es sich der Mühe verlohnt, ihn in den Hauptzügen aus dem Lateinischen zu übersetzen:
„Man nehme einen Behälter aus Eisen nach der Art von konkaven Gläsern, von außen mit allerlei künstlichen Gravierungen geschmückt, nicht allein wegen der Zierde, sondern auch wegen der Leichtigkeit, denn je leichter er ist, desto besser kann er in Bewegung gesetzt werden. Aber er darf dabei nicht so durchbrochen sein, daß man das darin eingeschlossene Geheimnis leicht sehen kann. An der Innenseite des Behälters müssen mehrere kleine gleich schwere Leistchen aus Eisen befestigt werden, von der Dicke einer Bohne oder Erbse. Das im Behälter benutzte Rad (Abb. 10) muß in allen Teilen gleich schwer sein. Die Vorrichtung, auf der das Rad sich drehen kann, wird so in die Mitte gesetzt, daß sie völlig unbeweglich bleibt. Daran wird ein silberner Stift angebracht und auf den höchsten Punkt ein Magnetstein gesetzt. Wenn der Stein so vorbereitet ist, muß er zuerst in eine runde Form gebracht werden: darauf müssen die Pole bestimmt werden. Später, während die Pole unberührt bleiben, müssen zwei einander gegenüberliegende Seiten in der Mitte zwischen den Polen, nach der Form eines Eies ausgefeilt werden, und auch müssen jene zwei Seiten zusammengedrückt werden, damit der untere Teil die niedrigste Stelle einnehme, und so wird er mit den Wänden des Gehäuses in Berührung kommen nach der Art eines Rades. Ist das ausgeführt, so schiebt man den Stein auf den Stift derart, daß der Nordpol gegen die Leistchen ein wenig geneigt ist, damit die Kraft nicht unmittelbar, sondern unter einer ge [24] wissen Schräge auf die eisernen Leistchen wirke. Daher wird jedes Leistchen zum Nordpol kommen und wenn es dann aus dem Antrieb des Rades den Nordpol überschritten haben wird, wird es zum Südpol kommen, der es dann in die Flucht treiben wird; und dann wird es wieder vom Nordpol angezogen, so daß es im Gang bleibt. Damit das Rad schneller seine Arbeit verrichte, schließe man im Behälter ein kleines rundes erzenes oder silbernes Steinchen ein, von solcher Größe, daß es bequem zwischen zwei Leistchen aufgenommen werden kann. Wenn das Rad in die Höhe geht, wird das Steinchen auf die Gegenseite fallen; und da die Bewegung des Rades nach dem tiefsten Teil perpetuierlich ist, so wird auch das Fallen des Steinchen zwischen je zwei Leistchen perpetuierlich sein, da es ja durch sein Gewicht nach dem Mittelpunkt der Erde und dem tiefsten Orte strebt . . .“

Diese Beschreibung ist rechtschaffen unklar. So viel geht aus ihr hervor, daß man es hier mit dem Projekt eines Rades zu tun hat, das durch die Kombination von magnetischer Anziehung und Schwerkraft in beständiger Bewegung erhalten werden soll.
Von Taisnerius, dem Autor dieses dunklen Berichtes, ist bekannt, daß er ein sehr abenteuerliches Leben geführt hat; er begleitete unter anderem den Kaiser Karl V. nach Tunis und reiste viel in Asien. Seine Zeitgenossen sprechen von ihm, als von einem anmaßenden prahlerischen Charakter, der sich nicht genierte, die Werke anderer zu plündern und sie für die seinen auszugeben. Und so wird es uns nicht wundernehmen, daß wir die ganze Beschreibung in einem früheren Buche finden, das Peter Peregrinus zum Autor hat. Derselbe Peregrinus meinte, daß eine magnetische Kugel (terella), die richtig auf ihre Pole gesetzt ist, eine konstante Drehung ähnlich der des Erdballs haben müsse.
Die Idee, ein Perpetuum mobile durch magnetische Hilfsmittel konstruieren zu wollen, muß im 17. Jahrhundert sehr verbreitet gewesen sein, denn auch Bischof Wilkins beschäftigt sich sehr ausführlich damit. Die bekannteste Konstruktion aus jener Zeit, die sich bei vielen Autoren wiederholt, hat folgende Form.
Ein Magneteisenstein (Abb. 11) AB ruht auf einem Pfeiler, vor [25] dem eine schiefe Ebene EF mit einer kleinen Stahlkugel C plaziert ist. Der Magnet zieht die Kugel an und zwingt sie, die schiefe Ebene hinaufzuklimmen. Ist sie genügend hoch hinaufgekommen, so fällt sie durch die Öffnung E durch und rollt auf einer abschüssigen Bahn EG nach unten. Hier wird sie von neuem vom Magneten angezogen, und der Prozeß wiederholt sich von neuem.
„Obwohl diese Erfindung auf den ersten Blick sehr wahrscheinlich erscheint,“ meint Wilkins, „so werden verschiedene Einzelheiten ihre Unzulänglichkeit erweisen.“

Warum steigt die Kugel auf der schiefen Ebene bis zur Öffnung E und nicht weiter? Ist der Magnet stark genug, um die Kugel so weit zu bringen, so kann er ihr auch über die Öffnung hinweghelfen. Oder: ist die Kugel zu schwer dazu, so wird sie auch nicht so weit vom Magneten hinaufgezogen werden können.
Das sind die Einwände, die schon Bischof Wilkins gegen die Vorrichtung macht. William Gilbert (1540-1610), der berühmte Leibarzt der Königin Elisabeth von England, der der Vater der modernen Lehre vom Magnetismus genannt werden darf, kannte ebenfalls dieses Projekt und war von seiner Unmöglichkeit tief überzeugt. Doch bei anderen Physikern, wie z. B. Ath. Kircher oder Caspar Schott, spielt ebenso wie das mechanische Perpetuum mobile auch dieser Plan eine große Rolle.
Ath. Kircher hatte im allgemeinen sehr zutreffende Ansichten über die Natur des Magnetismus. Aber er stand lange nicht auf dem Boden exakter Forschung, wie z. B. Gilbert. Ihm fehlte auch der letzte wissenschaftliche Ernst. So ist der größte Teil seines Buches über den Magnetismus magnetischen Spielereien gewidmet, unter denen das Perpetuum mobile keine geringe Stelle einnimmt. Als Perpetuum mobile denkt er sich z. B. eine eiserne Scheibe (Abb. 12) ABCD mit eisernen Spitzen an der Peripherie, die sich unter dem Einfluß von 4 Magneten FGHJ immerwährend dreht. Es gehört ein gut Teil Blindheit dazu, um ein solches Projekt, wie viele andere, die sich bei Kircher oder Schott befinden, ernst zu nehmen.
Kirchers Werk hat die Sache des Perpetuum mobile ebensowenig gefördert wie die Lehre vom Magnetismus überhaupt. Seine gelehr [26] ten Traktate sind im allgemeinen von sehr ungleichem Wert. Neben exakten Mitteilungen findet man bei ihm zuweilen geradezu lächerliche Ansichten. So z. B. ist er überzeugt, daß die Kraft eines natürlichen Magneten verstärkt wird, wenn man ihn zwischen zwei trockene Blätter der Isatis sylvatica legt.
Im übrigen liegt die Bedeutung Kirchers viel weniger in seinen wissenschaftlichen Entdeckungen als in den Sammlungen, die er hinterlassen hatte. Seiner ganzen Veranlagung nach war er überhaupt viel mehr Sammler und Polyhistor als Physiker. Seine Sammlung von naturwissenschaftlichen Kuriositäten, Antiquitäten, physikalischen und mathematischen Modellen und Apparaten ist bis jetzt noch im Collegio Romano zu Rom zu sehen. Seit 1870 ist dieses Museo Kircheriano Eigentum des italienischen Staates.

Das magnetische Perpetuum mobile wird besonders ausführlich von Kirchers Schüler und Ordensbruder Kaspar Schott beschrieben. Ebenso wie Kircher ist Schott ein Physiker der alten Schule. Die zahlreichen Perpetuum-mobile-Projekte, die sich in Schotts Werken befinden, machen auf uns einen fast kindischen Eindruck. So wird z. B. als Erfindung eines gewissen Dr. Jakobus eine Vorrichtung beschrieben, wie sie Abb. 13 zeigt. Eine Kette eiserner Bälle ist um die Peripherie einer Scheibe geschlungen, die sich zwischen zwei vertikalen Stangen FF auf einer Achse BC frei bewegen kann. Bei H befindet sich ein Magnetstein, der die Eisenkugeln anzieht. Indem die Eisenbälle einer nach dem andern zum Magneten hingezogen werden, sollte sich die Scheibe unaufhörlich drehen.
Wir sehen den Grund einer solchen vermeintlichen perpetuierlichen Bewegung nicht ein, denn warum sollte der Magnet auf Kommando bald die eine, bald die andere Eisenkugel anziehen? Ebenso willkürlich und experimentell absurd sind auch die anderen magnetischen Perpetuum-mobile-Projekte dieser wie folgender Zeit, so daß es sich wohl kaum verlohnt, sie ausführlich zu beschreiben. Noch im Jahre 1763 finden wir den Plan eines gewissen Andrew Doswil, der von derselben Grundlage ausgeht. In einem Gehäuse ABCD (Abb. 14) befinden sich auf ge [27] meinsamer Achse G zwei gleich große und bewegliche Zahnräder E und F, zwischen deren Zähnen sich nah aneinander eine Reihe von Stabmagneten befindet. Alle N-Pole sind bei E, alle S-Pole bei F. An der Wand BD sind wiederum zwei Magnete K und L befestigt, ebenso an der entgegengesetzten Wand zwei andere Magnete J und H. Der Südpol J zieht alle Nordpole bei E an, der Nordpol H stößt sie ab; dieselbe Wirkung wird verstärkt durch Anziehung und Abstoßung von K und L. Die Folge müßte sein, daß die Räder mit den Magneten sich unaufhörlich drehen.

In Wirklichkeit aber muß diese Vorrichtung, wie alle oben geschilderten, in Ruhe verharren. Das magnetische Feld eines Magneten ist eine Erscheinung der Statik; nur durch Stärken und Schwächen des magnetischen Feldes kann Arbeit erzeugt werden, und dazu ist wiederum Arbeit notwendig.
Da die Idee des Perpetuum mobile sich weder mit rein mechanischen noch magnetischen Hilfsmitteln verwirklichen ließ und man andererseits von der Unmöglichkeit des Unternehmens sich nicht überzeugen konnte, so mußte nach neuen Mitteln gesucht werden.
Eine der natürlichsten Triebkräfte ist das Wasser. Das Wasserrad ist eine der ältesten Eroberungen der Kultur und ist überall dort schon zu treffen, wo man die Verwendung des Rades überhaupt gelernt hat. Die Wassertechnik stand sowohl im Griechenland der Antike wie im alten Ägypten auf einer hohen Stufe der Entwicklung. Dem Archimedes wird eine hydraulische Erfindung zugeschrieben, die auch in der Geschichte des Perpetuum mobile eine große Rolle gespielt hat. Das ist die sogenannte Wasserschnecke oder Wasserschraube (coclea). Die Coclea (vgl. I, M Abb. 16) ist eine Wasserhebemaschine, die aus einem [28] schraubenförmig gewundenen Wasserkanal besteht, deren Achse unter einem gewissen Winkel zum Horizont geneigt ist. Der schraubenförmige Kanal wird durch eine Röhre gebildet, die um eine Spindel gewunden ist, oder durch einen spiralförmig ausgehöhlten Balken. Das untere Ende des Apparates taucht ins Wasser, das obere ist an ein Rad angeschlossen. Wird das Rad gedreht, so steigt das Wasser in der Röhre und fließt am oberen Ende aus.

An diese Archimedische Wasserspirale knüpften die Erfinder des Mittelalters an, die ein Perpetuum mobile durch hydraulische Hilfsmittel erzwingen wollten. Der Plan ist eigentlich einfach und auf den ersten Blick auch einleuchtend. Einerseits hat man die Wasserschnecke, die durch ein Rad angetrieben wird und Wasser von einem niederen Niveau auf ein höheres bringt. Andererseits kennt man das oberschlächtige Wasserrad, das durch fallendes Wasser in Betrieb gehalten wird. Nun braucht man, so scheint es, diese beiden Vorrichtungen: das Wasserrad und die Wasserschnecke nur miteinander zu verbinden, um eine Kreisbewegung des Wassers, also ein Perpetuum mobile zu erhalten. Das Rad treibt die Wasserschnecke an, diese hebt das Wasser in die Höhe, und dieses wird wiederum durch ein Rohr auf das Rad gebracht, um es zu bewegen.
Eine Maschine von diesem Typus soll laut Kaspar Schott bereits 1634 von Alfons Iseis erfunden worden sein. In einem Wasserbassin E (Abb. 15) befindet sich die Archimedische Schraube DG, deren unteres Ende in G, und oberes in D ist. Das Wasser, das hinaufgeschraubt wird, fließt in ein Becken und von da durch ein langes horizontales Rohr bei F auf ein oberschlächtiges Rad ABC. Dies wiederum ist so mit der Coclea verkuppelt, daß beim Drehen des Rades die Coclea sich mitdreht, und auf diese Weise wird das Wasser in die Höhe gepumpt.
Der Einwand, der gegen diese Konstruktion gemacht werden kann und gemacht wurde, besteht darin, daß das abfallende Wasser nicht [29] genügt, um die Schraube zu bewegen. Um dieser Verlegenheit auszuweichen, versuchte man, wie bei den anderen Projekten des Perpetuum mobile, die Natur zu überlisten, indem verschiedene Komplikationen eingeführt wurden. Das abfallende Wasser sollte (Abb. 16) aus dem Gefäß E auf das Wasserrad H geleitet werden, und von da in ein zweites Gefäß F und auf ein zweites Rad J gebracht werden. Sollte auch dieser Antrieb nicht genügen, um die Coclea zu drehen, so mußte man so viele weitere Wasserräder einschalten, bis der Apparat funktioniert.
Das ist das Projekt des hydraulischen Perpetuum mobile, wie wir es bei Bischof Wilkins finden. Wilkins selbst verhält sich zu ihm sehr skeptisch. Mit Recht meint er, „man brauche dreimal soviel Wasser, um die Schraube zu drehen, als daß von ihr hinaufgeschraubt werde“. Der Fehler der Konstruktion in Abb. 16 besteht in der falschen Voraussetzung, daß man die Triebkraft des Wassers verdreifacht, wenn man dieselbe Wassermenge dreimal wirken läßt. Nicht die Menge des Wassers, sondern die Fallhöhe ist der Arbeitsfähigkeit proportional. Die Fallhöhe bleibt aber dieselbe, ob das Wasser denselben weg auf einmal oder dreimal je ein Drittel durchläuft.

Die Idee des hydraulischen Perpetuum mobile, wie wir es geschildert haben, gehört zu den verbreitetsten Projekten des Perpetuum mobile überhaupt. Wir finden sie bei den verschiedensten Autoren mit den verschiedensten Details. [3] Aus der Ausführlichkeit, mit der diese Art von Apparaten von den alten Autoren beschrieben wurde, geht hervor, welche Wichtigkeit man ihnen beimaß. Man [30] glaubte nicht nur einen selbsttätigen Wasserelevator vor sich zu haben, sondern auch der Kraftgewinn war evident: man brauchte nur weniger Wasser abfließen zu lassen, als gehoben wurde, und der gesparte Rest des Wassers konnte für allerhand nützliche Vorrichtungen ausgebeutet werden.
In einem interessanten und mit prächtigen Kupfern geschmückten Werke des Ingenieurs und Architekten G. Andr. Böckler aus dem 17. Jahrhundert finden wir auf den drei Tafeln 150, 151 und 252 recht kuriose Projekte dieser Art. Am hübschesten ist die Tafel 151 (Abb. 17) mit der Aufschrift: „Wirbel- und Schraubkunst mit doppeltem Angriff“. Da kommt der Wasserschnecke eine Reihe von Schrauben und Zahnrädern zu Hilfe. Aus dem oberen Reservoir A fließt das Wasser durch den Kanal B auf das Rad C. C dreht das Rohr D. Durch den Schraubengang auf diesem Rohre wird wiederum das Zahnrad E ebenso wie die Scheibe F, das Rad G und der vertikale Zylinder H gedreht. Durch Übertragung werden auch das Rad J und die Scheibe K gedreht. J aber greift in die Zähne des Rades L. Dies dreht sich zusammen mit dem Zylinder M und dem Rad R. R wiederum dreht die Wasserschraube Q, die schließlich das Wasser wieder in das obere Bassin A pumpt. So wird der Kreis geschlossen. Ein Teil des Wassers fließt bei P auf den Schleifstein, vor dem ein Mann sitzt und seine Messer schärft, ohne die geringste Anstrengung zum Drehen des Schleifsteins zu machen!
Es ist auffallend, welcher Wunderglaube an die Maschine und ihre Funktion im allgemeinen in einem Projekt wie diesem steckt. Da die Maschine als Kraftüberträgerin nur einmal „Arbeit“ zu leisten vermag, so konnte man nicht einsehen, warum sie nicht so viel „Arbeit“ leisten sollte, daß unsere Mühe ganz erspart bleibt. Man brauchte nur, so glaubte man, die richtige Anzahl von Hebeln und Schrauben der Natur an den Leib zu setzen, um sie zu einer ewigen Arbeitsleistung zu zwingen.
Das hydraulische Perpetuum mobile hat besonders bei den Physikern der scholastischen Schule eine große Rolle gespielt. Bei Kaspar Schott finden wir die mannigfaltigsten Beschreibungen und Abbildungen solcher Apparate. Die meisten dieser Physiker sind Jesuiten, und bei dem großen Einfluß, den der Jesuitenorden auf die öffentliche Meinung hatte, ist es nur verständlich, daß diese Projekte in hohem Ansehen standen. So führte z. B. 1661 ein Jesuit, der polnische Pater Stanislaus Solski, seine Maschine feierlich vor dem König Joh. Casimir in Warschau vor und erregte allgemeine Bewunderung.

Die Maschine Solskis bestand (Abb. 18) im wesentlichen aus einem Pumpwerk und einem großen Rad mm. Wenn das Gewicht V sinkt steigt der Eimer P in die Höhe. Zugleich wird der Stempel des Pumpwerkes in die Höhe gehoben, und das Wasser steigt in das [32] Reservoir abcd. Das Wasser fließt durch den Hahn n in ein Bassin, öffnet hier eine Klappe und fließt durch den Hahn r in den Eimer P, der dadurch schwerer geworden, sinkt; aber bei einer gewissen Höhe, gezwungen durch die Kürze der Kette t, wird der Eimer wieder geleert und schnellt in die Höhe, so daß das Gewicht wieder fällt, und das Spiel von neuem beginnen kann.

An keinem anderen Typus des Perpetuum mobile ist so wie beim hydraulischen Perpetuum mobile zu sehen, wie diese ganze Idee auf einer falschen Auffassung von dem Wesen der Arbeit beruht. Die Projekte sind im einzelnen manchmal sehr geistreich, aber für unseren heutigen Standpunkt ist das Beginnen von vorneherein verfehlt, denn woher sollte die Energie kommen, die einen Überschuß von Arbeit in dieser Maschine lieferte? Durch Einschaltung von verschiedenen Vorrichtungen kann keine Arbeit gewonnen werden: eher geht sie dabei „verloren“, d. h. sie wird zerstreut. Aber vom Standpunkt der vorenergetischen Physik lieferte gerade das Pumpwerk ein frappantes Beispiel dafür, daß „Arbeit“ durch künstliche Vorrichtungen gewonnen werden könne. Wir werden sehen, daß die Idee des hydraulischen Perpetuum mobile nicht aus den Köpfen der Menschen weichen wollte, selbst zur Zeit nicht, da die Ansichten über das Wesen der Arbeit sich geändert hatten.
Die Kraft der Gravitation, magnetische Anziehung und Abstoßung und hydraulische Hilfsmittel — das waren die drei Hauptmethoden, durch die man jahrhundertelang ein Perpetuum mobile zu konstruieren hoffte. Diese Bestrebungen waren besonders im 16. und 17. Jahrhundert zahlreich. Die Persönlichkeiten, die sich mit dem Problem befassen, sind nicht etwa bedauernswerte Ignoranten, sondern wirkliche Männer der Wissenschaft, denen positive Verdienste zu verdanken sind. Nur wenige dieser Männer sehen die Unmöglichkeit des Perpetuum mobile ein, auch diese nehmen die Frage durchaus ernst wie die anderen, die von der Möglichkeit des Beginnens tief überzeugt waren.
Uns, die wir jetzt auf einem anderen Standpunkte stehen, kommt diese Sachlage etwas sonderbar vor. Ganz abgesehen vom Gesetz der Erhaltung der Energie, das die Frage umstößt, mutet es uns seltsam an, daß man Pläne von Vorrichtungen diskutiert, die in der Realität nie funktionieren. Das Museo Kircheriano war voll von Perpetuum-mobile-Modellen, die alle in größter Ruhe verharrten. Wie konnte man so blind sein, Tatsachen nicht zu sehen? Wie war es möglich, daß man sich aufs Theoretisieren beschränkte, dort wo es sich rein um eine Angelegenheit der Praxis handelte?
Um auf diese Fragen, die sich uns von selbst aufdrängen, eine Antwort zu geben, ist es notwendig, etwas näher die Methoden zu schildern, mit denen die Physik der beschriebenen Epoche betrieben wurde, und den Geist zu charakterisieren, von dem die wissenschaftliche Forschung der damaligen Zeit überhaupt getragen wurde.
Mit Recht bemerkt Rosenberger: „Jede physikalische Forschung muß, wenn sie von Erfolg gekrönt sein will, drei Momente in sich vereinigen: Erfahrung, mathematische Hilfsmittel und Spekulation“. Die Physik ist in ihrem Werdegange nicht immer dieser Regel gefolgt. Die Physik der Alten fing als reine Naturphilosophie an. Dann kommt die Mathematik hinzu. Über der Tür der platonischen Akademie stehen die Worte: „Kein der Mathematik Unkundiger betrete dieses Haus“. Das Experiment, die Erfahrung, beschäftigte sich lediglich mit technischen Problemen und spielte in der reinen Physik nur eine geringe Rolle.
Mit dem Sturze der antiken Welt geht auch ihre Wissenschaft verloren. Mit den heidnischen Gelehrten verschwinden auch die Naturwissenschaften, und darunter die knappen Brocken der Physik der Alten. [34] Erst nach der Völkerwanderung, nachdem das neuentstandene Europa festere Umrisse gewonnen hat, setzt die wissenschaftliche Forschung wieder ein, aber nun unter ganz anderen Umständen als in der Antike.
Mit dem Ende des ersten Jahrtausends beginnt in der Wissenschaft Europas jener Abschnitt, der unter dem Namen Scholastik in den mannigfaltigsten Formen das ganze Mittelalter beherrscht.
Ihren Namen haben die Scholastiker daher erhalten, daß sie zumeist Lehrer an den Kloster- und bischöflichen Schulen waren. Das Charakteristische an dieser Weltanschauung, die im Laufe der Zeit viele Wandlungen erfahren hat, ist, daß sie ihren Ursprung und ihren Inhalt aus der kirchlichen Theologie nahm. Alle theoretischen Kenntnisse, Künste und Wissenschaften, wurden aus der hierarchischen Idee des christlichen Gottesstaates abgeleitet und bauten dementsprechend ihren Inhalt auf. Nicht die Welt äußerer Erscheinungen an sich war der Gegenstand wissenschaftlicher Erkenntnis, sondern vielmehr die darin ausgesprochene göttliche Idee. „Jede Kunst und jede Wissenschaft“, sagt der Frühscholastiker Vincenz von Beauvais (gestorben 1264), „muß der göttlichen Wissenschaft, die zur Erbauung, d. h. zum Glauben und Rechthandeln gegeben ist, dienen und darauf, als auf seinen Zweck und sein Ziel bezogen und gerichtet werden. Denn wie Gott das Ende aller Dinge ist, so ist auch die Gottesgelehrtheit, die von göttlichen Dingen handelt, Endzweck aller Künste.“ [4] Thomas von Aquino (1226-1274) bezeichnet überhaupt jedes Streben nach Erkenntnis der Dinge als Sünde, insofern sie nicht auf die Erkenntnis Gottes hinzielt.
So wie die Wissenschaft im allgemeinen eine Magd im Dienste der Kirche war, so sollte auch die Naturwissenschaft nur den Zweck haben, die Allmacht Gottes zu beweisen. „Das Wissen aller Weisheit hat keinen Nutzen“, sagt Vincenz, „wenn es ohne die Erkenntnis Gottes bleibt.“ [5] Die Naturwissenschaft gipfelte demnach in einer Art Metaphysik. Das Studium der Welt der sichtbaren Dinge hatte nur insofern Wert, als sie eine Förderung der Liebe zu Gott und der christlichen Kirche gewährte.
Die Methode der scholastischen Wissenschaft war also durchaus dogmatisch. Ihr Inhalt ist dementsprechend unschöpferisch: sie stützt sich auf Überlieferung und befaßt sich hauptsächlich mit dem Deuten und Kom [35]mentieren des überlieferten Materials. Dieses Material bildeten in erster Linie die lateinischen Schriften der Kirchenväter, besonders Augustins. Daneben wurde der Inhalt des Studiums durch die damals dürftigen Überlieferungen des klassischen Altertums, vor allem Aristoteles und Plato geboten. Man studierte sie mit Eifer und suchte in jedem Satz einen verborgenen Sinn. Den Plato oder Aristoteles zu verstehen galt als wissenschaftliche Leistung. Man studierte schließlich in der Naturlehre des Aristoteles nicht die Natur sondern den Aristoteles. Die zahlreichen Kommentare, die die Scholastiker zu den klassischen Werken machten, bezogen sich immer auf die Autoren, nie auf den Inhalt oder gar auf eine Kritik der Werke. Zugleich mit dem Dogmatismus ist für diese ganze Epoche ein kritikloser Hang zum Autoritätenglauben höchst charakteristisch.
Lag schon also in der allgemeinen Methode der damaligen Wissenschaft eine Gefahr für die Physik, so wurde der Schaden durch die geringe Rolle, die die scholastische Physik dem Experiment und der Erfahrung beimißt, noch größer. Wie der Inhalt der Philosophie und der Theologie in einer Auslegung und Kommentierung des althergebrachten Materials bestand, so wollte man auch in der Naturwissenschaft disputieren, anstatt zu beobachten und zu prüfen. In den Schriften der Scholastiker findet man Dispute über Fragen, wie die körperliche Natur der Engel, ihre Kleidung, Sprache, ihr Alter und ihre Verdauung. Die Naturbeobachtung mußte sich dem Dogma unterwerfen und gelegentlich sich selbst korrigieren. Als der bereits genannte Christoph Scheiner am 21. März 1611 in Ingolstadt den ersten Sonnenfleck beobachtete und als frommer Sohn der Kirche zuerst seinem Provinzial Busäus davon Mitteilung machte, legte ihm dieser Stillschweigen auf, denn die Sonnenflecke paßten nicht zu der Lehre der Scholastiker, die in der „Makellosigkeit der Sonne“ einen Beweis für die Vollkommenheit Gottes sahen. „Mein Sohn“, schrieb der Jesuitenprovinzial an Scheiner, „ich habe den Aristoteles zweimal durchgelesen und habe nichts derartiges darin gefunden. Die Flecke existieren nicht, sondern sind Fehler deiner Gläser oder deiner Augen.“ Bekanntlich führte später der Gehorsam Scheiner zu einem jahrelangen Prioritätenstreit mit Galilei, einem Streite, der erst durch spätere Forschungen zugunsten Scheiners entschieden wurde.
Es wird hier klar, wie eng die Frage des Perpetuum mobile mit der Scholastik zusammenhängt. Die Erfahrung allein konnte zeigen, [36] daß die Idee undurchführbar sei. Aber den in der Scholastik geübten Geistern kam es weniger auf die Erfahrung als darauf an, eine Spekulation zu haben, die in der Theorie stimmte. Zu einer unproduktiven Zeit der Physik war das Perpetuum mobile ein willkommenes Objekt, um immer neue Projekte zu produzieren.
Neben der geringen Schätzung der Erfahrung war in der Scholastik noch ein Moment gegeben, das für die Förderung der Perpetuum-mobile-Idee von Wichtigkeit war. Das ist der Glaube an Wunder und das Wunderbare, ein Glaube, der in der ganzen Wissenschaft der Scholastik stark ausgeprägt ist. Die gelehrten Schriften des Mittelalters bieten überhaupt den seltsamsten Tummelplatz von wissenschaftlichen Erkenntnissen neben den wildesten Phantasiegebilden. Besonders bezeichnend in dieser Hinsicht ist Giambattista Porta, eine der wunderlichsten Gestalten des 16. Jahrhunderts. Er ist ein guter Experimentator, aber die Beschreibung seiner Experimente muß man mit größter Vorsicht hinnehmen. Er ist, wie schon erwähnt, der Erfinder der Laterna magica, aber neben wichtigen optischen Beobachtungen beschreibt er z. B. eine Lampe, die alle Anwesenden mit einem Pferdekopf zeigt, oder er spricht davon, wie man die Keuschheit einer Frau mit Hilfe eines Magneten feststellen könne.
Wir sehen also, daß die mittelalterliche Physik durch ihre Methode und ihren Inhalt dafür sorgte, das Ansehen der Perpetuum-mobile-Frage zu erhalten und ihr stets neue Nahrung zuzuführen. Aber wir finden in der Weltanschauung des christlichen Mittelalters noch weitere Elemente, mit denen der Ursprung dieser Idee in Zusammenhang gebracht werden muß.
Hier wurde schon früher darauf hingewiesen, daß der Gedanke des Perpetuum mobile eine merkwürdig transzendente Färbung hat. Die Idee der ewigen Bewegung geht darauf hinaus, daß etwas in der Natur aus sich selbst, ohne äußere Veranlassung geschehen kann. Damit wird das Gesetz der Kausalität durchbrochen, von der jede Naturerkenntnis streng beherrscht ist. Im engsten Zusammenhang damit steht die Frage der Schöpfung aus dem Nichts, eine Frage, die bei den Scholastikern eine große Rolle spielt. Um die Naturlehre mit der Bibel in Einklang zu bringen, wurde diese Frage zunächst in dem Sinne entschieden, daß eine Schöpfung aus Nichts im allgemeinen möglich sei. Für die Physik wollte man eine Ausnahme machen, da hier jede Wirkung eine Ursache hat. Albertus Magnus, einer der be [37]deutendsten Scholastiker (eigentlich Graf von Bollstädt, 1193-1280), den die Mitwelt wegen seiner umfänglichen Kenntnisse den „Doctor universalis“ nannte, stellt sogar den Satz auf: „Aus nichts wird nichts“. Doch bei dem ständigen Übergreifen kirchlicher Anschauungen auf weltliche Fragen wurde das Gesetz der Kausalität nur zu oft vergessen. Dazu kommt noch die Lehre des heil. Augustin vom freien Willen, eine Lehre die der Kausalität bewußt widerspricht. Die Lehre vom freien Willen des Menschen hat bekanntlich auf die Konstituierung der mittelalterlichen Kirche den größten Einfluß gehabt und ihr das moralische Gepräge verliehen.
Es ist schwer bei einer Idee, die aus so verschiedenartigen Elementen gebildet ist, wie die Idee der ewigen Bewegung, den Ursprung festzustellen. Als wir es am Eingang unserer Erörterungen versucht haben, konnten nur Vermutungen aufgestellt werden. Und so mag auch als Hypothese aufgefaßt werden, wenn wir die Ansicht aussprechen, daß die Idee des Perpetuum mobile überhaupt erst ein Produkt der christlichen Kultur ist. Gewiß ist die Idee der ewigen Bewegung an sich noch älter; sie hat immer existiert, aber die Idee, die ewige Bewegung durch äußere Mittel erreichen zu wollen, scheint uns besonders für eine Weltanschauung charakteristisch, die die Lehre vom freien Willen zu ihrer Basis macht und andrerseits glaubt, daß man durch äußere Mittel (Buße, Gebet usw.) das Seelenheil erlangen kann. Eine Stütze unserer Ansicht ist die, daß man bis jetzt in der vorchristlichen Wissenschaft keine Zeugnisse vom Perpetuum mobile, als solchem gefunden hat.
Die Scholastik, die schon im 11. Jahrhundert durch eine Persönlichkeit wie Albertus Magnus zur Entfaltung kam, geriet gegen das Ende des 15. Jahrhunderts in Verfall, kam aber gegen die Mitte des 16. Jahrhunderts zur neuen Blüte infolge der Gründung des Jesuitenordens durch Ignatius Loyola (um 1534). Die weltgeschichtliche Bedeutung dieses Ordens beruht vor allem darauf, daß er die dem römischen Katholizismus innewohnenden geistigen Kräfte praktisch neu belebte und ihnen zu einer schärferen Ausprägung verhalf. Der Jesuitismus flößte der Scholastik neues Blut ein, zu einer Zeit, da sie aus Mangel an Nahrung zu verdorren anfing. Und bei der straffen Organisation und der Macht dieses Ordens ließen die Früchte nicht lange auf sich warten. Auffallend ist, wieviele Namen von Jesuiten man im 16. und 17. Jahrhundert in der Geschichte des Per [38]petuum mobile trifft: Kircher, Schott, Riccioli, Scheiner usf. Sie waren alle durchaus ernste Forscher, aber mehr oder minder schleppten sie alle den Ballast der scholastischen Tradition mit sich. Die Ausgangspunkte der Jesuiten waren einerseits der heil. Augustin und die übrigen Kirchenväter, andererseits die überlieferte Wissenschaft. Was Wunder, daß das Problem des Perpetuum mobile wie eine Erbsünde sich von Generation zu Generation immer weiter fortpflanzte und nicht sterben wollte.
Welch ein Unterschied, wenn man die zwei wichtigsten Chronisten des Perpetuum mobile im 17. Jahrhundert vergleicht: den Engländer Wilkins und den aus italienischer Schule kommenden Kaspar Schott. Wilkins ist Geistlicher, Schott weltlicher Lehrer der Wissenschaft (zuerst Professor der Theologie und Mathematik in Palermo, dann Professor der Mathematik in Würzburg). Aber der eine ist Republikaner und Protestant, der andere Jesuit. Der eine schreibt in seiner Muttersprache englisch; der andere latein. Wilkins repräsentiert nicht nur das Wissen seiner Zeit, sondern er bietet es stets mit der größten Vorsicht dar; er berichtet nie von einer „Erfindung“, ohne die eigene Kritik daran zu knüpfen. Selbst wenn der Inhalt seiner Schriften ins Phantastische auszuarten droht, so z. B. wenn er von der Bewohnbarkeit des Mondes und die Mittel, durch die wir mit den Mondbewohnern in Verbindung treten könnten, spricht, bewundern wir die Geistesschärfe und die Klarheit des Autors. Wie anders dagegen Kaspar Schott! Sein Schaffen ist nicht ohne Verdienste. So z. B. findet man bei ihm zum erstenmal eine Beschreibung der Magdeburgischen Luftdruckversuche von Guericke. Aber wie wahl- und kritiklos ist hier alles nebeneinandergesetzt. Neben den Berichten über die Toriccelischen Versuche behält Schott den Glauben an das horror vacui, neben der Luftpumpe beschreibt er „Erfindungen“ von Perpetuum mobile, die wie ein Scherz anmuten. Die Autorität seines Lehrers Kircher oder seiner Ordensbrüder (Mitz, Jacobus usw.) genügt ihm, um eine Sache kritiklos hinzunehmen.
Die beiden Autoren wirken in der zweiten Hälfte des 17. Jahrhunderts. Das war eigentlich die Geburtszeit der neuen Physik. Man sah immer mehr und mehr den Wert des Experiments ein, durch die Entwicklung der allgemeinen Philosophie erkannte man auch die Wichtigkeit erkenntnistheoretischer Untersuchungen in der Naturwissenschaft. Die Physik entwickelte sich immer stärker zu einer exakten Naturlehre. [39]
Räumlich rückte die Wissenschaft nach dem Norden und fand hier einen neuen Boden zum Gedeihen. Es ist fast kein Zufall, daß Wilkins Engländer war und Schott aus Italien kam. In Italien bewachte die Kirche mißtrauisch und drohend jede freie Regung der Wissenschaft. Das Schicksal eines Galilei war nicht dazu angetan, den Mut zur Forschung zu stärken und wissenschaftliche Erkenntnis in die breiten Massen zu tragen. Dagegen nahmen durch die Gründung der Akademien in London (1662), Paris (1666) und der ersten deutschen gelehrten Gesellschaft in Schweinfurt (1651) die Wissenschaft in England, Frankreich und Deutschland einen neuen Aufschwung. Mit den Erkenntnissen wanderten zunächst auch die Irrtümer nach dem Norden. Wenn die Perpetuum-mobile-Projekte bis dahin zumeist von italienischen Physikern und ihren Schülern ausgingen, so werden wir es von nun ab hauptsächlich mit englischen, französischen und deutschen Arbeiten zu tun haben.
Unter den Mitteln, mit denen man ein Perpetuum mobile erreichen könne, führt Bischof Wilkins neben der Gravitation und der magnetischen Anziehung auch die chemische Attraktion an.
Mit der Beschreibung des chemischen Perpetuum mobile beschreiten wir einen Weg, wo wir es mit der größten Unklarheit der Begriffe zu tun haben. Wenn bis jetzt eine große Uneinigkeit über die Mittel bestand, mit denen man ein Perpetuum mobile konstruieren könnte, so war man sich doch über den Begriff selbst so ziemlich einig: eine Maschine, die ohne Zufuhr von äußerer Kraft von selbst arbeitet. Aber bei den Autoren, die von einem Perpetuum mobile auf chemischem Wege (oder was sie chemischen Weg nennen) sprechen, gerät auch der Begriff des Perpetuum mobile selbst ins Wanken. Da aber dieser Punkt sowohl für das Perpetuum mobile wie für die Zeit, in der sie behandelt wurde, sehr wichtig ist, so wollen wir die betreffenden Autoren selbst sprechen lassen. So lesen wir bei Wilkins:
„Die Entdeckung einer perpetuierlichen Bewegung wurde zuerst auf chemischem Wege versucht. Paracelsus und seine Schüler haben damit geprahlt, daß sie mit Hilfe chemischer Separationen und Extraktionen eine förmliche Welt im kleinen mit allen Himmelserscheinungen herstellen und in einer perpetuierlichen Bewegung erhalten könn [40]ten . . . Die Art und Weise, wie man auf chemischem Wege eine perpetuierliche Bewegung erhalten könne, ist z. B. diese:
Man mische 5 Unzen ♁ (alchemistisches Zeichen für Amalgam) mit einem gleichen Gewicht von ♃ (Zinn), reibe sie mit 10 Unzen Sublimat zusammen, lasse dies in der Zelle (Retorte?) 4 Tage lang auf einer Marmorplatte sich auflösen, bis es wie Olivenöl wird, destilliere dies über Strohfeuer, bis es zu einer trockenen Substanz wird. Durch Wiederholung dieser Auflösung und Destillation werden mit der Zeit verschiedene kleine Atome sich ablösen, die, wenn sie in ein Glas gebracht werden, eine perpetuierliche Bewegung haben werden.“
Wilkins selbst verhält sich sehr skeptisch zu dem mitgeteilten Rezept: „Dinge, die auf eine solche gewalttätige Art bewerkstelligt werden, wie diese Ingredentien, haben nicht den Anschein, daß sie nach soviel Veränderungen und Destillationen von Dauer sein könnten, denn je mehr etwas über seine gewöhnliche Natur hinausgestreckt wird, desto weniger kann es andauern. Heftigkeit und Perpetuierlichkeit passen gewiß nicht zueinander“, meint Wilkins.
Dieser Bericht ist in doppelter Hinsicht für uns interessant: erstens durch den Namen des Paracelsus und dann durch die Methode, nach der hier operiert wird.
Mit dem Namen Paracelsus verbindet man gewöhnlich Vorstellungen, die für die dunkelste Epoche der mittelalterlichen Wissenschaft charakteristisch sind. Der ebenso berüchtigte wie berühmte Arzt und Alchemiker Theophrastus Bombastus Paracelsus ab Hohenheim (1493-1541) ist eine der markantesten Persönlichkeiten des 16. Jahrhunderts. In ihm paart sich zugleich ein heller Geist mit dem gröbsten Aberglauben. Seine Schriften, die oft sehr dunkel sind, bilden ein Konglomerat von einigen genialen Gedanken und einem Wust von kabbalistem Hokuspokus. Man weiß heute, daß Paracelsus große Verdienste um die Medizin hatte; er erkannte als erster die chemische Wirkung der Arzeneien auf den Organismus (Iatrochemie) und darf somit der Ahne der modernen Pharmakologie genannt werden; auch führte er die Sektion in das Studium der Anatomie ein. Aber zugleich ist er Alchemist, er glaubt an die Möglichkeit des Steins der Weisen und gibt ein Rezept an, wie man den Homunkulus, den in der Retorte zu erzeugenden Menschen, herstellen könne.
Ob Paracelsus sich auch mit der Frage des Perpetuum mobile beschäftigt hat ist nicht festgestellt. In Paracelsus' Werken hat Verf. [41] das angeführte Rezept nicht finden können, aber gerade dem Paracelsus werden durch die Jahrhunderte hindurch mehr Werke zugeschrieben, als er hätte in seinem ganzen Leben schreiben können. (Sudhoff) [6] hat in einem zweibändigen Buche festgestellt, wieviel Werke Paracelsus fälschlich zugeschrieben wurden). Und es ist wiederum charakteristisch für die Legendenbildung des Perpetuum mobile, daß jenes Rezept unter der Flagge des Paracelsus von einem Autor zum andern übergeht, von Bischof Wilkins im Jahre 1648 bis auf einen populärwissenschaftlichen Artikel unserer Tage (Walter von Molo in „Velhagen und Klasings Monatsheften“, November 1913), ohne daß die Richtigkeit des Zitats nachgeprüft worden wäre.
Was die Methode betrifft, nach der das Rezept verfährt, so hat es nichts mit der Chemie im heutigen, exakten Sinne zu tun. Wollten wir heute im Laboratorium die Manipulationen genau nachmachen, so würde alles andere eher als eine „perpetuierliche Bewegung“ erhalten. Das Rezept, das Wilkins bringt, muß seinerzeit sehr bekannt gewesen sein, denn, unter gewissen kleinen Abänderungen finden wir es auch bei Kaspar Schott als „Mobile perpetuum chymico-hydraulicum“ geschildert.
Das Perpetuum mobile gehörte zum Programm der Alchemie ebenso wie der Stein der Weisen und das Lebenselexier. J. J. Becher, ein Autor des 17. Jahrhunderts zählt 8 Probleme auf, die die Philosophie (will sagen, die Wissenschaft) seiner Zeit beschäftigten: „1. Den Lapis philosophorum, 2. das Liquor Alcahest, 3. das Glas weich zu machen, 4. das ewige Licht, 5. die Linie hyperbolae in einem Brennpunkt, 6. die Longitudo zur See, 7. die Quadratur des Zirkels und 8. das Perpetuum mobile.“
Das Perpetuum mobile hat all die übrigen aufgezählten Probleme überlebt. Auch Geister, die sonst von alchemistischen Vorstellungen frei und in mancher Hinsicht ihrer Zeit weit voraus waren, konnten sich vom Vorurteil der „perpetuierlichen Bewegung“ nicht freihalten. Ein frappantes Beispiel dafür liefert ein Name, wie Robert Boyle.
Bei dem Namen Boyle (1627-1691) denkt man vor allem an jenes Gesetz aus der Theorie der Gase, das wir als Boyle-Mariottesches Gesetz der Ausdehnung der Gase kennen. Boyle lernte durch ein [42] Werk Kaspar Schotts die Versuche Guerickes kennen, wiederholte sie und stellte selbst eine Luftpumpe her. Die augenscheinlichen Beweise der gasartigen Natur der Luft, die sich daraus ergaben, konnten die Anhänger der alten Physik doch nicht davon überzeugen, daß eine so dünne und nach allen Seiten nachgebende Substanz wie die Luft das Quecksilber in der Barometerröhre in die Höhe treiben könne. Ein scholastischer Physiker stellte schließlich die Behauptung auf, daß das Quecksilber sich mit unsichtbaren Fäden an dem oberen Rand der Barometerröhre festhalte, und wollte sogar diese Fäden gefühlt haben, als er die Röhre mit dem Finger verschloß. Boyles aerostatische Arbeiten verhalfen im hohen Maße den neuen, noch heute geltenden Anschauungen der Physik zum Siege.
In der Naturphilosophie war Boyle Anhänger des Bacon von Verulam, der durch das Hervorheben der induktiven Methode gegen die alte deduktive viel zum Sturz der scholastischen Naturwissenschaft beigetragen hat. Boyles Verdienst ist, zur Zeit der allgemeinen Reaktion ein geradezu exakter Forscher gewesen zu sein. Er erklärt sich auch gegen die Alchemie; und so muß es doppelt verwunderlich erscheinen, wenn wir bei ihm folgendes lesen. Wir nehmen uns das Vergnügen, den Wortlaut des alten englischen Autors zu verdeutschen.
„Ein ausgezeichneter Lehrer der Mathematik hatte eine neue Feuermaschine erfunden und die Erlaubnis erhalten, dieselbe seiner Majestät dem König vorzuzeigen. Dabei stellte er ein Gemenge von verschiedenen Ingredienzien in einem irdenen Topfe über glühende Kohlen. Da fing die Mischung Feuer, so daß er sie so hastig wie möglich löschen mußte. Er nahm das Gefäß vom Feuer und als die Mischung wieder erkaltet war, sah er nach derselben, um zu ermitteln, was von ihr noch übrig geblieben sei. Er war aber nicht wenig erstaunt, als er sah, daß die übriggebliebene Flüssigkeit sich lebhaft bewegte. Er stellte sie noch einmal zur Seite, damit sie völlig erkalte. Als er nach einigen Stunden wieder nachsah, fand er, daß sie wie vorher in Bewegung war. Er warf dann eine Menge Sämereien darauf, um zu sehen, ob die Flüssigkeit die Bewegung auf sie übertragen würde. Aber der teerartige Teil der Flüssigkeit verband sich mit den Sämereien und bildete einen dicken Schaum, der sich auf der Oberfläche ausbreitete; dazwischen konnte man jedoch sehen, wie sich die Flüssigkeit fortwährend bewegte.
Zwei Tage später, als der Erfinder mit mir von seiner Feuerma [43]schine sprach, erzählte er auch von diesem seltsamen Fall. Als ich ihn fragte, ob die Bewegung noch fortdauerte, antwortete er bejahend, und da wurde meine Neugier so groß, daß, obwohl es bereits dunkle Nacht und schlechtes Wetter war, ich bat, mir den Topf, wie er war, holen zu lassen. Ich wollte mich einerseits des Vorkommnisses vergewissern und andererseits versuchen, mit denselben Ingredienzien, die er mir aufzählte, denselben Erfolg zu erzielen.
Nachdem das Gefäß angekommen war, zeigte die darin enthaltene Flüssigkeit, obwohl sie infolge des etwas zu hastigen Transports ziemlich durcheinander geschüttelt war, die Anzeichen derselben Bewegung, wie sie mir der Erfinder beschrieben hatte. Derselbe war auch geneigt, sie mir zu überlassen, und so ließ ich sie in mein Laboratorium setzen, wo einige Öfen die Luft beständig warm erhielten. Hier, ebenso wie an anderen Orten sah ich von Zeit zu Zeit nach der Flüssigkeit, hie und da den Schaum abnehmend, der in dicker Schicht die Oberfläche bedeckte; dabei hatte ich Gelegenheit, verschiedene Phänome zu beobachten, von denen die folgenden die wichtigsten sind:
1. Ich beobachtete, daß die Bewegung der Flüssigkeit nicht nur heftig, sondern auch wechselnd war; als ich einen Teil der Schaumes vom Reste abgelöst hatte, wurde eine Hälfte davon im Nu nach rechts gezogen, während die andere zu gleicher Zeit nach links ging.
2. Wo die Flüssigkeit aus dem Schaum herausquoll, schien sie sich am lebhaftesten, wie ein Strom zu bewegen, der vorwärts getrieben wird, aber durch ein ihm im Wege stehendes Hindernis zurückfließen muß.
3. Einige Bewegungen dieser Flüssigkeit konnten besser beobachtet werden, denn obwohl sie dunkel war, erschien sie ungleichförmig. Sie bestand teilweise aus öligen und teerigen Bestandteilen, die zwar mit dem übrigen Teil der Flüssigkeit dieselbe Oberfläche hatten, aber durch Farben und ihre Heftigkeit das Licht reflektierten und sich leicht genug vom übrigen Teil unterscheiden ließen. Ich bemerkte oft, daß einige der klebrigen Teile der Substanz, wenn sie an die Oberfläche stiegen, obwohl sie anfangs kaum größer als ein Stecknadelkopf schienen, bei ihrer Fortbewegung, ringsum auseinander gingen und dann einen großen Hof um sich bildeten, der die Farben des Regenbogens hatte und ein amüsantes und zuerst überraschendes Schauspiel boten. Diese phantastischen Erscheinungen folgten manchmal so rasch aufeinander und blieben so lange sichtbar, bis sie wieder unter dem dicken Schaume verschwanden.[44]
4. Die Bewegungen dieser seltsamen Flüssigkeit waren nicht nur abwechselnd, sondern zuweilen auch wirbelnd. Um mich davon zu überzeugen, warf ich manchmal kleine stückchen Stroh oder Teilchen irgendeines anderen leichten Stoffes auf die Oberfläche, wodurch diese auch jedesmal gleich nach der anderen Seite des Gefäßes geschleudert wurden. Um diese Wirbelbewegung sichtbar zu machen, löste ich manchmal ziemlich große Portionen Schaum vom übrigen Teil und hatte das Vergnügen, ihn in allmählich sich bildenden Schlangenlinien und durch eine Bewegung seiner mittleren Teile sich rühren zu sehen. All dies geschah, während die Flüssigkeit sich ganz kalt anfühlte.
5. Um zu sehen, ob das Vorhandensein oder Nichtvorhandensein der Luft auf die Flüssigkeit eine Wirkung ausübe, ließ ich mehrere Löffel davon mit etwas Schaum darauf in ein zylindrisches Glas tun, das ziemlich groß war und einen etwa daumengroßen Hals hatte, so daß es sich mit einem Kork gut verstopfen ließ. Als ich nun auf diese Art die freie Luft verhindert hatte, in eine volle und unmittelbare Berührung mit der ganzen Oberfläche der Mischung zu kommen, wie es früher der Fall gewesen war, konnte ich keine Hin- und Herbewegung der Flüssigkeit beobachten, selbst nicht wenn ich das Gefäß offen ließ. Wenn ich aber ein wenig von der Flüssigkeit in ein sehr flaches und weites Gefäß goß, bewegte sie sich wieder ebenso lebhaft und verschiedenartig, wie im großen irdenen Topf (der dieselbe Form hatte) und zuweilen lebhaft und sich von selbst ausdehnende Kreise zeigte wie unter Nummer 3. Und diese Kreise boten durch ihre Feinheit sowie die Schnelligkeit, mit der sie aufeinander folgten, ein ergötzliches Schauspiel, solange ich dastand, um die Flüssigkeit zu beobachten.
6. Obwohl die Bewegungen der erwähnten Flüssigkeit immer fortdauerten, so schienen sie einigermaßen unter dem Einfluß der Witterung zu stehen, wenn sie auch immer sehr lebhaft waren, ob es warm oder kalt war; ebenso bewegte sie sich sowohl bei Kerzen- wie bei Tageslichte. Als ich mich nicht wohl fühlte und nicht selbst danach sehen konnte, beauftragte ich einen anderen um 10 Uhr nachts nachzusehen; und mir wurde stets die Nachricht gebracht, daß die Flüssigkeit sich in bisher beobachteter Weise weiter bewege. Und so hat sie sich 10 Tage in Bewegung erhalten, und wie lange sie sich noch immer bewegen wird, wird die Zeit zeigen“ usw. usw. . . .
Der Bericht endet damit, daß der Topf eines Tages . . . zerbricht und dem Phänomen, das so ausführlich hier beschrieben ist, ein Ende [45] macht. Der einzige Umstand, der diesen ganzen Bericht wissenschaftlich wertvoll machen könnte, wäre, zu erfahren, was das für „Ingredienzien“ waren, die sich so hartnäckig bewegten. Aber darüber gerade sagt der Autor nichts. Und so ist auch dieser Beitrag zur Frage des ewigen Bewegens ebenso unklar und innerlich wertlos wie die anderen Berichte aus jener Zeit — trotzdem ein Forscher wie Robert Boyle sein Verfasser ist. Boyle schildert eine Reaktion, die langsam und unter ständiger Energieentwicklung verläuft. Solche Reaktionen kennt die Chemie. Jedoch beschreibt Boyle nur die äußeren Symptome der Reaktion, nicht aber die Reaktion selbst.
Im allgemeinen geht der Versuch, ein chemisches Perpetuum mobile herzustellen, auf den Versuch hinaus, eine Reaktion zu finden, die Analyse und Synthese zugleich ist. Eine solche Reaktion wurde nie gefunden und kann, wie es in der Natur der Sache liegt, auch nie gefunden werden.
Die Versuche, eine perpetuierliche Bewegung durch chemische Experimente herzustellen, sind so eng mit den Begriffen und Vorstellungen der Alchemie verknüpft, daß es schwer ist, die einen von der anderen zu trennen.
Die Alchemie ist bekanntlich nicht immer auf dem Boden des Experiments und des Versuches geblieben. Im Laufe ihrer Entwicklung hat sie sich vielfach mit Elementen der Mystik verquickt, die die „hermetische Kunst“ aus dem Gebiete der Praxis heraushebt und sie zum Mittelpunkt einer Weltanschauung macht. Es ist also notwendig, auch unter diesem Gesichtswinkel das Perpetuum mobile anzusehen und seine Beziehungen zur Mystik zu untersuchen.
In der Geschichte Europas bezeichnet man gewöhnlich mit Mystik jene Richtung des religiösen Lebens, die ihre Ausprägung im Gegensatz zu der scholastischen Theologie des Mittelalters gefunden hat. Aber schon ein Jahrtausend früher, in der alexandrinischen Philosophie (gegen 200 n. Chr.) sieht man Elemente orientalischen Gefühlslebens auftauchen, die den Spekulationen der folgenden Jahrhunderte eine eigentümliche Färbung verliehen haben. Das System jener Philosophen, die man Neoplatoniker nennt, ist ganz auf den Ergebnissen der inneren Anschauung (Extase) gegründet, ohne jeden Anspruch auf Naturerkenntnis. Es wird nicht nur unsere Unkenntnis der äußeren [46] Welt anerkannt, sondern es wird auf die Möglichkeit, sie je zu erkennen, von vorneherein verzichtet. „Ob die Fixsterne fest am Himmel stehen oder frei in der Luft schwimmen, von welcher Form und Masse der Himmel ist, wie groß die Erde sein mag und auf welche Art sie aufgehängt oder im Gleichgewicht gehalten wird — über solche Dinge zu forschen und zu disputieren ist dasselbe, als wenn wir über eine Stadt in fernem Lande sprechen und streiten wollten, von der niemand mehr als den Namen gehört hat,“ sagt der Neoplatoniker Lactantius.
Mit diesem Verzicht auf die Erforschung der äußeren Welt hörte man auf, die Sinneserscheinungen aus der gewöhnlichen Verbindung von Ursache und Wirkung abzuleiten. Im Gegenteil, man forschte nach dem verborgenen Sinn der irdischen Ereignisse und man suchte die Erklärung der Natur in gewissen Zuständen der Seele zu finden.
Die Welt des Sinnlichen und die des Übersinnlichen sind für den Mystiker nicht zwei scharf getrennte Gebiete — im Gegenteil, die Mystik sucht diese Grenze möglichst zu vernichten und in der Natur selbst übersinnliche Elemente zu finden. Die erste Folge einer solchen Naturbetrachtung ist die Verschmelzung von Gott und Natur — dadurch ist alle Mystik mit Pantheismus verwandt. Das Suchen nach übersinnlichen Beziehungen in den sinnlichen Wahrnehmungen der Natur läßt die Natur selbst gewissermaßen zu einer Zeichensprache des Übersinnlichen verblassen, so erblickten die Mystiker des Mittelalters nicht nur in einzelnen Fällen in der Welt eine Offenbarung des Göttlichen, sondern sie faßten die ganze Natur auf als fortdauernde und allgemeine Offenbarung Gottes. Hand in Hand damit ging eine stark ausgeprägte Symbolik. Die Objekte der Natur: Tiere, Pflanzen und Mineralien sind nicht nur Wesen für sich, sondern bedeuten irgendeine Idee. Die sogenannte wissenschaftliche Literatur des Mittelalters enthält eine unerschöpfliche Menge symbolischer und allegorischer Beziehungen. Wie das Lamm und das Einhorn das Sinnbild Christi waren, so galten der Drache, die Schlange und der Bär als Symbole des Teufels; ebenso bedeutet der Apfelbaum die Erbsünde oder die Olive die göttliche Liebe. Die Symbolik der Steine ist noch ausführlicher: sie geht vielfach in Alchemie über. Jedes Mineral versinnbildet irgendeine Eigenschaft (Jaspis — Lebendigkeit, Saphir — himmlische Reinheit, Chrysopras — Strenge usw.), und man sucht die objektive Beschaffenheit der Dinge aus Beziehungen der Symbole zueinander abzuleiten. Da das ganze System der Mystik auf ein Sprengen [47] der Grenzen des Sinnlichen gerichtet war und nur in einer Verknüpfung mit dem Übersinnlichen die Wege zur Erkenntnis (Offenbarung) sah, so ergab sich daraus eine Vermengung des irdisch wahrnehmbaren mit dem bildlich erdachten. Die Philosophie selbst artet in eine Theosophie aus, die Astronomie kann nicht mehr von der Astrologie geschieden werden, die Alchemie hat nichts Gemeinsames mehr mit der Chemie, die Kunst der Physik wird zur Magie.
Zum Kreis dieser Weltanschauung paßt das Problem des Perpetuum mobile von vornherein. Die Mystik, die an und für sich die Erfahrung verachtet, mußte sich dieses Problems als ihres eigentlichen Kindes annehmen. Die Erfahrung hatte ergeben, daß sich durch keine irdische Vorrichtung eine ewige Bewegung erzielen ließ. Was tat's! Man glaubte ja Mittel und Wege genug zu besitzen, um außerhalb der natürlichen Mittel das zu erreichen, was jeder Erfahrung der Physik spottete. Reichten die irdischen Kräfte nicht aus, so sollten die himmlischen helfen. Die Magie wußte auch ein Rezept zur Herstellung eines „Perpetuum mobile“. Ein solches Rezept wollen wir als Beispiel einem Buche entnehmen, das betitelt ist: „Magia Divina oder Grund- und deutlicher Unterricht von den furnehmsten caballistischen Kunst-Stücken. Von L. v. H. Anno 1745.“
„Wie ein Perpetuum mobile naturae zu machen“, heißt das kuriose Kapitel.
„Sehe [7] zu daß du in denen zwölff Nächten nach Weynachten Dufft von tragbaren Bäumen so viel bekommest, daß es eine halbe oder gantze Maß Wasser gebe. Dieses hebe wohl verwahret auf. Im Martio fange auch von tragbaren Bäumen, oder den Früchten im Feld Nebel Wasser, das im Majo colligiret hat auf den Wiesen, und so bald ein Donner-Wetter mit Regen kommt, nehme auch davon. Gieße von jedem dieser vier Wassern in eine schöne große weisse Phiol ein halb oder gantze Maaß zusammen. Setze das Glaß mit einem blinden Helm verwahret, oder sonsten wohl lutiriert einen Monath lange in Petrufaction. Hiernach bringe es in zweyten Grad des Feuers, setze einen Helm darauf und destilliere alles bis auf Honig dicken Safft herüber und nicht mehr daß es nicht verbrenne, sonsten wäre alles verdorben. Das überdestillierte rectificiere daß nur eine Maß spirituentes Wasser bleibe, und dieß hebe auf. Zu der Rema [48]nenz in der Phiol thue von der Astralischen Tinctur ehe sie mit dem Gold versetzet wird, vier Grana, dann setze das Glaß wohl lutriert, wieder in den ersten Grad, so wird sich die Materie zusammen begeben, zu einem dicken Kohl schwartzen Klumpen, und dieser wird sich scheiden: Unten als eine Dinte, oben aber wie ein Nebel von vielerley Farben und Gestalten erscheinen. Diese werden sich wieder verlieren, und unten alles zu Wasser werden. Diß Wasser wird alsdann anfangen zu grünen, und werden sich grüne Plätze zeigen, welche immer hin größer werden, und zuletz Berge und luftige Felder erscheinen und das Wasser wird alles nach und nach verschwinden.
Wann du nun siehst, daß kein Thau mehr aus der Erden aufsteiget, und alles Graß und Blumen verwelcken wollen, so nimm obiges rectificiert und asservirtes Wasser, und wenn dessen eine Maaß ist, so thue ein Quintlein von der Astralischen Tinctur hinein, und hiervon gieß ein Loth ins Glaß und verwahre es feste mit einem Stopffel, so wird alles wieder leben und wachsen. Wo du aber dieses nicht thätest, würde sich deine Materie im Glaß entzünden, und es in tausend Stücke zerschlagen, und du, wenn du nahe und zugegen wärest, könntest leicht des Todes seyn.
Wenn du nun angezeigter maßen von deinem Menstruo in das Glaß gegossen, und es immer einen Monat im ersten Grad stehen gelassen hast, so werden sich allerhand Geschirr, artig anzusehen, zeigen. Nach verflossener Zeit gieße wieder ein Loth von dem Liquore in das Glaß, vermache es fest, und laß es ohnbewegt stehen, so wird sich anjetzo die Erde spalten, und Wasser zeigen, in welchem es leben wird. Nachgehends darffest du nur alle Monath etwas von dem Liquore zugießen, biß es aufgebrauchet ist, darnach auch alles wieder vergehet.
Mercke aber nächst diesem daß, wenn du das Glaß immer unbewegt stehen läst, sich ein Dunst in die Höhe begiebt, welcher einen Schein wie die Sonne von sich geben, und des Nachts wie der Mond und die Sterne leuchten, auch wie diese 2 Lichter in der großen Welt ab- und zunehmen wird. Und wenn es von aussen trüb, regnerisch, windig ist, oder Donner, Blitz, Schnee, Reiffe, Nebel, Thau, so werden sich gleichfalls nach drey Monathen alle diese Dinge in dem Glaß zeigen, und biß dein Menstruum aufhörete, daurn. Hierin siehst du nun wie der Natur Geist würcket, was er vermag, es erhellet auch hieraus kenntlich die große Weißheit GOttes, was das Verbum Fiat seye: und wie GOtt in allen Dingen zugegen: Du wirst nicht allein [49] dieses, sondern auch weit mehrere, als angezeiget worden sehen, und der Allmächtige Schöpffer dir offenbahren, wenn du ihn nur für Augen und im Hertzen hast, auch dieses große Geheimniß vor der bösen Welt verwahrest.“
Man sieht, wohin das Problem des Perpetuum mobile allmählich geführt hat. Dieses Rezept hat schon mit dem abstrusen Ritual der Magie mehr zu tun als mit der Physik. Es zeigt, welche Verschiebung der Begriffe ein Problem im Laufe seiner Entwicklung erfährt, und wie Fragen der Naturwissenschaft mit Elementen des Aberglaubens verschmelzen. Auffallend an diesem Dokument menschlichen Irrens ist ferner noch eins: das Jahr, aus dem es stammt, — 1745. Diese Zeit ist der letzte Ausläufer einer Epoche, da Wissenschaft und Mystik, Erkenntnis und Aberglaube Hand in Hand gingen.
Aber auch das Problem des Perpetuum mobile in unserem Sinne finden wir von anderen Mystikern behandelt. Da ist vor allem Robert Fludd de Fluctibus (1574-1637) zu nennen. Der Engländer Fludd war ein berühmter Arzt und Alchemist. Als Arzt war er Nachfolger des Paracelsus; im System seines Denkens war er ein geistiger Schüler des Cornelius Agrippa, dessen Weltanschauung ganz auf kabbalistischen Vorstellungen aufgebaut ist. Fludd glaubt an die Möglichkeit der Metallwandlung, und identifiziert manchmal in der Symbolik des christlichen Mystizismus den Stein der Weisen mit Christus. Aber auffallend ist, daß in der Frage des Perpetuum mobile Fludd sich sehr skeptisch verhält. Er schildert die „Erfindung eines gewissen Italieners“, ein hydraulisches Perpetuum mobile vom Typ, wir es auf S. 28 bereits kennen gelernt haben. Fludd, der im allgemeinen von der Schöpfung aus nichts überzeugt ist, meint, die Maschine gehe in der Praxis nicht. Die Werke von Fludd sind eine Mischung von praktisch wichtigen Hinweisen und einer für unsere Begriffe wirren Kabbalistik (berühmt wurde die Polemik gegen Kepler wegen der Fluddschen Sphärenmusik). So sträubt er sich hier, er der Alchemist, eine Maschine anzuerkennen, deren Unzulänglichkeit evident ist.
Eines der besonderen Kennzeichen der Mystik, so verschieden sie in ihren Formen und Äußerungen auch sein mag, besteht darin, daß sie in der objektiven Natur und den Naturerscheinungen bestimmte Zeichen für eine freundliche oder feindliche Beziehung der Gottheit zum Menschen sieht. Der Mystiker will in allem irgendeinen verborgenen Sinn finden, aus dem er sein Handeln und moralisches Verhalten ab [50]zuleiten sucht. Diese Anschauungsweise, die im gewöhnlichen Leben oft in Aberglauben ausartet, kommt aus einem besonderen Bedürfnis des Gefühls und ist ganz unabhängig von den Fortschritten der exakten Forschung. Aus diesem Grunde bestand die Mystik zu allen Zeiten und wird auch ewig bestehen. Nur die Ziele und die Äußerungsmittel der Mystik ändern sich; ihr Grundinhalt bleibt stets derselbe. Und so besteht zur Zeit der drahtlosen Telegraphie und der Flugtechnik die Mystik ebenso fort wie im Mittelalter. Selbst die Probleme sind vielfach erhalten geblieben, und so soll es uns nicht wundern, wenn wir finden, daß der moderne Okkultist an die Möglichkeit des Perpetuum mobile ebenso glaubt, wie der Mystiker der alten Zeit. Nur besteht ein Unterschied. Der moderne Okkultist ist sich der Schwierigkeit bewußt, seinen Glauben mit den Ergebnissen der modernen Wissenschaft zu vereinigen. Einerseits kennt er das Gesetz der Erhaltung der Energie, das eine Arbeitsschöpfung aus nichts ausschließt, andererseits aber knüpft er an die Tradition der mittelalterlichen Kabbalisten an, die glaubten, daß in der Natur „inponderable“ Kräfte (was soll sich der moderne Physiker darunter vorstellen?) vorhanden seien, die der Mensch zu seinem Nutzen verwerten könne.
In den Schriften der modernen Theosophen und Okkultisten findet man noch bis heute das Perpetuum mobile behandelt. Wenn wir z. B. das „Jahrbuch des französischen Okkultismus“ für das Jahr 1908 aufschlagen, so finden wir darin eine Stelle, wie: „Ampère verdanken wir eine Hypothese der magnetischen Erdströme“, schreibt Pierre Piobb (übrigens, der Übersetzer von Fludd ins Französische). „Wir brauchen nur diese Ströme durch irgendwelche Mittel zu bannen, und wir hätten das Problem des Perpetuum mobile gelöst, mit einer leichten Veränderung: wir würden zwar keine Kraft ohne Aufwand schöpfen, aber wir würden zumindest einem unversiegbaren Vorrat ohne Mühe immer neue Energie entlehnen können. Das wäre wenn nicht eine perpetuierliche, so doch eine unentgeltliche (gratuit) Bewegung.“
Die physikalische Anschauung, die sich hier so vag äußert, charakterisiert den Stand der Frage: die moderne Wissenschaft muß und soll die Frage beantworten, die von der alten kabbalistischen Wissenschaft aufgestellt worden ist.
So erfährt das Perpetuum mobile der Mystiker seine Fortsetzung in den modernen okkultistischen Strömungen. Das alte Problem bleibt hier unantastbar: es gehört zur Überlieferung. Zu gleicher Zeit sorgen [51] die vielen Mitläufer all dieser Sekten, sehr oft Personen, bei denen sich Sinn und Unsinn zu einem konfusen Ganzen verschmilzt, dafür, daß die Frage nichts von ihrem Nimbus verliert. Überlieferung und Aberglaube, Halbbildung und das Bedürfnis nach dem Wunder auf Erden, Opposition gegen die herrschende Meinung und Dünkel, Gewinnsucht und reiner Idealismus — all das trägt mit dazu bei, daß die alte Frage des Perpetuum mobile immer wieder von neuem aufgebauscht wird und unter neuer Form immer wieder aufersteht, wenn man sie schon tot glaubt.
Wir haben bis jetzt die Hauptversuche geschildert, durch die man ein Perpetuum mobile durch rein mechanische, magnetische, hydraulische und schließlich chemische Hilfsmittel zu konstruieren erhoffte. Alle diese Mittel versagten. Aber die Geschichte des Perpetuum mobile umfaßt einen zu großen Zeitraum, und diese Frage hat zu sehr die Menschheit beschäftigt als daß irgendein Mittel zu diesem Zwecke unversucht geblieben wäre.
Die Schwierigkeit, mit der die Perpetuum-mobile-Konstrukteure auf mechanischer Grundlage zu kämpfen hatten, bestand (nach ihrer eigenen Auffassung) darin, daß ein Gewicht (oder Flüssigkeit) von selbst von einem höheren Niveau auf ein niedriges kommt, nicht aber umgekehrt. Nun gibt es aber in der Natur gewisse Erscheinungen, die eine Ausnahme von diesem Gesetz zu bilden scheinen. Um eine Flüssigkeit über ihren gewöhnlichen Spiegel zu bringen, genügt eine so einfache Vorrichtung wie der Heber.
Einen Heber (oder Siphon) nennt man bekanntlich eine gebogene enge Röhre mit zwei ungleichen Schenkeln. Taucht man den kürzeren Schenkel in eine Flüssigkeit, so steigt diese bis zum Knick der Röhre und fließt schließlich aus dem längeren Schenkel aus. Diese Erscheinung benutzt man gewöhnlich um Flüssigkeiten aus einem Gefäß in ein anderes überfließen zu lassen.
Diese Kraft des Hebers war schon dem Heron von Alexandrien (gegen 150 v. Chr.) bekannt. Porta (S. 36) glaubte, man könnte diese Kraft dazu verwenden, um durch Heber das Wasser über Berge zu leiten. Dazu brauchte man, glaubte er, eine gebogene Röhre nur [52] über den Berg hinwegzuführen und diese an beiden Enden, ebenso wie an der höchsten Stelle, mit Hähnen zu versehen. Das Wasser würde von selbst an der einen Seite steigen und an der anderen ausfließen.

Dieses phantastische Projekt Portas zeugt davon, daß man von der Kraft des Hebers eine recht übertriebene Vorstellung hatte. Die Arbeit zum Heben der Flüssigkeit wird im Heber durch den Luftdruck besorgt: sie wird geleistet durch den Niveauunterschied des Wasserspiegels gegen die Mündung des längeren Schenkels. Damit der Heber funktionieren kann, darf der höchste Punkt der Röhre nicht höher liegen, als die Höhe der Flüssigkeitssäule ausmacht, die den jeweiligen Luftdruck im Gleichgewicht hält. Für Quecksilber darf also bei normalem Luftdruck die Öffnung höchstens 760 mm, für Wasser 10 m über dem Niveau liegen.
Von der falschen und übertriebenen Vorstellung über die Wirkung der Heber gingen nun die Bemühungen aus, einen Heber als Perpetuum mobile einzurichten. Einen solchen Plan in seiner ganzen grotesken Gestalt finden wir zuerst am Anfang des 17. Jahrhunderts.
Vittorio Zonca, Stadtarchitekt zu Padua um 1600, beschreibt folgendermaßen, wie „man Wasser mit perpetuierlicher Kraft heben kann“. A (Abb. 19) ist ein zweischenkliges Rohr, B eine Öffnung im höchsten Punkte, durch die das Rohr gefüllt werden kann. C ist die [53] Mündung des engen Rohrendes, D die des weiten. Um zu zeigen, wie sich der Autor die Funktion des Rohres dachte, wollen wir die betreffende Stelle aus dem Italienischen übersetzen:
„Man muß acht geben, daß alles in Beziehung zu dem Rohre stehe, das, wie man sieht, wir Siphon nennen und das man aus Kupfer, Leder oder verpichtem Holz machen muß, so daß an keiner Stelle, wo die Arbeit vor sich geht, ein Luftzug durchdringen kann. Dann muß man das Rohr lang genug machen, und zu beachten ist, daß es in eine solche Form gebracht werde, daß, wie man sieht, alles in richtiger Proportion zu dem großen Schenkel steht, der die Kraft haben muß zu saugen und zu ziehen, wie man sieht, dadurch, daß das Instrument zum erstenmal gefüllt wird, wenn oben eine Öffnung gemacht ist, die mit Wasser gefüllt wird; wenn zuerst die beiden Öffnungen unten gut geschlossen gehalten werden, so wird es ausgezeichnet von oben drücken. Darauf öffnet man halb die beiden unteren Öffnungen, die so angebracht sind, daß das Wasser unmittelbar da einströmt, wo es zu arbeiten hat, und jene Öffnung, die es hebt, mag dort angebracht sein, wo sie es vom Turm bekommt, damit die Bewegung mit einem Stoß vor sich gehe. Und diese Öffnung wird, wie man sieht, arbeiten, indem die Bewegung dieses Instruments die Gewalt verursacht, die sich im dicken Schenkel kundtut; und dies wird mehr Kraft haben und wird ziehen, was durch den schmäleren Schenkel eintreten wird.“
Die Vorrichtung sollte also in der Weise funktionieren, daß das Wasser im engen Rohr („durch Saugen“) steigt und aus dem weiten wieder hinaustritt. Auf dem Wege von diesem zum engen Rohr treibt das Wasser (Abb. 19) eine Mühle an.
Dieselbe Vorrichtung finden wir auch bei dem bereits zitierten Mechaniker Jakob Leupold beschrieben unter dem Titel „Wie eine Mühle durch ein Siphonem zu treiben.“ Leupold macht dazu die Bemerkung: „Wer aber aus der Mechanico Elementari gelernt, daß das Wasser nicht nach seiner Menge, sondern nach seiner Höhe und Öffnung drückt, wird gar bald sehen, daß es Betrug sei.“
Die wundertätige Wirkung, die in der Beschreibung Zoncas dem Saugrohr (Siphon) zugeschrieben wird, entspricht ganz der Auffassung der Zeit, da die Funktion der Pumpe durch das horror vacui erklärt wurde. Zonca ist so zu verstehen, daß durch den Atmosphärendruck das Wasser in dem engen Rohr steigt und aus dem weiten [54] ausfließt; das Wasser müsse aber kontinuierlich nachkommen, denn sonst würde sich in der Mitte zwischen beiden Röhren ein Vakuum bilden, was nach den damaligen Vorstellungen unmöglich schien. Bekanntlich hat sogar Galilei noch an der Anschauung von der „Furcht der Natur vor dem leeren Raume“ festgehalten. Er machte die Einschränkung, daß in einem Wasserrohr mit langem Saugrohr das Wasser nicht höher als 10 m steige, weil das horror vacui seine Grenze habe. Erst Torricelli, ein Schüler Galileis erkannte das Gesetz (1643), daß die Flüssigkeitssäule im Barometer (der Name „Barometer“ wurde später von Robert Boyle eingeführt) dem Atmosphärendruck entspreche. Aber wie früher das horror vacui so wurde auch später das Torricellische Gesetz zur Grundlage von Perpetuum-mobile-Projekten. Denis Papin, der Erfinder des Dampfkessels (1647-1714) wendet sich z. B. gegen einen solchen Plan.

Die Idee, daß man durch die Wirkung des Hebers eine perpetuierliche Bewegung einer Flüssigkeit erreichen könne, wurde von Physikern auch in vernünftigerer Form als bei Zonca vertreten. George Sinclair, ein Autor des 17. Jahrhunderts, unternimmt es sogar, die Möglichkeit eines solchen Perpetuum mobile theoretisch zu beweisen. Sein Grundgedanke ist: Durch einen Heber (Abb. 20) läßt man Wasser, oder eine andere Flüssigkeit, vom Gefäß A ins Gefäß B abfließen. Wenn nun eine andere Röhre das Wasser wieder von B nach A bringt, hat man ein Perpetuum mobile. Daß das Schwergewicht in diesem Zirkulus gerade auf dem Zurückleiten des Wassers von B nach A, von niederem Niveau auf das höhere beruht, wird hier vergessen.
Noch auffallender als im Heber ist das Steigen der Flüssigkeiten in engen Röhren (Haarröhren). Diese Erscheinung, die man Kapillarität nennt, mußte also auch zur Grundlage von Perpetuum-mobile-Projekten gemacht werden. Mit der Leichtgläubigkeit, die auch die anderen Berichte dieses Autors kennzeichnen, beschreibt Kaspar Schott ein „perpetuierliches Stundenglas“, dessen Konstruktion auf der Kapillarität beruht.
Dieses Horarium hydraulicum sollte gegen 1640 von einem gewissen A. Martin erfunden worden sein. Es besteht (Abb. 21) im [55] wesentlichen aus zwei kommunizierenden Bassins A und G. A ist vollkommen luftdicht abgeschlossen. In A ragt ein Trichter N, durch den A mit Wasser gefüllt werden kann. Durch die Röhre HI fließt das Wasser aus G in den unteren Teil von A, während eine Haarröhre CD dafür sorgt, daß das Wasser von A in den oberen Teil von G zurückgebracht werde. Von hier fließt das Wasser durch eine Röhre auf ein oberschlächtiges Rad, das durch einen Hebel L und ein Gewicht X reguliert wird. Bei X befindet sich ein Uhrwerk, das durch das Rad angetrieben wird. Durch die Bewegung des Wassers bewegt sich das Rad von selbst, und somit hätten wir in dieser Vorrichtung eine Uhr, die nie aufgezogen zu werden braucht, so lange sich in A Wasser befindet.

Abgesehen davon, daß dieser Plan auf einer falschen Auffassung der Arbeit beruht, sehen wir hier dieselbe übertriebene Vorstellung von der Wirkungsfähigkeit der Kapillarröhre, wie im Fall des Hebers. Die Erscheinungen der Kapillarität beruhen bekanntlich auf dem Unterschied der molekularen Anziehung zwischen den Flüssigkeitsteilchen unter sich (Kohäsion) und der zwischen den Teilchen der Flüssigkeit und denen der festen Wand (Adhäsion). Je nach der Mittelkraft aus Ad [56]häsion und Kohäsion steht die Flüssigkeit am Rande des Gefäßes höher oder tiefer als in deren Mitte. Im allgemeinen aber hat die Hebung der Flüssigkeit ziemlich nahe Grenzen: die Flüssigkeit wird so hoch gehoben, bis der hydrostatische Druck der gehobenen Säule den nach oben gerichteten Kapillardruck im Gleichgewicht hält. In einer Glasröhre von 1 mm Durchmesser steigt Wasser um 30, Alkohol um 12, Äther um 10 mm.

Eine Erscheinung, die mit der Kapillarität verwandt ist und wie diese auch Veranlassung zu Perpetuum-mobile-Projekten gegeben hat, ist die Osmose. Unter Osmose versteht man im allgemeinen den gegenseitigen Austausch zweier Flüssigkeiten durch eine poröse Scheidewand. Wird in ein verkorktes Glasgefäß durch den durchbohrten Kork eine Glasröhre gesteckt, die z. B. mit gefärbtem Weingeist gefüllt und deren unteres Ende mit einer Schweinsblase abgebunden ist, so steigt nach einiger Zeit der Weingeist in der Röhre und fließt schließlich oben aus, — selbst wenn die Röhre 40-50 cm hoch ist. Es ist dabei 1. Weingeist zu dem Wasser getreten, was man an der Färbung der Flüssigkeit im Gefäß erkennt, und 2. entgegen der Schwerkraft Wasser durch die Blase zum Weingeist hinzugekommen. Das Steigen der Flüssigkeit in der Röhre beweist, daß mehr Wasser zum Weingeist als Weingeist zum Wasser hinzugetreten ist. Ersetzt man die Schweinsblase durch eine Kautschukmembran, so ist das Entgegengesetzte der Fall.
Es war kein geringerer als der große Mathematiker Joh. Bernoulli (1667-1748), Leibnizens eifriger Verfechter in dessen Streit gegen Newton, der in den Erscheinungen der Osmose die Möglichkeit des Perpetuum mobile sah. Er denkt sich zwei Flüssigkeiten von verschiedener Dichte, die sich im Gefäß AC mischen können (Abb. 22). Im Gefäße steckt eine Röhre EF, deren untere Mündung durch eine Membran geschlossen ist, die die leichtere Flüssigkeit allein durchläßt. Die Dichten der Flüssigkeiten stehen im Verhältnis G : L; Röhre und Gefäß sind von der Länge, daß AC : EF größer ist als (L + L) : (G + L). Die leichtere Flüssigkeit wird nun in der Röhre steigen, den Rand erreichen, überfließen, wieder in das Gefäß geraten usw. (Bernoulli, Opera omnia, T. I.) [57]
Bernoulli meint, durch diese Erscheinung zeige die Natur selbst, daß ein Perpetuum mobile möglich sei. In dieser Erscheinung sieht er auch den Grund davon, warum das Wasser aus der Tiefe des Ozeans auf die Berge steigt und dann in Form von Flüssen wieder in den Ozean fließt. Das Meerwasser enthält viel Salz, ist also schwerer als reines Wasser. Die Erde wirkt als Filter, der nur das reine Wasser hindurchläßt; die salzigen Bestandteile bleiben zurück, das reine Wasser steigt hoch und fällt dann wieder nieder.
Diese geologische Theorie beruht auf demselben Irrtum, wie das geschilderte Perpetuum mobile: in Wirklichkeit würde sich im beschriebenen Fall (Abb. 22) sehr bald ein Ruhezustand herstellen, welcher durch das Ausbalancieren der wirkenden Kräfte bedingt ist.
Dieser Perpetuum-mobile-Plan muß wohl im 17. Jahrhundert sehr verbreitet gewesen sein, denn wir finden ihn auch noch bei anderen Autoren. Der französische Physiker Haute-Feuille (1647-1724) denkt sich einen ähnlichen, allerdings etwas komplizierteren Prozeß aus. In dem Gefäß AA (Abb. 23) befindet sich ein Gemisch von Weinstein und Vitriol. Beim Vermischen dehnen sie sich unter Zischen aus und steigen durch das Rohr B in das Gefäß D, ohne aber in die gebogene Röhre CC hineinzukommen, denn die Klappen G und H öffnen sich von innen nach außen; ebenso kann das Gemisch durch B nicht zurück, weil es durch den Druck die Klappe I schließt. Wenn man nun voraussetzt, daß das Gemisch durch E und F filtriert wird, so daß E nur für Weinstein durchlässig ist, während F lediglich Vitriol passieren läßt, so bekommt man in dem einen Schenkel C Weinstein und im andern Vitriol. Von hier fließen sie wieder in A, vermischen sich wieder, und das Spiel beginnt von neuem.
Es ist wohl überflüssig zu sagen, daß auch in diesem Apparat sich bald ein Gleichgewicht herstellen würde. Abgesehen von der chemischen Reaktion, die hier eintritt, ist also diese ganze Vorrichtung unmöglich.

In der Geschichte des Perpetuum mobile haben verschiedene Momente zugleich dafür gesorgt, das Interesse an dieser Phantasmagorie zu erhalten. Neben dem praktischen Nutzen einerseits und dem theoretischen Ideal andererseits gibt es noch ein drittes Moment, das zur Lebensfähigkeit der Perpetuum-mobile-Idee viel beigetragen hat. Das ist das Spielerische, das bei Projekten solcher Art mitredet. Das Vergnügen, das wir beim Betrachten eines komplizierten und leicht funktionierenden Mechanismus empfinden, ist die Triebfeder von mancherlei verzwickten Inventionen gewesen, wie das Schachspiel an und für sich ein Spiel ist, aber eins, das die höchste Anspannung des Geistes verlangt, so bietet jede komplizierte Konstruktion einen Reiz für sich. Die Geschichte der Technik weist von ihren Anfängen an eine Fülle von Erfindungen auf, die mehr dem Spiele als dem praktischen Nutzen dienen. Uralt ist die Geschichte der Automaten, d. h. der Mechanismen, die durch irgendwelche verborgenen Kraftmittel in Bewegung gebracht werden. Schon Archytas (400 J. v. Chr.) soll eine hölzerne Taube erfunden haben, die flog, und mit den Flügeln schlug[8]. Zahlreich sind die Berichte von Automaten im Mittelalter. Die bedeutendsten Persönlichkeiten ihrer Zeit sollen sich mit Herstellung von mechanischen Spielzeugen abgegeben haben. Von Albertus Magnus wird erzählt, daß er einen Adler baute, der den Kaiser Maximilian mit Kopfnicken und Flügelschlag begrüßte. Auch soll Albertus Magnus einen automatischen Menschen (Androiden) hergestellt haben, der die Eintretenden begrüßte und mit menschlicher Stimme sprach. Diese Erfindungen brachten Albertus Magnus den Ruf eines Zauberers und Magiers ein; der Android selbst soll von einem Zeitgenossen aus Unwillen über das Trugbild der menschlichen Gestalt zerschlagen worden sein. Ähnliche Berichte hat man auch von anderen bedeutenden Persönlichkeiten, so z. B. soll Lionardo einen Löwen konstruiert haben, der Lilien spie, wedelte und sich zur Begrüßung des Kaisers Franz I. zu dessen Füßen legte.
In das Gebiet der Automaten und mechanischen Spielereien fällt entschieden auch das Problem des Perpetuum mobile, so faßten vielfach die Perpetuum-mobile-Konstrukteure selbst ihre Aufgabe auf, [59] und beriefen sich auf ihre angeblichen großen Vorläufer, auf Archimedes und die anderen Mechaniker des Altertums. Ein besonders beliebter Typus von Automaten waren die Planetarien (schon Archimedes soll ein solches Planetarium konstruiert haben), die durch verborgene mechanische Vorrichtungen die Bewegung der Himmelskörper nachahmten. Solche Planetarien wurden von den älteren Autoren oft mit dem Namen Perpetuum mobile belegt, und darin ist wohl einer der Gründe zu erblicken, daß der Ursprung des Perpetuum mobile in frühere Zeiten verlegt wird als es in Wahrheit nachzuweisen ist, und daß Männer als Perpetuum-mobile-Erfinder genannt werden, die mit der Sache gar nichts zu tun haben.
Ein Planetarium war das „Perpetuum mobile“ des holländischen Physikers Cornelius Drebbel (1572-1634), das seinerzeit viel Aufsehen erregte und dem Erfinder selbst den Namen eines Alchemisten, Magiers und Professors der Schwarzkunst einbrachte. Diesem selben Drebbel wurde lange Zeit die Erfindung des Thermometers zugeschrieben. Er war Ingenieur des Königs von England, und widmete auch diesem König sein Instrument, das die Form eines beweglichen Globus hatte und Tage, Monate und Jahre anzeigte wie ein ewiger Kalender.
Bei Drebbel selbst befindet sich keine Beschreibung dieser Erfindung, aber ein Freund Drebbels, Thomas Tymme, beschreibt sie sehr ausführlich in einem Werke unter dem Titel: „Ein philosophisches Gespräch, worin das Geheimnis der Natur erschlossen und geöffnet, und die Ursache aller Bewegung in der Natur gezeigt wird, der Materie und der Form nach, um des Menschen Geist von der Natur zu übernatürlichen und himmlischen Dingen zu erheben: und wie alle Dinge in der Zahl Drei existieren. Dabei die Erfindung eines künstlichen Perpetuum mobile, vorgeführt vor seiner Majestät dem König. Alles behandelt im Gespräch zwischen Philadelph und Theophrast“ (englisch).
Im Apparat (Abb. 24) bedeutet A die Erde, die Peripherie C ist ein hohles Kristallglas, das mit Wasser gefüllt ist und Ebbe und Flut anzeigt. Die kleine Kugel B bedeutet den Mond in seinem monatlichen Umlauf um die Erde.
Was uns an dieser Konstruktion am meisten interessieren würde, die Ursache der Bewegung der Teile wird bei der sehr ausführlichen Beschreibung des Apparates sehr kurz abgetan. Es wird nur soviel bemerkt, daß die Ursache der Bewegung das Feuer ist, da das [60] Feuer „das aktivste und mächtigste aller Elemente und die Ursache aller Bewegung sei.“
Eine andere Bedeutung als die der Kuriosität hat also die ganze Beschreibung für uns nicht. Drebbel wurden noch viele andere Wunder der Mechanik nachgesagt: er soll durch Maschinen Regen, Donner und Blitz hervorgezaubert und einen Fluß im Nu zum Austrocknen gebracht haben können. Drebbel repräsentiert überhaupt ein Gemisch von wirklichen Kenntnissen und Marktschreierei — einen Typus, der in jener Zeit sehr verbreitet war und viel zur Popularität solcher Probleme wie dem des Perpetuum mobile beigetragen hat. Am wahrscheinlichsten ist, daß Drebbels Erfindung ein geschickter Automat war, der durch einen verborgenen Mechanismus angetrieben wurde. Um aber der Sache einen größeren Nimbus zu verleihen, wurde der Name „Perpetuum mobile“ und die nebelhafte Erklärung gebraucht.

Automaten und mechanische Vorrichtungen, die möglichst lange ohne sichtbare Kraftzufuhr von außen funktionieren, waren stets beim großen Publikum beliebt. Eine besondere Vorliebe für derartige Spielereien hatte das 18. Jahrhundert. Es entsprach überhaupt dem Charakter des Barock, ebenso wie später dem des Rokoko, die Ergebnisse der ernsthaften Wissenschaft ins Spielerische aufzulösen; die Vervollkommnung der Uhren und Entdeckung neuer physikalischer Tatsachen führte dieser Vorliebe neue Nahrung zu. Berühmt sind die Automaten des [61] Mechanikers Vaucanson (1709-1782): ein Flötenspieler, der Flöte blies und die Klappen des Instrumentes selbst bewegte, die vielgenannte künstliche Ente, welche tauchte und den Hals bewegte, schrie und schnatterte, Korn fraß und sogar scheinbar verdaute. Vaucansons Instrumente bildeten bekanntlich den Grundstock des Pariser Museums des Arts et des Metiers. [9]
Diese und ähnliche Automaten und mechanische Erfindungen genossen großen Ruhm in den einflußreichsten Gesellschaftskreisen der Zeit (Uhrmacherei gehörte zu den Passionen des Revolutionskönigs Ludwig XVI) und standen hoch im Preise. Das Ansehen der Perpetuum-mobile-Erfinder wurde dadurch nur gesteigert.
Und so sehen wir im 18. Jahrhundert, besonders in dessen erster Hälfte, eine Hochflut von Perpetuum-mobile-Projekten, die weder zu dem Stand der damaligen Wissenschaft noch zu der Entwicklung der Idee selbst in irgendeinem Verhältnis stehen. In diese Epoche fällt auch die Geschichte jener Erfindung, die von allen Perpetuum-mobile-Plänen am meisten die Aufmerksamkeit der Mit- und Nachwelt auf sich gelenkt hat. Die Geschichte des sogenannten Rades von Cassel ist so sehr für die Frage des Perpetuum mobile charakteristisch und beleuchtet so eigentümlich die Kultur einer gewissen Epoche, ist mit einem Worte historisch wie menschlich so interessant, daß es nötig ist, ihr ein besonderes Kapitel zu widmen.
Für einen Betrug, eine Mystifikation großen Stils, wie die, die wir jetzt schildern wollen, sind drei Bedingungen notwendig: ein passendes Objekt, ein leichtgläubiges Publikum und schließlich, die richtige Persönlichkeit. Was das Objekt betrifft, so ist kein anderes derart wie das Perpetuum mobile dazu geeignet, ein Werkzeug für Betrügereien zu werden. Ein Problem, das zur Grundlage einen Irrtum hat, eine Phantasmagorie, deren trügerischer Schein immer neue Adepten an sich lockt, ist großartig dazu angetan, zu Mißbrauch und dunklen Machi[62] nationen Anlaß zu geben. So lange dieses Problem nicht aus dem Rahmen einer Fachfrage hinausging, konnte ein solcher Betrug sich natürlich nur auf die Kreise der Gelehrtenwelt beschränken. Aber dann kam eine Epoche, da die Mode der mechanischen Spiele einen solchen Betrug von selbst begünstigte. Das Publikum wollte amüsiert werden und verlangte Wunder, ohne sich viel darum zu kümmern, wie sie zustande kamen. Die Leichtgläubigkeit der Menschen ist unbegrenzt, wenn sich nur eine geschickte Persönlichkeit findet, die sie an der Nase führt. Das Problem des Perpetuum mobile fand diese Persönlichkeit in Ernst Elias Beßler Orffyreus.
Dieser Beßler Orffyreus gehört zu jenen Persönlichkeiten, deren Leben ein Gemisch von Abenteuern und ernster Arbeit, Lüge und Wahrheit, Betrug und Aufrichtigkeit bietet. Als Sohn eines Landmanns 1680 in der Nähe von Zittau geboren [10], zeigte er früh so hervorragende Fähigkeiten, daß er aufs Gymnasium gebracht wurde. Hier fiel er besonders durch seine Begabung für Mathematik und Mechanik auf. Kaum der Schulbank entsprungen, beginnt er ein wechselvolles Dasein. Er durchreist Böhmen, Mähren und Österreich und fristet sein Leben als Uhrmacher, Maler, Drechsler, Glasbläser, Windbüchsenmacher, Kupferstecher und sogar Astrologe. Einmal, als er am Verhungern ist, sucht er Zuflucht in einem Kloster; ein anderes Mal — im kaiserlichen Heere; weder hier noch dort bleibt er lange. Eines Tages rettet er einem Alchemisten das Leben und verschafft sich dann mit Hilfe der Alchemie, die der Gerettete ihn lehrt, für eine Zeitlang Ruhm und Geld und Zutritt in die bessere Gesellschaft. Zu dieser Zeit fügt er zu seinem schlichten Namen Beßler den wohlklingenden „Orffyreus“ hinzu.
Wie in diesem unsteten Kopf die Idee des Perpetuum mobile Boden gefaßt hat, ist nicht schwer zu verstehen. Die Veranlagung zur Mechanik hatte er von Kindheit an. Die Anregung aber zu dem Plan mochte vielleicht der sich selbst bewegende Bratenwender gegeben haben, den er zuerst im Kloster sah. Solche (Heißluft-)Bratenwender, die durch die Hitze des Herdes angetrieben werden, waren zu jener Zeit sehr verbreitet. Aber zu dem Interesse an dem Problem mag auch [63] seine Beschäftigung mit der Alchemie einiges beigetragen haben. Das sieht man daran, wie Orffyreus ans Werk ging. Während er bei einem Orgelbauer in die Lehre trat und sich von Tischlern und Schlossern praktische Winke geben ließ, setzte er sich mit einem Jesuiten und einem Rabbiner in Verbindung, um sich in die Geheimlehre der Kabbala einweihen zu lassen. Er lernte dazu sogar hebräisch.
Pekuniäre Sorgen reißen ihn fortwährend von seiner Arbeit fort und zwingen ihn, in der Ferne seinen Lebensunterhalt zu suchen. Er führt bald ein Leben voller Überfluß, bald leidet er Mangel und Entbehrung. Seine Haupteinnahme bilden Quacksalbereien. Das Kurieren bringt ihm auch Frau und Wohlstand: in Annaberg kuriert er die Tochter des dortigen Stadtphysikus und Bürgermeisters Schumann und erhält die Hand der genesenen Patientin. Zu Geld gekommen, widmet er sich ganz seinem Lieblingsplane und konstruiert sein erstes Perpetuum-mobile-Modell. Das Modell war klein und erregte im allgemeinen kein Aufsehen. Die einen schüttelten den Kopf darüber, die anderen gaben rühmende Zeugnisse ab, aber Orffyreus selbst war offenbar nicht sehr befriedigt, denn er zerstörte bald sein Modell.
Erst 1715, als er nach Merseburg gezogen war, baute er eine größere Maschine und führte sie einer „Sachverständigen-Kommission“ vor. Obgleich Orffyreus über die Merseburger Maschine einen „Gründlichen Bericht von dem glücklich inventierten Perpetuo ac per se mobili, nebst dessen accurater Abbildung“ veröffentlichte, so kann man sich doch keinen Begriff von der Maschine selbst daraus bilden. Die Meinungen der Augenzeugen sind auch nicht dazu angetan, unsere Kenntnisse von der Erfindung zu bereichern. Christian Wagner, ein Leipziger Advokat und Mathematiker behauptete, in der Maschine stecke ein verborgener Bratenwender; der Maschinenmeister Andreas Gärtner, der zusammen mit dem seinerzeit berühmten Goldschmied Joh. Melchior Dinglinger selbst an einem Perpetuum mobile gearbeitet hatte (dieser selbe Gärtner stellte später ein Perpetuum mobile in Paris aus) behauptete, die Orffyreussche Maschine werde durch einen Strick von Menschenhand bewegt, auf dem Pasquill eines gewissen Borlach konnte man auch das Rad vom Nebenzimmer aus gedreht sehen. Andere wieder glaubten an die Erfindung, und der Uhrmacher Mahn erhob sogar einen Prioritätenstreit um diese Erfindung. Der Zulauf war groß, und damals mag vielleicht Orffyreus auf den Gedanken gekommen sein, eine Geldquelle darin zu suchen. Er ließ an der Maschine eine [64] Geldbüchse anbringen, deren Ertrag angeblich wohltätigen Zwecken gewidmet war. Auch der Merseburger Magistrat faßte diese ganze wissenschaftliche Angelegenheit vom Standpunkt der Geldeinnahme auf: die Maschine wurde, als ein um Geld gezeigtes Schaustück mit 6 Pfennig „täglicher Akzise“ besteuert. Orffyreus war darüber sehr ungehalten und drohte, von Merseburg fortzuziehen. Dies geschah auch bald, denn nun ging ihm ein neuer Glücksstern auf.
Der Landgraf von Hessen-Kassel, Karl, ein Fürst, der als großer Freund der Wissenschaften und besonders der Mechanik galt, begann sich für Orffyreus zu interessieren. Unter Erteilung des Titels eines Kommerzienrats berief er ihn an seinen Hof und gab ihm die Erlaubnis, die Erfindung öffentlich auf dem Schlosse Weißenstein auszustellen. Hier wurde das neu erbaute Perpetuum mobile vom Landgrafen in Gegenwart seiner Minister besichtigt, und darauf ließ man die Maschine in einem verschlossenen und versiegelten Zimmer zuerst zwei, und dann sechs Wochen lang laufen. Als nach dieser Zeit die Siegel erbrochen wurden, war die Maschine immer noch im Gange. Nachdem auf diese Art der Beweis von der Echtheit der Vorrichtung erbracht zu sein schien, zögerte der Landgraf nicht mehr, dem Erfinder ein feierliches Attestat auszustellen, das bei „fürstlich wahren Worten“ bezeugte, daß das Orffyreussche Perpetuum mobile „weder von einer äußeren Gewalt und Hilfe, noch vielweniger aber von etwan einigen innerlichen aufzuziehenden Uhrfeder oder Räderwerk beschuldigten Falls dependire, vielmehr, vermöge fast unzähliger gelehrter Vorschriften allerdings diese lange gesuchte und gewünschte Maschine oder so genannte Perpetuum mobile pure artificiale quod durantem materiam usw. ja ein solches selbst laufendes Rad sei, welches von seiner innerlichen künstlichen Bewegungskraft so lange laufen kann, als an besagter innerer Struktur und Beschaffenheit nicht abnimmt, zerdrümmert, reißet oder gebricht, mangel- oder schadhaftig wird.“
Eine Schrift von Orffyreus, die den stolzen Namen „Triumphans Perpetuum mobile Orffyreanum“ (lateinisch und deutsch) trug, enthält Abbildung und „Beschreibung“ dieser Weißensteiner Maschine. Aber mit dem größten Aufwand von Phantasie kann man sich nach diesem Bilde (Abb. 25) keine irgendgeartete Vorstellung von der Erfindung machen. Die Maschine selbst wird nur kurz beschrieben, dagegen besteht die fast 200 Seiten dicke Quartschrift beinahe ausschließlich aus Schmähungen gegen Beßlers Feinde, prahlerischen Selbst [65]anpreisungen, hohlen Redensarten und verlogenen Ausreden. Dafür aber hat das Buch eine vierfache Widmung: an Gott, das Publikum, die gelehrten Leute und den Erfinder selbst und enthält endlich alle Zeugnisse, die zu seinen Gunsten abgegeben wurden.

Das Zeugnis des Landgrafen charakterisiert das Vertrauen, das das Publikum der Orffyreusschen Erfindung schenkte, aber das merkwürdigste bei der ganzen Angelegenheit ist, daß ein wirklicher Physiker und zwar einer von gutem Ruf sich für Orffyreus einsetzte.
Dieser Physiker war der Holländer Wilh. Jakob 's Gravesande (1688-1742), den der Landgraf zur Prüfung der Maschine nach Kassel berief. 's Gravesande ist seinerzeit dadurch berühmt geworden, daß er als erster außerhalb Englands sich zu den Lehren Newtons bekannte. In einem Brief an seinen Lehrer und Meister Isaak Newton berichtet auch 's Gravesande über das Orffyreussche Perpetuum mobile. Die Beschreibung, die dieser Physiker von der Erfindung gibt, ist aber ebenso ungenügend, wie die des Erfinders. Er beschreibt nur die äußeren Teile der Maschine: das Innere läßt der Erfinder nicht blicken, aus Furcht, ihm könnte das Geheimnis gestohlen werden. „Es ist ein Hohlrad oder eine Art Trommel“, schreibt 's Gravesande, „etwa 14 Zoll dick und 12 Fuß im Durchmesser. Es ist sehr leicht, denn es besteht aus Holzleisten, die mit Wachstuch überzogen sind, damit das Innere nicht gesehen werden könne. Durch die Trommel geht eine Achse von etwa 6 Zoll Durchmesser, und diese trägt an beiden Enden Eisenansätze von etwa ¾ Zoll Länge, worauf die Maschine sich bewegt. Ich habe die Achse untersucht“, schreibt weiter 's Gravesande, „und bin zur Überzeugung gekommen, daß nicht das [66] geringste von außen her zur Bewegung beiträgt.“ Da er selbst das Innere der Maschine nicht untersuchen darf, fragt er den Landgrafen, ob er keinen Betrug vermute, und als dieser die Frage verneint, schöpft auch der Physiker keinen Verdacht mehr.
Eine Ironie des Schicksals will es, daß 's Gravesande in der Geschichte der Physik der erste war, der einen öffentlichen Kursus der Experimentalphysik hielt, und so ist diese Leichtgläubigkeit um so verwunderlicher. Aber „Irren ist menschlich“, und man darf nicht vergessen, wieviel zu jener Zeit die Autorität der gekrönten Häupter bedeutete. Selbst Leute, die im allgemeinen gegen das Perpetuum mobile waren, wie z. B. der Mechaniker Leupold, wurden in ihren Überzeugungen wankend, „absonderlich weil der Herr Rat Orffyreus solches der Welt schon etliche Jahre gezeiget, und seine Hochfürstl. Durchlaucht der Landgraf zu Hessen Cassel solches mit hohen Fürstl. wahren Worten durch öffentliches hohes Attest bekräftigt“ (Leupold).
Unterdessen verbreitete sich der Lärm um die Orffyreussche Erfindung weit und breit, und bald stellte sich bei dem Erfinder auch der irdische Segen ein. Der Landgraf verlieh dem „Commercienrath und Mathematicum D. Orffyre“ ein „vortreffliches Privileg“, wonach er ihn mit Haus und Hof und sonstigen Mitteln reich beschenkte. Ein Engländer wollte die Maschine für eine hohe Summe kaufen, und der Zar Peter der Große schickte einen Mann nach Deutschland, um ev. die kuriose Erfindung für seine damals angelegte „Kunstkammer“ anzukaufen. Doch zuerst fragte der Zar vorsichtigerweise Leibniz und Wolff um Rat. Leibniz verhielt sich ablehnend, Wolff meinte, wenn das Geheimnis des Orffyreus in die Hände vernünftiger Mathematiker kommen würde, könnte man Nutzen daraus ziehen. (Diese Antwort gab die Veranlassung, Wolff nach Petersburg zu berufen.) Aber Orffyreus lehnte es ab, seine Maschine von Sachverständigen untersuchen zu lassen, und so zerschlug sich der Kauf. Wenn zu viel Fragen gestellt wurden, ließ Orffyreus sich krank sagen oder drohte, seine Maschine zu zerstören.
Orffyreus stand auf dem Gipfel seines Ruhms, als eine grobe Enthüllung dem ganzen fein ausgedachten Spiel eine andere Wendung gab. Das Geheimnis, das von Fürsten und Gelehrten nicht enthüllt werden konnte, wurde durch die Indiskretion einer Dienstmagd ausgeplaudert. Es stellte sich heraus, daß Orffyreus selbst ebenso wie sein Bruder, seine Frau oder seine Magd Anna Rosine die[67] Maschine aus dem Nebenzimmer drehten. In Weißenstein wurde das Drehen aus dem Schlafzimmer des Orffyreus besorgt, und das wurde manchmal wochenlang nicht unterbrochen, wenn man von einem unerwarteten Besucher überrascht zu werden fürchtete. Die Magd und der Bruder bekamen für die Drehstunde zwei Groschen. Der Bruder hatte aber dies beschwerliche Handwerk am ersten satt und machte sich aus dem Staube; die Magd wollte schließlich auch nicht weiter drehen. Orffyreus drohte sie zu erschießen, wenn sie sein Geheimnis ausplaudern würde und zwang sie folgenden Eid abzulegen:
„Ich, Anna Rosine Mauersbergerin, die ich hier stehe, ich schwöre bei Gott dem Allmächtigen diesen leiblichen Eid an Euch meinen angehörigen Herrn, Johann Elias Orffyré, schwöre teuer und mit gutem Vorbedacht bei dem dreieinigen Gott, daß ich von dieser Stunde an bis in meinen Tod, ja in Ewigkeit, von Euch, meinem bisherigen Herrn, der Ihr hier vor mir steht, nichts Böses reden, schreiben und zeigen und zu einiger Kreatur, sie lebe oder lebe nicht, von Eurem Thun und Lassen, Künsten und Geheimnissen etwas entdecken, offenbaren, reden oder schreiben, sondern alles und jedes, was ich weiß, und bei Euch geheimes gesehen oder gehöret, ich in mir verschwiegen und verborgen halten will, so wie Ihr von mir begehret oder verlanget. Ja, ich schwöre hoch und teuer, ein vor allemal zu Gott, daß ich auch sonst zu keinem Menschen von Euren Sachen, machinen und Geheimnissen etwas gesaget oder gezeiget, als blos und allein zu der Mademoiselle ** und reuet mich von Herzen, daß ich es gethan habe, weil ich doch nichts rechtes und gewisses davon zu sagen gewußt. Darum vergebt mirs, es soll nicht mehr geschehen, und ich will vor Gott und Menschen, vor zeitlichem und ewigem Gericht zeitlich und ewig verflucht, verdammt und verloren sein, wofern ich mit Vorsatz, Wissen und Willen von Euch und Euren Geheimnissen, Künsten und Sachen gegen Jemanden etwas offenbare, sage und entdecke, oder Euch in Schande oder Unglück zu bringen suche, oder Euren Namen, Ehre und Leben verletze, oder wenn ich von Euch etwas bös mehr sage, schreibe oder zeige, oder sonsten jemanden Ursache gebe, Euch zum Schaden oder Verderben; sondern ich will und werde bei aller Gelegenheit das Beste von Euch reden, schreiben und zeugen, Gott gebe, ich bin bei Euch oder sonstwo. Und wofern ich diesen Eid nicht halte, oder solchen aus Arglist anders deute, oder auf eigene Art zu verdrehen, oder etwa geringe und nichtig zu halten suche, so lasse Gott meine Seele des ewigen Todes sterben und nehme mich nimmermehr zu Gnaden an, sondern lasse mich ein unseliges Kind ewiger Vermaladeiung sein und bleiben. Amen. Verflucht bin ich, wenn ich diesen Eidschwur breche, selig, wenn ich diesen Eidschwur halte und nimmer breche. Ich schwöre, daß ich ihn halte und nicht brechen will. Dieses sei mit guten Bedachte geschworen, versiegelt und fest versprochen mit Mund, Hand und Herzen, frei und ungezwungen, aus lauterlichem Mute von mir Anna Rosine Mauersbergerin an Euch Johann Elias Orffyré, meinem angehörigen Herrn. Amen. Amen.“
Doch alle Schwüre der Welt hinderten nicht, daß die Magd den wahren Sachverhalt ausplauderte. Durch die Indiskretion der Magd, der Frau, der Mademoiselle **, einer Freundin von Orffyreus und einiger anderer Eingeweihten, wurde die Sache öffentlich bekannt, und damit hat die Geschichte dieser „wissenschaftlichen Erfindung“ eigentlich ihr Ende. Orffyreus gelang es, sich geschickt herauszureden. Die Betrogenen wollten selbst nicht gerne ihren Irrtum einsehen. So schrieb z. B. 's Gravesande: „Ich weiß wohl, daß Orffyreus verrückt, aber ich glaube nicht, daß er ein Betrüger ist. Ich habe mich niemals dafür entschieden, ob seine Maschine ein Betrug ist oder nicht, aber eins weiß ich, wie nur irgend etwas in der Welt: wenn die Dienstmagd das obige sagt, so lügt sie.“
Wie es sich mit diesem „Rad von Kassel“, wie die Zeitgenossen die Erfindung des Orffyreus nannten, in Wirklichkeit verhielt, ist schwer zu sagen. Vielleicht hatte Orffyreus selbst zuerst an sein Problem geglaubt und ernsthaft daran gearbeitet, vielleicht hoffte er immer noch ein wirkliches Perpetuum mobile herzustellen und nahm Zuflucht zum Betrug, um Zeit und Mittel zu gewinnen. Aber nun hatte die ganze Affäre einen tragikomischen Abschluß erhalten. Kein Mensch kümmerte sich auf einmal mehr um die Erfindung, die früher so viel Staub aufgewirbelt hatte. Als Orffyreus' Protektor, der Landgraf Karl starb, geriet der Perpetuum-mobile-Sucher völlig in Vergessenheit. Orffyreus versuchte sein Heil noch in verschiedenen anderen Gründungen und Erfindungen, doch geriet er in immer mißlichere Umstände, bis schließlich der Tod 1745 diesen kühnsten aller wissenschaftlichen Betrüger allen weiteren Plänen entriß.
Das große Interesse, das eine Erfindung, wie das „Rad von Kassel“ hervorrief, brachte es vielfach mit sich, daß die Gelehrtenwelt sich notgedrungen mit diesem Problem befassen und sich gegen oder für das Perpetuum mobile aussprechen mußte. Da unsere endgültige Ansicht über diese Frage erst durch das Gesetz von der Erhaltung der Energie geboten wurde, so ist es interessant zu erfahren, wie die [69] Wissenschaft der vorhergehenden Jahrhunderte die Möglichkeit oder bzw. Unmöglichkeit des Perpetuum mobile motivierte. Abgesehen von den Ansichten über die Frage, die wir gelegentlich einiger Erfindungen bereits geschildert haben, wollen wir nun im folgenden den theoretischen Stand des Problems in der vorenergetischen Epoche der Physik betrachten.
Unter den Physikern, die es unternommen haben, einen direkten Beweis der Perpetuum-mobile-Möglichkeit zu liefern, ist besonders 's Gravesande zu nennen. Vielleicht mag der persönliche Irrtum, den er begangen hat, viel dazu beigetragen haben, daß 's Gravesande von vorneherein geneigt war, das mechanische Perpetuum mobile theoretisch für möglich zu halten. In der Begründung seiner Ansicht ist er aber dermaßen ein Kind seiner Zeit, daß diese Begründung selbst zu einem Kapitel aus der Mechanik des 18. Jahrhundert wird.
Es würde zu weit führen, an dieser Stelle 's Gravesandes Ansichten im einzelnen zu verfolgen. Sein Grundgedanke ist im wesentlichen der: hat man einen frei fallenden Körper, so wächst seine Kraft mit der Zeit, da ja seine Geschwindigkeit wächst. Durch das Fallen des Körpers wird also an Kraft gewonnen, und somit hat die Natur selbst ein Prinzip gezeigt, auf Grund dessen sich ein Perpetuum mobile konstruieren läßt.
Diese Ansicht ist nicht zutreffend. Sie beruht vor allem auf einer irrtümlichen Auffassung des Begriffes „Kraft“. Heute nennt man bekanntlich Kraft das Produkt aus der Masse des Körpers m und der Beschleunigung γ[** Greek: gamma], die er bei der Bewegung erhält. Für 's Gravesande aber ist, wie für die meisten Physiker seiner Zeit, Kraft das Produkt aus Masse m und Geschwindigkeit v, also das, was wir heute „Bewegungsmenge“ nennen. Die Bewegungsmenge mv nimmt bei freiem Fall wirklich zu, aber sie hat nichts zu tun mit der Größe, deren Erhaltung wir bei einem geschlossenen System verlangen, mit der Energie oder Arbeitsfähigkeit, die in der Mechanik durch mv2/2 ausgedrückt wird.
Der Ausdruck Energie stammt erst aus dem 19. Jahrhundert. Wenn wir im Sinne jener Zeit „Kraft“ und „Energie“ identifizieren, so liegt doch 's Gravesandes Irrtum darin, daß er von einer Vermehrung der Kraft spricht, wo nur eine Vermehrung der Bewegungsmenge vorliegt. Das entsprach ganz und gar der alten Terminologie des Descartes (1596-1650), der die Kraft als mv besonders scharf präzisierte. [70]
1686 erschien die Schrift Leibnizens (1646-1716), wo gegen diese Ansicht zum erstenmal Front gemacht wurde. Ausgehend von den Fallgesetzen behauptete Leibniz, man müsse die Größe einer Kraft nicht durch das Produkt mv, sondern aus der Geschwindigkeit und der diese Geschwindigkeit erzeugenden Fallhöhe, oder was dasselbe ist, aus der Masse und dem Quadrat der Geschwindigkeit mv2 messen. Mit dieser Bezeichnung tritt Leibniz unserer heutigen Auffassung ziemlich nahe, um so mehr da von ihm die Unterscheidung zwischen „lebendiger“ und „toter“ Kraft stammt, als Kräften, die eine wirkliche Bewegung hervorrufen und die eine solche hervorzurufen bestrebt sind (kinetische und potentielle Energie, sagen wir heute).
Der Streit zwischen den Leibnizianern und Cartesianern (mv2 oder mv?) wurde weltberühmt. In Anbetracht der Wichtigkeit des Streitobjekts und der Autorität der beiden Namen des Leibniz und Descartes nahm schließlich die ganze Gelehrtenwelt daran teil. Persönlichkeiten wie Papin und Clarke waren gegen, Joh. Bernoulli und 's Gravesande für Leibniz. Auch Kant beteiligte sich an dem Streite, und mit wieviel Eifer man focht, beweist uns das Scherzgedicht von Lessing:
Es war schließlich das Verdienst D'Alamberts (1717-1783) die Begriffe der Mechanik klarzulegen und diesen ganzen Streit als bloßen Wortstreit aus der Mechanik zu verbannen.
'S Gravesande, der in dieser Frage der Erhaltung von mv2 oder mv mit Leibniz mitging, war sich dessen bewußt, und deshalb bringt er neben dem Beweis der Möglichkeit des Perpetuum mobile auf Grund der Descartesschen Kraftdefinition eine „Demonstration der Unmöglichkeit perpetuierlicher Bewegung, wenn man voraussetzt, daß die Kraft eines Körpers dem Quadrat seiner Geschwindigkeit proportional ist.“
Außer 's Gravesande glaubten auch andere Physiker an die Möglichkeit des Perpetuum mobile. Einige, wie z. B. Papin, sahen wenigstens keine theoretische Unmöglichkeit darin. Die Motivierung war verschieden. Man verwies als Beispiel auf die Elastizität, wo „Kraft“ aus nichts gewonnen werde, auf den Arbeitsgewinn durch die Maschine im allgemeinen, man appellierte schließlich an die Natur selbst, [71] die ihrem Ganzen nach nichts als ein Perpetuum mobile sei. Wie die Kraft an und für sich schon etwas Unbegreifliches sei, so könne man nicht einsehen, warum nicht manche Kräfte, wie z. B. Magnetismus oder ähnl. eine ewige Arbeitsquelle bieten sollten. Physiker, die von der Unmöglichkeit des mechanischen Perpetuum mobile überzeugt waren, gaben die Idee des Perpetuum mobile physicae nicht auf. Noch in den 40er Jahren des 19. Jahrhunderts konnte man in Gehlers Physikalischem Wörterbuch, also einem Werke, das für die Physik jener Zeit maßgebend war, eine Äußerung lesen wie diese:
„Reden wir zuerst vom Perpetuum mobile physicae, so unterliegt es keinem Zweifel, daß es ein solches geben könne, da der Kreislauf der Dinge in der Natur ein stets dauernder, ununterbrochen sich erneuernder ist. Vermag man daher irgendeine solche, in der Natur vorhandene Kraft zur Bewegung einer Vorrichtung zu benutzen, so ist damit die Aufgabe gelöst. Verschiedene Mechanismen dieser Art sind in der Wirklichkeit gegeben, die man in dieser speziellen Beziehung oft nicht hinlänglich beachtet. So ist u. a. unser Planetensystem ein wahres Perpetuum mobile, nicht minder die sich um ihre Achse drehende Erde, ein Fluß, welcher durch den unausgesetzten Wechsel der Verdunstung und des Niederschlages ununterbrochen fließt, ein Barometer, dessen Schwankungen wegen nie fehlender Luftströmungen ohne Unterlaß stattfinden, die täglich oszillierenden Magnetnadeln; alle diese und unzählige andere Apparate bewegen sich unverkennbar beständig, aber die bewegende Kraft der Ursache ist durch die Natur selbst gegeben und sie gehören insgesamt unter diejenige Klasse von Vorrichtungen, die man mit dem gemeinschaftlichen Namen eines Perpetuum mobile physicae benennen kann. . . . . Die hierauf gestellte Ansicht nebst den darauf gegründeten Bestimmungen, scheint mir also so einfach und klar, daß ich es für überflüssig halte, noch etwas weiteres hinzuzufügen. Ganz anders verhält es sich dagegen mit dem Perpetuum mobile mechanicae. . . .“
Außer der allgemeinen Unklarheit der Begriffe auf dem Gebiete der Physik, wie in dem soeben zitierten Abschnitt, waren es oft falsch verstandene moralische und theologischen Doktrinen (oder was man darunter verstehen wollte), durch die man die Perpetuum-mobile-Idee zu stützen suchte. Noch 1869 konnte eine Schrift erscheinen wie die eines gewissen J. K. Steubinger: „Aufrechterhaltung des Ideals Per [72]petuum mobile vom Standpunkt der Vernunft und der Physik.“ Die „Vernunft“ dieser und ähnlicher Schriften steht aber nicht höher als ihr physikalisches Niveau.
Dieselbe Unstimmigkeit, wie bei der theoretischen Motivierung der Möglichkeit des Perpetuum mobile sehen wir auch bei der Motivierung seiner Unmöglichkeit. Der Kritik fehlt der allgemeine Standpunkt, und so stützt sie sich mehr auf die Tatsachen der Erfahrung als auf Prinzipien. Besonders beklagt wurde das Perpetuum mobile mechanicae angefochten.
Wir haben gesehen, daß bei dem Versuche, ein mechanisches Perpetuum mobile zu konstruieren das Bestreben dahin ging, eine Vorrichtung durch die bloße Einwirkung der Gravitation in Bewegung zu bringen. Für uns hat dieser Gedanke schon an und für sich etwas Absurdes. „Wenn z. B. ein Mathematiker unserer Tage gefragt würde, ob man einem festen Körper eine solche Gestalt geben könne, daß er auf eine horizontale Ebene gebracht, bloß durch die Wirkung seines Gewichtes immerwährend fortrollen müßte, so würde er diese Frage verneinen und sagen, daß der Schwerpunkt des Körpers seinen tiefsten Punkt suchen, und wenn er ihn gefunden, in Ruhe bleiben wird. Und bei einem solchen Schluß wird er auf keine weiteren Beweise von der Unmöglichkeit einer perpetuierlichen Bewegung eingehen,“ sagt mit Recht Whewell. [11]
Wesentlich von dieser Seite faßten die Frage diejenigen Forscher auf, die von vornherein von der Unmöglichkeit des Perpetuum mobile ausgingen. Leibniz faßt diese Unmöglichkeit als Axiom auf (ebenso Kepler) und macht sie zur Grundlage seiner Betrachtungen. Ähnlich verfuhren Mechaniker wie Sturm, Lorini oder Stevin. Stevin macht das Axiom von der Unmöglichkeit des Perpetuum mobile zur Basis seiner Mechanik der schiefen Ebene: wäre eine perpetuierliche Bewegung möglich, so müßte die Kette auf dem Dreieck ABC (Abb. 26) sich immerfort bewegen, weil die Kette auf beiden Seiten symmetrisch herabhängt. Da diese Voraussetzung aber absurd ist, so muß [73] man schließen, daß auf schiefen Ebenen von derselben Höhe gleiche Gewichte dieselbe Wirkung ausüben.
Einer der wichtigsten Einwände, die gegen das Perpetuum mobile erhoben wurden, ist, daß es dem Prinzip der Aktion und Reaktion widerspreche. „Man muß zugeben“, sagt Montucla, „daß Aktion und Reaktion stets gleich sein müssen, und daß ein Körper, der einem anderen Bewegung erteilt, das verlieren muß, was er mitteilt.“ Da die Wirkung nicht größer sein kann als die Ursache, so ist das Perpetuum mobile unmöglich: die erzeugende Kraft einer Maschine kann nicht mehr Bewegung erteilen als sie selbst besitzt. Zudem müssen der Widerstand der Luft und die Reibung die Bewegung ja noch immer mehr verzögern.

Die Reibung war überhaupt der Haupteinwand, den man von jeher gegen die Möglichkeit eines Perpetuum mobile gemacht hat. Alle natürlichen Prozesse verlaufen in einem Medium, das der Bewegung einen gewissen Widerstand entgegensetzt. Dieser Widerstand verzehrt die Kraft und verlangsamt die Bewegung, so daß sie schließlich ganz aufhören muß. Wenn es auch gelingen würde, eine selbsttätige Maschine zu konstruieren, so würde sie doch nicht ewig funktionieren können: die Reibung und der Widerstand der Luft würden sie nach gewisser Zeit zum Stillstand bringen. Dieser Standpunkt wurde schon lange vor dem Gesetz der Erhaltung der Energie präzisiert.
„Nach all dem, was wir über Reibung und andere passive Kräfte gesagt haben,“ meint der Mathematiker L. N. Carnot (Vater des Thermodynamikers Sadi Carnot) in seinem Buche über die Grund [74]prinzipien des Gleichgewichts und der Bewegung vom Jahre 1802, „kann man schließen, daß ein Perpetuum mobile ein Ding der Unmöglichkeit ist. . . . Es ist klar, daß die Bewegung sich verlangsamen muß; die Summe der lebendigen Kräfte wird allmählich auf Null reduziert, und die Maschine steht still, wenn das Wirkungsmoment von der Reibung verzehrt ist. Die Bewegung hört noch schneller auf, wenn eine Erschütterung (percussion) eintritt, denn in solchem Fall wird die lebendige Kraft noch rascher verbraucht. Man muß also verzweifeln, das hervorzubringen, was man ein Perpetuum mobile nennt, wenn es wahr ist, daß alle bewegenden Kräfte in der Natur durch Anziehungen entstehen, und wenn eine allgemeine Eigenschaft dieser Kräfte die ist, daß sie bei gleichen Entfernungen sich gleich bleiben.“
Die vollkommenste Motivierung der Unmöglichkeit des Perpetuum mobile vom Standpunkt der vorenergetischen Physik finden wir in der offiziellen Erklärung der französischen Akademie der Wissenschaft, als sie 1775 beschloß, keine Projekte des Perpetuum mobile zur Prüfung mehr anzunehmen. „Die Konstruktion eines Perpetuum mobile ist absolut unmöglich,“ heißt es in dieser Erklärung. „Wenn auch auf die Dauer die Reibung und der Widerstand des Mittels die bewegende Kraft nicht zerstören würden, so könnte diese Kraft nur einen Effekt produzieren, der der Ursache gleichkäme. Wollte man aber, daß der Effekt einer endlichen Kraft immer währe, so müßte der Effekt in einem endlichen Zeitraum unendlich klein sein. Könnte man von der Reibung und dem Widerstand des Mittels absehen, so würde ein Körper, dem man eine Bewegung erteilt hat, diese ewig beibehalten, aber auf die anderen Körper keine Wirkung ausüben, und so wäre das Perpetuum mobile, das man in diesem hypothetischen Fall erhalten hätte (was ja in der Natur unmöglich ist) absolut nutzlos im Sinne der Erfinder . . .“
In dieser Erklärung, die ein halbes Jahrhundert vor der Aufstellung des Energiegesetzes abgegeben wurde, steckte schon im Grunde genommen dies Gesetz selbst, wenn wir das Schwergewicht auf den Punkt legen, daß ein Körper keinen größeren Effekt hervorrufen kann, als ihm erteilt wurde. Dieser Gedanke trägt aber hier noch den Charakter einer bloßen Spekulation, ohne reelle Begründung. Aus diesem Grunde verfehlte die Erklärung auch ihre eigentliche Wirkung, und so sehen wir die Versuche, ein Perpetuum mobile zu konstruieren, nach dieser Erklärung ebenso weiterblühen, wie vor ihr.
Die Idee des Perpetuum mobile war also schon am Ende des 18. Jahrhunderts aufs äußerste diskreditiert. Damit war sie aber noch keineswegs tot. Während in Paris offizielle Erklärungen gegen das Perpetuum mobile abgegeben wurden, war in London für die Erfindung eines gewissen Dupré eine Petition an den Staat eingereicht worden, eine Petition, die das Datum trägt, „am 50ten Tage der vollkommenen Bewegung“ der Maschine. Auch in Frankreich selbst hielt man sich nicht besonders streng an die Erklärung der Akademie, und nur zu oft wurde sie ganz vergessen. 1818 veröffentlichten noch die französischen Annalen für Physik und Chemie, die zu jener Zeit von zwei solchen Autoritäten wie dem Mathematiker Arago und dem Chemiker Gay Lussac redigiert wurden, einen Aufsatz, der die Idee des Perpetuum mobile durchaus ernst nimmt. Der schottische Physiker Brewster (1781-1868) berichtet darin von einer Vorrichtung, die von einem Schuster in Linlithgow erfunden worden sein sollte und in Edinburg ausgestellt war. Die Vorrichtung sollte in folgendem bestehen.


Zwei Magnete A und B (Abb. 27 a) wirken abwechselnd auf eine Nadel mn ein, deren Aufhängepunkt sich in der Mitte des beweglichen Hebels CD befindet. Wenn die Nadel von B angezogen wird und in die Lage nm' kommt, wodurch der Hebel CD in C'D' übergeht, tritt eine mit mn verbundene Substanz in Kraft und verursacht, daß die Wirkung des Magnetismus in B unterbrochen wird. Dadurch fällt die Nadel B ab und wird von A angezogen. Ist die Nadel in der Lage nm' und der Hebel C"D", so unterbricht dieselbe Substanz die Wirkung des Magneten A, und so fort, in infinitum.
Eine andere Form derselben Erfindung zeigt Abb. 27 b. A und B [76] sind zwei Hufeisenmagnete, mn die Nadel zwischen ihnen, a und b die mysteriöse Substanz („the misterious substance“), die jedesmal in Wirkung tritt, wenn die Nadel sich an A, respektive an B nähert.

David Brewster ist bekanntlich unter anderem der Erfinder des Kaleidoskops und des dioptrischen Stereoskops. Wegen seiner wissenschaftlichen Verdienste wurde Brewster zum Baronet ernannt, und so muß diese Leichtgläubigkeit von einem ernsten Manne der Wissenschaft um so verwunderlicher erscheinen. Man fragt sich unwillkürlich: was war das für eine Substanz, die die Rolle eines deus ex machina spielte und sich bald hie, bald dort zwischen Nadel und Magnet stellte? Bis jetzt ist eine solche Substanz nicht bekannt, aber wäre sie auch von dem ingeniösen Schuster aus Schottland erfunden worden, so wäre seine Maschine doch kein Perpetuum mobile, denn das Schwergewicht der Erfindung läge dann auf der Substanz: der Verbrauch der Substanz hätte eine Äquivalenz zur gelieferten Arbeit abgeben müssen. Brewster hatte sich durch sensationelle Nachrichten über die Erfindung dieses Schusters Spence irreführen lassen, von denen die englischen Blätter jener Zeit voll waren.
Die Perpetuum-mobile-Projekte aus dem Ende des 18. und der ersten Hälfte des 19. Jahrhunderts sind sehr zahlreich; betrachtet man sie aber näher, so ist man erstaunt, wie wenig originell in der Erfindung die Mehrzahl dieser Projekte ist. Es sind immer dieselben Prinzipien, wie in den vergangenen Jahrhunderten, auf Grund deren man eine ewige Bewegung erreichen will. Die Idee des Rades, das durch Gewichte angetrieben wird, erfährt die verschiedenartigsten Modifikationen. Abb. 28 zeigt z. B. die Verbindung des alten Radprinzips mit der Wirkung des Luftdrucks. Das Rad hat 8 Arme, die mit je einem Rezipienten in Form eines Blasebalgs versehen sind. Diese sind so angebracht, daß sich je zwei diametral entgegengesetzte Blase[77] bälge in entgegengesetzter Richtung öffnen. Auf jedem Balg lastet ein Gewicht. Ferner sind je zwei entgegengesetzte Blasebälge durch einen Kanal verbunden, der mit Quecksilber gefüllt ist. Beim Fallen drückt das Gewicht auf den Blasebalg, preßt ihn zusammen und zwingt das Quecksilber, in den diametral entgegengesetzten Arm zu treten. Dadurch wird dieser Arm schwerer und fällt seinerseits; beim Fallen drückt das Gewicht das Quecksilber wieder in den entgegengesetzten Arm und so fort. Diese Form des ewigen Rades funktioniert natürlich ebenso wenig wie die anderen.
Auch die Idee des Wasserrades, das sich selbst in Bewegung erhält, nimmt neue Formen an. 1790 erhielt ein gewisser Schwiers ein englisches Patent für eine solche Erfindung, gegen die der Physiker Nicholson (1753-1815) lebhaft polemisiert hat. Bei Gelegenheit dieser Erfindung besprach Nicholson in seiner Zeitschrift (Nicholsons Journal) sehr ausführlich die Idee der ewigen Bewegung und demonstrierte ihre Unmöglichkeit an Hand eines von Desaguliers erfundenen Apparats: zwei Gewichte, die gleich weit vom Unterstützungspunkt aufgehängt sind, halten sich im Gleichgewicht unabhängig von der Höhe des Aufhängepunktes, entgegen der alten Ansicht, daß es auf Höhe oder Tiefe des Aufhängens ankommt.
Nichts ist charakteristischer für die Unfruchtbarkeit des Perpetuum-mobile-Problems, als der Umstand, daß jeder Erfinder seine Erfindung für etwas absolut Neues hält, obwohl sie nur zu oft alte Objekte in neuer Form sind. 1847 veröffentlicht ein gewisser A. F. Vogel die „Entdeckung eines hydraulischen General-Mobils oder Perpetuum-mobile“. Diese „Entdeckung“ ist aber wie viele andere nichts mehr als eine Wiederholung der Idee des oberschlächtigen Rades, das vom Wasser angetrieben wird, das es selbst hinaufpumpt.
Bemerkenswert durch die Persönlichkeit des Erfinders ist ein Perpetuum-mobile-Projekt aus dem ersten Viertel des 19. Jahrhunderts. Sir William Congreve, der bekannte englische Artillerist und Ingenieur (1772-1828), der Erfinder des Mehrfarbendruckes (Congrevescher Druck) und der nach ihm benannten Brandraketen erhielt ein Patent für ein Perpetuum mobile, dessen Wirkungsweise auf der Kapillarität beruht. Drei Walzen (Abb. 29) bilden ein Dreieck, um das ein endloses Band aus Schwämmen läuft, an der Außenseite der letzteren führt wiederum ein endloses Band aus Gewichten entlang. Wird nun das Gestell ins Wasser gestellt, so daß der untere Teil des Systems unter[78] Wasser steht, während der obere aus dem Wasser hervorragt, so wird das Gleichgewicht gestört, und das Schwämmeband beginnt (so meint der Erfinder) zusammen mit den Gewichten sich um die Walzen in der Richtung des Pfeiles zu drehen. Diese Bewegung sollte daher rühren, daß an der Kathete des Dreiecks die Gewichte frei hinunterhängen und nicht auf die Schwämme drücken, so daß sie sich mit dem Wasser füllen. Auf der Hypotenuse dagegen drücken die Gewichte das Wasser wieder aus, das sich in den Schwämmen angesammelt hat, so daß die Schwämme wieder im trocknen Zustande hinaufsteigen. Die Größe und Schwere der Schwämme und der Gewichte sollte so berechnet sein, daß die vollgesogenen Schwämme + Gewichte an der Kathete die trocknen Schwämme — Gewichte an der Hypotenuse überwiegen und in perpetuierlicher Bewegung erhalten sollten.

So plausibel die Idee ist, so ist sie praktisch undurchführbar; die Gewichte an der Hypotenuse sind ihrem Betrag nach größer als an der Kathete, und diese Differenz der Gewichte kann nicht aufgehoben werden durch die Differenz der Wasserschwere an der Kathete und der der Hypotenuse um so weniger, da es mehr Schwämme an der Hypotenuse als an der Kathete geben muß.
Das Congrevesche Projekt hat zu seiner Zeit verschiedene Veränderungen erfahren. 1825 berichteten englische Blätter von „Bell's endloser Kette“, die auf dem Archimedischen Prinzipe beruhte. Da sollte eine endlose Kette aus Korkschwimmern über eine Rolle laufen, in Wasser sinken, hier „ihr Gewicht verlieren“ und durch den Auftrieb des Wassers wieder in die Höhe steigen. Abgesehen davon, daß der Plan undurchführbar ist (in Wirklichkeit stellt sich nur zu bald ein Gleichgewicht her), ist er auch nicht neu: wir finden ihn schon von Kaspar Schott beschrieben.
Auf der Jagd nach der perpetuierlichen Bewegung ist kein Mittel unversucht geblieben. Mechanische Hilfsmittel, Magnetismus, chemische[79] Prozesse, gewisse Erscheinungen der Molekularphysik — all das wurde mit einbezogen, um eine von selbst sich bewegende Maschine herzustellen. Verhältnismäßig selten wurde die Elektrizität dazu verwendet. Der Grund mag daran liegen, daß, als 1790 durch den klassischen Zufall Galvani die Kontaktelektrizität entdeckte, man die Ursache des Galvanismus zuerst in der „tierischen Elektrizität“ sah, also einer Quelle, die wenig geeignet war, unerschöpfliche Vorräte zu liefern; dazu kommt, daß zur Zeit der Entdeckung des Galvanismus die Idee des Perpetuum mobile sich bereits im Abstieg befand. Mit dem 19. Jahrhundert verliert das Problem überhaupt die wissenschaftliche Bedeutung, die es in den vergangenen Jahrhunderten hatte. Hier und da werden noch wissenschaftliche Autoritäten und gelehrte Körperschaften gezwungen, Stellung zu dieser Frage zu nehmen (selbst die Pariser Akademie äußerte sich noch 1855 zur Frage des Perpetuum mobile), aber im großen und ganzen erregen die Erfinder keine wissenschaftliche Beachtung mehr. Die Epoche des exakten Forschens und der neueren Technik hatte keine Zeit mehr für phantastische Ideale. Doch noch war kein allgemeines Prinzip aufgestellt, das dieses Ideal in das Gebiet der Träume verbannt; man begnügt sich mit der Erfahrung, daß das Beginnen illusorisch sei. Unterdessen nimmt das physikalische Denken einen ungeheueren Aufschwung durch die Entdeckung eines Gesetzes, das die ganze moderne Physik beherrschen sollte, des Gesetzes von der Erhaltung der Energie.
Wir sind in unseren Betrachtungen über das Perpetuum mobile bis zu einem Punkte vorgerückt, der für den heutigen Physiker eigentlich den Kardinalpunkt dieser ganzen Frage bedeutet. Das ist das Verhältnis der Perpetuum-mobile-Idee zu dem Gesetze der Erhaltung der Energie. Wir gingen von vorneherein von der Annahme aus, daß ein Perpetuum mobile unmöglich ist, weil es der Energieerhaltung widerspricht. Wir haben unsere Betrachtungen in der Weise geführt, daß die Aufstellung des Energieprinzipes den endgültigen Beweis der Unmöglichkeit des Perpetuum mobile geliefert hat. Andererseits aber findet man in der Physikliteratur oft die Ansicht vertreten, daß das Gesetz der Energieerhaltung auf der Unmöglichkeit des Per[80] petuum mobile beruhe. Es ensteht somit ein circulus vitiosus. Um von den beiden Prinzipien — der Energieerhaltung einerseits und der Perpetuum-mobile-Unmöglichkeit andererseits — festzustellen, welches das primäre, welches das sekundäre ist, wird es notwendig sein, den Ursprung des Energieprinzipes näher zu prüfen.
Dieses Gesetz ist heutzutage so allgemein anerkannt, daß man nicht mehr nach seinem Beweise fragt. Tut man das aber, so kann man verschiedene Wege einschlagen.
Man kann sich von vorneherein auf den Boden der Deduktion stellen; dann ist das Energiegesetz a priori einleuchtend. Ohne auf das Wesen und die Definition von Kraft, Arbeit, Masse usw. näher einzugehen, kann man den Unterschied zweier physikalischen Zustände durch die Veränderung eines gewissen Etwas charakterisieren, das in einem geschlossenen System eine konstante Summe bildet. Ebenso wie das Gesetz der Erhaltung des Stoffes kann auch das Gesetz der Energieerhaltung als eine logische Form unseres Denkens aufgefaßt werden (eine andere Form des Identitätsgesetzes), wodurch nichts zu nichts werden kann (a ist stets a gleich!). In diesem Sinne aufgefaßt ist die Idee der Erhaltung ebenso alt wie das menschliche Denken selbst. In den ältesten religiösen Systemen findet man den Ansatz für den Gedanken, daß nichts aus nichts geschaffen werden und nichts vernichtet werden kann. Von Anaxagoras (500 v. Chr.) stammt schon der Ausspruch: „Nichts tritt ins Sein oder wird zerstört, sondern ist eine Zusammenstellung oder Aussondernng von Dingen, die bereits vorher existierten.“ Ebenso Empedokles (um dieselbe Zeit): „Toren denken, es könne zu sein beginnen, was nie war, oder es könne, was ist, vergehen und gänzlich verschwinden.“ Man könnte diese Zitate, aus denen man eine Ahnung des Erhaltungsgesetzes in der Natur herauslesen kann, mit Leichtigkeit vermehren, aber mehr als einen psychologischen Wert haben sie schließlich nicht. Wenn die Gegner der Perpetuum-mobile-Idee lange vor Julius Robert Mayer den Satz aufstellten: „Nil dat quod non habet“ (nichts gibt, das was es nicht hat), drückten sie ja das Gesetz der Energieerhaltung implicite damit aus, aber in Wirklichkeit blieb auch dieser Ausspruch für die Physik ohne Bedeutung, so lange diesem Satz die pysikalische Grundlage fehlte. Als einziger Vorläufer des Energiegesetzes kann infolgedessen nur der Satz der Erhaltung der lebendigen Kräfte an der Mechanik betrachtet werden. (18. Jahrhundert.) [81]
Heute, da das Prinzip der Energieerhaltung mit den Tatsachen der Physik aufs engste verflochten ist, hindert uns nichts, uns mit einer deduktiven Begründung des Prinzipes zu begnügen. Aber historisch zeigt die Entwicklung einen anderen Weg, und die Perpetuum-mobile-Idee wäre nie erledigt worden, wenn man an die Erhaltung der Energie bloß als an ein deduktives Postulat appellieren müßte.
Doch außer dem rein spekulativen Wege gibt es eine physikalische Methode, um den Energiesatz zu begründen. Auch hier zeigen sich verschiedene Möglichkeiten. Entweder „man stellt sich“, um mit Planck [12] zu reden, „von vorneherein auf den Boden der mechanischen Naturauffassung, d. h. man nimmt an, daß alle Veränderungen in der Natur sich zurückführen lassen auf Bewegungen unveränderlicher, materieller Punkte, zwischen denen Kräfte wirken, die ein Potential haben. Dann ist das Energieprinzip einfach der aus der Mechanik bekannte Satz der lebendigen Kräfte, verallgemeinert auf beliebige Naturkräfte.“
Diese mechanistische Auffassung ist nicht nach jedermanns Sinn. Planck selbst läßt sie außer acht und wählt die andere Möglichkeit, die er mit den Worten kennzeichnet: „Man läßt die Frage nach der Reduktion der Naturkräfte auf Bewegungen ganz offen und geht allein aus von der durch jahrhundertelange menschliche Arbeit geprüften und in allen Fällen stets aufs neue bewährten Tatsache, daß es auf keinerlei Weise, weder mit mechanischen noch thermischen, noch chemischen noch anderen Apparaten möglich ist, ein Perpetuum mobile zu bauen, d. h. eine periodisch wirkende Maschine zu konstruieren, durch welche fortdauernd Arbeit oder lebendige Kraft aus nichts gewonnen werden kann.“
Diese Begründung des Energieprinzipes, nämlich aus der Unmöglichkeit des Perpetuum mobile heraus ist also eine empirische. Helmholtz, einer der klassischen Begründer der Energetik, schlägt denselben Weg ein, indem er erklärt [13]: „wir gehen von der Annahme aus, daß es unmöglich sei, durch irgendeine Kombination von Naturkräften bewegende Kraft fortdauernd aus nichts zu schaffen.“
„Denken wir uns ein System von Naturkräften“, meint Helmholtz, „welche in gewissen räumlichen Verhältnissen zueinander stehen und [82] unter dem Einfluß dieser gegenseitigen Kräfte in Bewegung geraten, bis sie in eine bestimmte andere Lage gekommen sind: so können wir diese gewonnenen Geschwindigkeiten als eine gewisse mechanische Arbeit betrachten und in solche verwandeln. Wollen wir nun dieselben Kräfte zum zweiten Male wirksam werden lassen, um dieselbe Arbeit noch einmal zu gewinnen, so müssen wir die Körper auf irgendeine Weise in die anfänglichen Bedingungen durch Anwendung anderer uns zu Gebote stehender Kräfte zurückversetzen; wir werden dazu also eine gewisse Arbeitsgröße der letzteren wieder verbrauchen. In diesem Falle fordert nun unser Prinzip, daß die Arbeitsgröße, welche gewonnen wird, wenn die Körper des Systems aus der Anfangslage in die zweite, und verloren wird, wenn sie aus der zweiten in die erste übergehen, stets dieselbe sei, welches auch die Art, der Weg oder die Geschwindigkeit dieses Überganges sein mögen. Denn wäre derselbe auf irgendeinem Wege größer, als auf dem anderen, so würden wir den ersteren zur Gewinnung der Arbeit benutzen können, den zweiten zur Zurückführung, zu welcher wir einen Teil der soeben gewonnenen Arbeit anwenden könnten, und würden so ins Unbestimmte mechanische Kraft gewinnen, ein Perpetuum mobile gebaut haben, welches nicht nur sich selbst in Bewegung erhielte, sondern auch noch imstande wäre, nach außen Kraft abzugeben.“
Aus diesen Worten sieht man, daß Helmholtz die Unmöglichkeit des Perpetuum mobile als Axiom voraussetzt, auf dem er seine Betrachtungen aufbaut. Interessant ist, diesem Zitat eine Stelle aus J. R. Mayer, dem eigentlichen Urheber der modernen Energetik gegenüberzustellen. In einem Briefe vom 5. Dezember 1842 schreibt Mayer an Griesinger [14]:
„Du wirst aber mit Recht jetzt sagen: «beweise die Wahrheit Deiner Behauptungen». In dieser Hinsicht führe ich an: 1. Die notwendige Konsequenz aus einfachen nicht zu leugnenden Prinzipien. 2. Ein Beweis, der, für mich subjektiv die absolute Wahrheit meiner Sätze dartut, ist ein negativer: es ist nämlich ein in der Wissenschaft allgemein angenommener Satz, daß die Konstruktion eines Mobile perpetuum eine theoretische Unmöglichkeit sei (d. h., wenn man von allen mechanischen Schwierigkeiten, wie Reibung usw. abstrahiert, so bringt man es doch auch in Gedanken nicht hin), meine Behauptungen kön [83]nen aber alle auf seine Konsequenzen aus diesem Unmöglichkeitsprinzip betrachtet werden; leugnet man nur einen Satz, so führe ich gleich ein Mobile perpetuum an usw.“
Daß der zweite Beweis für Mayer „subjektiv“ war, geht aus einer interessanten Einzelheit in seiner Biographie hervor. Er mochte ein etwa zehnjähriger Knabe gewesen sein, als er selbst die Idee faßte, ein Perpetuum mobile zu konstruieren. Er pflegte nämlich damit zu spielen, daß er auf den Bach kleine Wasserrädchen setzte und durch deren Umdrehungen kleine Gegenstände mit bewegen ließ. Nun meinte er, wenn man an einem solchen Rädchen eine Archimedische Schraube anbringen würde, könnte ein Perpetuum mobile gewonnen werden. Der Knabe wurde von den Erwachsenen eines besseren belehrt und gab bald sein Vorhaben auf, aber vielleicht machte diese Jugenderfahrung einen so starken Eindruck auf ihn, daß er damals schon unbewußt zur Überzeugung gelangte, mechanische Arbeit lasse sich nicht aus nichts erzeugen.
Spielte also die Unmöglichkeit des Perpetuum mobile auch bei Mayer eine Rolle bei seiner Begründung des Energieprinzips, so betont er selbst den spekulativen Einschlag in seinen Betrachtungen. „Die Erschaffung und die Vernichtung einer Kraft liegt außer dem Bereich menschlichen Denkens und Wirkens“, erklärt Mayer. Und ebenso äußert sich Joule, der zu gleicher Zeit wie Mayer für dieselbe Idee kämpfte: „Es ist offenbar absurd anzunehmen, daß die Kräfte, die Gott der Materie verliehen hat, eher zerstört als geschaffen werden könnten.“
In der Geschichte der Physik bezeichnet man es gewöhnlich als Verdienst von Mayer und Joule, einen experimentellen Beweis des Energiegesetzes geliefert zu haben. Indem durch die Arbeiten dieser beiden Männer das mechanische Äquivalent der Wärme festgestellt wurde (bei dem einen durch die Ausdehnung der Gase, bei dem zweiten vornehmlich durch Arbeiten auf dem Gebiete der Elektrizität), gewann man die Überzeugung von der mechanischen Natur der Wärme. Durch die Aufstellung des mechanischen Wärmeäquivalents wurden die Gesetze der Energieverwandlung und somit auch das Gesetz der Energieerhaltung gegeben.
Ernst Mach hat in seinen Werken zum ersten Male darauf hingewiesen, welcher logische oder formale Sinn in dieser Fassung des Problems liegt. Um den Gedankengang Machs klarzumachen, folgen wir einem von ihm gewählten Beispiel. [84]
Gibt es ein mechanisches Äquivalent der Elektrizität ebenso wie es ein mechanisches Äquivalent der Wärme gibt? Ja und nein, antworten wir mit Mach. Es gibt kein mechanisches Äquivalent der Elektrizitätsmenge, wie es eines der Wärmemenge gibt, denn dieselbe Elektrizitätsmenge kann verschiedene Mengen von Arbeit erzeugen, je nach der Spannung, in der sie sich befindet; wohl aber gibt es ein mechanisches Äquivalent der elektrischen Energie. Mit anderen Worten: es gibt kein mechanisches Äquivalent der Elektrizitätsmenge wie das der Wärmemenge, weil wir hie und dort mit Menge verschiedenes bezeichnen: in der Elektrizität heißt Menge das, was man mit dem Elektrometer mißt, und in der Wärmelehre etwa dem früheren Begriff des Wärmestoffs entsprechen würde; während mit „Wärmemenge“ der Betrag der Wärmeenergie bezeichnet werden soll. Diese Terminologie hat ihre historische Begründung, und es ist rein eine Sache unserer formalen Auffassung, was wir unter Wärmemenge, was unter Elektrizitätsmenge verstehen. Indem wir sagen: das mechanische Äquivalent der Wärme ist als 426 gefunden worden, d. h. 1 Wärmeeinheit hat den Wert von 426 mechanischen Arbeitseinheiten, heißt es mit anderen Worten: die Einheit der Wärme soll uns soviel wert sein, wie je 426 Einheiten der mechanischen Arbeit. Wenn wir das praktische Bedürfnis danach hätten, könnte man z. B. auch das mechanische Äquivalent des Wassers aufstellen. Wir hätten bei unserer jetzigen Terminologie wohl kein Äquivalent der Wassermenge, wohl aber des Wassergewichts mal Fallhöhe des Wassers. Würden wir aber die Wassermenge nicht mit Eimern, sondern indirekt (als Produkt aus Gewicht × Fallhöhe) messen, so hätten wir auch ein direktes Äquivalent der Wassermenge. — Auf diese Weise aufgefaßt, bekommt das Energieprinzip eine Begründung, die dieses Prinzip über die Erfahrung hinaussetzt. Die Erfahrung liefert uns die Beziehungen der wirkenden Kräfte, nur durch die Erfahrung kann man wissen, ob Wärme sich in Arbeit verwandelt. Insofern ist das Gesetz von der Verwandlung der Energie ein Erfahrungssatz. Aber es ist eine Sache unserer formalen Auffassung, wenn wir sagen: so und soviel Wärmeeinheiten seien so und soviel Arbeitseinheiten gleich. Dieses formalen Bedürfnisses schien sich schon Mayer bewußt gewesen zu sein, indem er das mechanische Wärmeäquivalent aus bereits bekannten Tatsachen ableitete und stets bestrebt war, für die neue Lehre passende Beziehungen in der ganzen Physik und Physiologie zu finden. [85]
Diese Machsche Begründung der Quellen des Energieprinzips liegt außerhalb der Perpetuum-mobile-Frage. Dieser Auffassung schließen wir uns an, indem wir die Unmöglichkeit des Perpetuum mobile aus dem Energieprinzip ableiten. Für uns ist die Unmöglichkeit der perpetuierlich arbeitenden Vorrichtung keine Begründung des Energiesatzes, sondern eine notwendige Folgerung daraus. Die formale Auffassung verleiht dem Energieprinzip den Charakter einer unerschütterlichen Wahrheit. Man müßte das ganze Gebäude der heutigen theoretischen Physik umstürzen, um zu einer Annahme der Energievermehrung zu gelangen. So lange das nicht geschehen ist, trägt das Energieprinzip den Charakter eines strengen Gesetzes, und die Unmöglichkeit des Perpetuum mobile bedarf keiner weiteren Begründung. Für die heutige Physik ist das Perpetuum mobile ein Archaismus, ein Überbleibsel aus der Epoche der Physik, da das Energiegesetz unbekannt war.
Der Satz von der Erhaltung der Energie, so sehr er in seinem Geltungsbereich alle Erscheinungen der Natur umfaßt, enthält eine Lücke, die für die Frage des Perpetuum mobile verhängnisvoll hätte sein können. Der Satz sagt zwar aus, daß keine Maschine der Welt die Energiemenge vermehren kann, aber der Energieverwandlung wird keine Grenze gesetzt. Nun haben wir gesehen, daß man im Bestreben, eine ewig arbeitende Maschine zu konstruieren, nicht immer an der Forderung festhielt, sie müsse Arbeit aus nichts schaffen; man beschränkte sich vielfach auf die Forderung, daß die Maschine, einmal instand gesetzt, immer weiter gehe. Eine solche Maschine brauchte nicht dem Gesetz der Erhaltung der Energie zu widersprechen: sie könnte z. B. dadurch bewerkstelligt werden, daß eine bestimmte Wärmemenge in mechanische Arbeit verwandelt würde, diese dann wieder in Wärme übergeführt würde usw. in die Unendlichkeit.
Auf diese zweifache Bedeutung der Perpetuum-mobile-Frage hat zuerst Wilhelm Ostwald hingewiesen. Er nannte eine Maschine, die imstande wäre, fortdauernd eine Energieart in die andere zu verwandeln und umgekehrt (ohne einen Energieverlust zu erleiden), ein „Perpetuum mobile II. Art“.
Um diese Bezeichnung zu verstehen und die Unmöglichkeit auch einer solcher Maschine zu begründen, müssen wir etwas näher auf die [86] Ergänzung eingehen, die das Energieprinzip speziell durch die Thermodynamik erfahren hat.
Auf die Wärmelehre angewandt, wird das Prinzip der Erhaltung der Energie als I. Hauptsatz der Thermodynamik bezeichnet. Seine allgemeine Formulierung wäre die, daß bei allen Wärmeprozessen (wie bei allen Naturprozessen überhaupt) die Summe der Energie konstant ist. Was auch geschehen mag — der Betrag an Energie wird weder vermindert noch vermehrt. Dieses Gesetz sagt aber nichts darüber aus, was geschieht. In welcher Richtung verlaufen die natürlichen Prozesse? Fällt ein Stein vom Berge ins Tal, explodiert eine Bombe und verwandelt ihre chemische Energie in Wärme, Licht und mechanische Wirkung, erwärmt die brennende Kohle die Temperatur des Zimmers von 10° auf 18° — bei allen diesen Vorgängen ist die Summe der Energie unverändert geblieben. Aber nach dem Energiegesetz allein könnten alle diese Prozesse sowohl in der einen wie in der anderen Richtung verlaufen: der Stein könnte ebenso gut vom Tal auf den Berg fallen wie umgekehrt, aus der Wirkung der Explosion könnte man wieder eine Bombe herstellen, und die im Zimmer zerstreute Wärme könnte man wieder sammeln. Aber nur im Kinematographentheater kann man die Reihenfolge der Geschehnisse beliebig ändern: aus der Asche und Kohle wird ein flackerndes Streichholz, und die Zigarre im Munde des Rauchers wird immer länger anstatt kürzer zu werden. In der Realität sind alle Geschehnisse in ihrer zeitlichen Aufeinanderfolge streng bestimmt. Das allgemeine Prinzip, das die Richtung der natürlichen Geschehnisse charakterisiert, wird durch den sogenannten II. Hauptsatz der Thermodynamik ausgedrückt.
Ebenso wie der I. Hauptsatz hat auch der II. Satz verschiedene Fassungen erhalten. In den meisten Lehrbüchern der Physik findet man die beiden Sätze meistenteils so formuliert, wie es von seiten Clausius', einem der Begründer der modernen Thermodynamik, geschehen ist: I. Die Energie des Weltalls ist konstant. II. Die Entropie des Weltalls strebt einem Maximum zu.
Der Begriff „Entropie“ bedarf an dieser Stelle einer Definition. Ohne auf nähere mathematische Betrachtungen einzugehen, genügt es, die „Entropie“ als diejenige Größe zu charakterisieren, die die Eigenschaft besitzt, nur bei absolut umkehrbaren physikalischen Prozessen (Idealprozessen) gleich zu bleiben.
Der II. Hauptsatz ist ein Erfahrungssatz. Er geht von der natür [87]lichen Kenntnis der Dinge aus, daß es unmöglich ist, die Energie ihrem vollen Betrag nach auszunutzen. Bei jedem Prozeß bewiesen die Nebenumstände wie Reibung usw., daß ein Teil der Energie (die im ganzen erhalten bleibt) für uns, für die praktischen Zwecke des gegebenen Prozesses verloren geht. Man suchte auf verschiedene Art diese Eigentümlichkeit der Energieprozesse zu charakterisieren. Man spricht häufig von einer „Entwertung“ der Energie, wobei man die Energiearten gewissermaßen in eine Rangtafel einordnet. Die Wärme hat den niedrigsten Rang unter den Energiearten: bei allen Prozessen entsteht Wärme, eine Wärme, die nicht mehr in andere Energieformen verwandelbar ist. Man spricht in diesem Sinne von dem „Wärmetod“ des Weltalls, als dem Zustand, da alle in der Welt vorhandene Energie sich in arbeitsunfähige Wärme verwandelt haben wird. Mit jedem Prozeß, der in der Natur sich vollzieht, mit jedem Tage wird mehr und mehr von der uns zur Verfügung stehenden Energie in eine niedere Form und schließlich in Wärme umgewandelt und büßt ihre Wirkungsfähigkeit ein.
Eine etwas andere Fassung des Entropiegedankens ist die „Zerstreuung“ der Energie. Bei jedem Prozesse, der sich innerhalb eines geschlossenen Systems abspielt, wird zwar die Gesamtsumme der Energie erhalten, aber ein Teil der Energie wird zerstreut, so daß sie nicht wieder gesammelt werden kann. Ein Maß dieser „Zerstreuung“ liefert die Entropie. Die Entropie ist aber nicht etwa zu definieren, als „Energiemenge, die für uns verloren geht“. Die Entropie ist nicht Energie; sie ist nur der mathematische Ausdruck für die Menge Energie, die bei allen Veränderungen der Natur unserem Wirkungsbereiche entweicht und somit für uns verloren geht.
Diese Zerstreuung der Energie muß bewirken, daß die Energie, die irgendeine Maschine zur Verfügung hat, sich nach und nach verbraucht, auch wenn sie an keinen anderen Körper ihre Energie überträgt.
Die Perpetuum-mobile-Konstrukteure haben sich oft ihre Idee in folgender Form gedacht: zwei Uhrwerke sind miteinander so verbunden, daß das eine beim Ablaufen das andere aufzieht und umgekehrt. Dieses System müßte also eine ewige Maschine sein. Es widerspricht auch nicht der Energieerhaltung. Aber das Ganze wäre doch kein Perpetuum mobile: das eine Uhrwerk wird beim Ablaufen einen Teil seiner Energie zerstreuen, und einen schon kleineren Betrag auf das zweite übertragen; ebenso das zweite auf das erste, und so fort bis [88] die Energie nicht mehr reichen wird, das Uhrwerk in Bewegung zu bringen, und das Ganze steht still.
Oder denken wir uns folgende Vorrichtung. Ein Dampfkessel wird erhitzt. Durch den Dampf werden mechanische Bewegungen erzeugt. Die Bewegung der Räder, Hebel usw. ist aber so eingerichtet, daß durch sie wieder Wärme erzeugt wird, die dem Dampfkessel mitgeteilt wird. Das wäre das vollkommene Beispiel eines Perpetuum mobile II. Art. Die Hitze des Dampfes treibt die Räder, die Umdrehung der Räder erhitzt den Dampf — die eine Arbeit verrichtet die andere, und einmal in Gang gesetzt, müßte das Ganze ewig laufen, ohne je stehen zu bleiben. Zwar wäre durch die Maschine keine Arbeit gewonnen, aber die Vorrichtung wäre die Verkörperung eines Ideals, da Energie ewig hin- und zurückverwandelt wird.
Das wäre der Idealfall eines Prozesses, den man in der Thermodynamik einen reversiblen Prozeß nennt. Mit der Betrachtung der reversiblen (in der Natur gibt es nur irreversible Prozesse) Vorgänge fing die moderne Thermodynamik an, indem Sadi Carnot (1796 bis 1832) die Funktion aufstellte, die bei allen natürlichen Prozessen zunimmt. Die Carnotsche Funktion wurde zum Ausgangspunkte der ganzen Entropielehre, des II. Hauptsatzes. Wollte man nur von der Erfahrung ausgehen, so könnte man die beiden Hauptsätze folgendermaßen formulieren.
I. Es ist unmöglich, eine Vorrichtung zu konstruieren, die Arbeit aus nichts leistet (Perpetuum mobile I. Art).
II. Es ist unmöglich, eine Vorrichtung zu konstruieren, die beständig Arbeit in Wärme und dieselbe Wärme wieder in Arbeit verwandelt (Perpetuum mobile II. Art).
Diese Formulierung der beiden Hauptsätze findet man besonders scharf bei Nernst ausgedrückt. Mit dieser Formulierung sollte der alte Wahn von der ewig durch sich selbst arbeitenden Maschine endgültig aus dem Bereiche der Physik verbannt werden.
1842 erschien Mayers Arbeit „Bemerkungen über die Kräfte der unbelebten Natur“, in der zum ersten Male das mechanische Wärmeäquivalent berechnet und das Prinzip der Erhaltung der Kraft in voller Allgemeinheit aufgestellt wurde. Ein Jahr später erschien die[89] Arbeit von Joule, in der das mechanische Wärmeäquivalent auf anderem Wege berechnet wurde. Langsam faßte die neue Anschauung Boden, aber man kann sagen, daß seit fast einem halben Jahrhundert das Gesetz der Erhaltung der Energie zum festen Bestand unserer Naturerkenntnis gehört (ebenso wie das Gesetz der Erhaltung des Stoffes seit Lavoisier). Und doch hörten während dieser ganzen Zeit die Versuche, ein Perpetuum mobile zu konstruieren, nicht auf.
Die Perpetuum-mobile-Projekte aus der zweiten Hälfte des 19. Jahrhunderts können im großen und ganzen in zwei Kategorien eingeteilt werden: die einen versuchen durch Ausnutzung der physikalischen Grundprinzipien eine Vorrichtung zu ersinnen, die immerwährend funktioniert; die anderen wiederum wollen dasselbe Ziel durch komplizierte technische Hilfsmittel erreichen. Und so wollen wir diese ersteren Perpetuum-mobile-Projekte der Sache gemäß physikalische Projekte nennen, während die anderen als technische bezeichnet werden mögen.

Was die physikalischen Projekte betrifft, so muß wieder wie schon früher ihre geringe Originalität und Erfindungsgabe betont werden. Es sind immer dieselben Prinzipien, die aufs neue variiert werden. Z. B. erfindet 1865 ein gewisser Hermann Leonhard aus St. Gallen in der Schweiz eine „neue Triebkraftmaschine“, die die Schwimmgesetze verwerten will. Eine Reihe von Schwimmern (Abb. 30) aus dünnem Blech, geht über zwei Scheiben, die auf 2 Wellen sitzen. Die eine Hälfte der Schwimmer geht durch einen mit Wasser gefüllten Behälter, während die andere Hälfte sich in freier Luft befindet. Die Schwimmer sollten durch den Auftrieb des Wassers in die Höhe steigen und sich infolgedessen in konstanter Bewegung befinden. Verschiedene Vorrichtungen sollten noch dafür sorgen, daß die Schwimmer[90] leichter ins Wasser kommen und aus dem Wasser steigen — doch auf die Beschreibung dieser Details kommt es dabei nicht an: im Prinzip ist diese Maschine schon eine sehr alte Erfindung.

In der Geschichte keines Gedankens kann man soviel bewußte und unbewußte Nachahmungen und Plagiate finden, wie in der Geschichte des Perpetuum mobile. 4 Jahre nach der soeben beschriebenen Erfindung läßt sich ein Herr Jean Clunot aus Lyon eine „neue und verbesserte Triebkraftmaschine“ in England patentieren, die fast eine genaue Wiederholung der Leonhardschen Idee ist, und 1870 bekommt ein anderer Erfinder, William H. Chaper ein amerikanisches Patent für dieselbe Erfindung.
Alle Irrtümer der vergangenen Zeiten werden auch im 19. Jahrhundert wiederholt. So sehen wir das alte Radprinzip in fast unendlicher Reihe weiter kombinieren, und ebenso alle anderen Konstruktionen. Doch es wäre nutzlos, bei der Beschreibung aller dieser Projekte weiter zu verweilen, denn sie alle beruhen auf einem Irrtum, und der Irrtum ist in der Wissenschaft nur interessant, wenn er eine historische Stufe charakterisiert, nicht aber wenn er auf Ignoranz beruht.
Beachtenswerter als die rein physikalischen Versuche sind die Projekte, die von Technikern ausgehen. Dem Techniker kommt es bei seiner Arbeit auf den praktischen Effekt an, nicht nur auf die theoretische Wahrheit, und so geschieht es oft, daß er die theoretischen Grundsätze, die er als Axiome voraussetzt, im Lauf seiner Arbeit vergißt. Das Ideal jedes Technikers ist, eine Maschine zu haben, bei der die Reibung möglichst wenig Kraft verzehrt. Eine Lieblingsidee der Erfinder war es von jeher, eine Maschine zu konstruieren, bei der die Reibung auf Null reduziert ist. In der Zeit, da die Technik ihre größten Triumphe feiert, muß dieses Ziel besonders erreichbar scheinen.
Aber auch das alte Ideal der Maschine, die aus sich selbst Arbeit[91] liefert, ist noch wach. Aus neuer und neuester Zeit hat man die verschiedenartigsten Projekte selbstfahrender Wagen, selbsttätiger Lasthebemaschinen und so fort. Besonders zahlreich kann man in Amerika diese Art von Projekten finden: hier ist der Perpetuum-mobile-Gedanke noch nicht so diskreditiert wie im alten Europa. (In den meisten Staaten werden Perpetuum-mobile-Projekte von der Patentierung ausgeschlossen.) Nur wenige der heutigen Projekte tragen den alten Namen „Perpetuum mobile“, obwohl sie dem Prinzip nach es sein wollen.
Abb. 31 zeigt ein Perpetuum mobile von Horace Wickham aus Chicago, das 1870 ein amerikanisches Patent erhielt. Der Effekt der Maschine soll durch Kombination eines schwingenden Gewichts mit einem Rädersystem erreicht werden. In ihren Details ist die Maschine recht kompliziert. Die Blätter der Vereinigten Staaten brachten seinerzeit spaltenlange Beschreibungen dieses Wunderdings. Es wurde behauptet, daß die Maschine 2 Monate lang von selbst gegangen sei. Wie diese Nachricht aufzufassen ist, hat uns die Erfahrung von früher gelehrt.

Ein amerikanisches Patent schützte die Erfindung eines Österreichers, Dr. Alois Drasch aus St. Egydi, die unter dem Namen eines Kugelmotors ein Perpetuum mobile darstellte. Die Maschine besteht im wesentlichen aus einem kippenden Trog (Abb. 32), in dem eine Kugel rollt. In den Trog reicht ein Hebel hinein, der mit einer Welle verbunden ist. Der Erfinder glaubte, daß durch den beständigen Stellungswechsel des Troges infolge der Schwerkraft der Ball immerwährend rollen wird; diese Bewegung würde sich kontinuierlich der Welle mitteilen, der den Mechanismus antreibt. Auf der Abbildung sieht man die Welle mit einem konischen Zahnrad versehen, das in ein zweites Zahnrad eingreift; dieses letztere befindet sich auf der Achse eines[92] Wagens, so daß der Wagen allein durch das Rollen der Kugel fortgezogen wird.
Überhaupt gehen die meisten Projekte neuerer Zeit, ein Perpetuum mobile zu bauen, dahin aus, die Gravitation in Triebkraft umzusetzen. Um die Gravitation, diese von der Natur selbst gegebene „Triebkraft“ zu verwerten, wurde in den sechziger Jahren in London sogar eine Aktiengesellschaft gegründet. Diese Predavais Motive Power Company sollte ein Grundkapital von anderthalb Millionen Pfund Sterling haben und führte den Namen eines Professors auf ihrer Direktorenliste. Dem Unternehmen wurde die Erfindung eines Ingenieurs Predaval zugrunde gelegt, der einige Patente für Triebkraftmaschinen erhalten hatte. Nicht viele durchschauten sofort, daß man es mit einem verkappten Perpetuum mobile alten Stils zu tun hatte. Das Unternehmen scheiterte jedoch noch bevor es ans Werk trat.
Es gibt einige Naturerscheinungen, die in einem scheinbaren Widerspruch mit dem Gesetz der Erhaltung der Energie stehen und leicht den Glauben erwecken können, daß ein Perpetuum mobile möglich sei. Das sind die Fälle, wo eine in der Natur aufgespeicherte Energiemenge Arbeit leistet. Man erinnere sich, welche Aufregung die Entdeckung der radioaktiven Substanzen hervorgerufen hat — man glaubte es zuerst mit einer Arbeitsleistung zu tun zu haben, die aus sich selbst geschaffen wird.
Ausgehend von der Arbeitsfähigkeit des Radiums konstruierte schon 1903 Strutt einen kleinen Apparat, der die kontinuierliche Umwandlung radioaktiver Energie in mechanische Bewegung demonstrieren sollte. Es ist ein Goldblattelektroskop, das durch Radiumbestrahlung geladen wird; wenn die Blättchen einen gewissen Ausschlag erreicht haben, entladen sie sich an einem Kontakt, und das Spiel beginnt von neuem.
Der Struttsche Apparat wurde in geeigneter Weise vom Züricher Physiker H. Greinacher modifiziert. Das Greinachersche „Radium-Perpetuum-mobile“ (Abb. 33) besteht im wesentlichen 1. aus einem in Paraffin gebetteten Messingplättchen P, das die Radiumstrahlen auffängt und 2. aus einer Art Elektrometer, dessen Nadel N in metallischer Verbindung mit P steht. Das Ganze ist sehr leicht und klein, die [93] Paraffinschicht hat eine Dicke von ½ mm, und das Aluminiumblättchen, das zum Tragen der radioaktiven Substanz bestimmt ist (sie ist mittels des Schraubenkopfes K eingeklemmt) nicht dicker als 0,015 mm. Die Strahlen des Radiumpräparats treffen auf die Platte P, laden sie und übertragen die Ladung auf DHW, so daß die Nadel eine Drehung bekommt. Diese Drehung kann entweder direkt beobachtet werden oder mittels des Spiegelchens S auf eine Skala projiziert werden. Bei der Drehung kehrt sich die Nadel einem Kontakt zu und wird entladen, so daß der Prozeß von neuem beginnen kann.
Dieser Apparat, der so lange funktioniert, wie die Bestrahlung dauert, zeigt die fast unzerstörbare Arbeitsfähigkeit des Radiums, aber der Erfinder selbst weiß, daß dieses „Perpetuum mobile“ mit der Erfindung eines Orffyreus und den Bestrebungen der Perpetuum-mobile-Sucher nichts mehr als den Namen gemeinsam hat.
Ebensowenig wie der Greinachersche Apparat verdient den Namen eines Perpetuum mobile im eigentlichen Sinne das „Elektrische Perpetuum mobile“, das seit 70 Jahren im Karlsruher Physikalischen Kabinet der Technischen Hochschule zu sehen ist. Es besteht aus einer Zambonischen Säule, bei der bekanntlich Blätter aus unechtem Gold- und Silberpapier (Kupfer und Zinn) die Rolle der Metalle und die im Papier enthaltene Feuchtigkeit an Stelle der Flüssigkeit eines galvanischen Elements stehen. Zwischen den Polen der liegenden Zambonischen Säule, die einen geringen Abstand voneinander haben, pendelt ein Goldblättchen hin und her: sobald es mit dem positiven Pole der Säule in Berührung kommt, wird es mit positiver Elektrizität geladen, vom Pol abgestoßen und nach dem negativen Pol getrieben. Hier gibt es die positive Elektrizität ab, wird negativ geladen und wieder abgestoßen. Das Pendeln dauert so lange, wie die Wirkung der Zambonischen Säule selbst.

In Wirklichkeit ist auch diese Vorrichtung kein Perpetuum mobile, denn ihre Wirkungsfähigkeit (die im übrigen minimal ist) beruht auf dem[94] zwar unmerklichen aber doch vorhandenen Verbrauch der Zambonischen Elemente. Es gibt ja noch andere solche Apparate. Bekannt ist z. B. das Radioskop, die kleine Mühle, deren Flügel durch die Strahlen der Sonne angetrieben werden. Die Triebkraft kommt hier von der Sonne, deren „Abnutzung“ fast unmerklich ist. Alle diese Vorrichtungen, die ihre Energie aus den in der Natur vorhandenen Vorräten beziehen, sind keine Perpetua mobilia im eigentlichen Sinne. Sie arbeiten nicht „von selbst“, sondern beziehen ihre Energie von außen, und ihre Energiequellen sind zwar für unsere Begriffe gewaltig, aber nicht unerschöpflich.
Man ist gewöhnt, wenn man vom Perpetuum mobile spricht, es als Problem hinzustellen, das der Vergangenheit angehört. Die Perpetuum-mobile-Frage findet jedoch auch heute noch so viel Adepten, daß sie keineswegs als Frage der Vergangenheit betrachtet werden kann.
Es sind nicht immer Ignoranten, Besserwisser und Eigenbrötler, die heutzutage noch die Ansicht vertreten, daß eine Maschine, die ohne äußere Kraftzufuhr arbeitet, möglich ist. Der moderne Perpetuum-mobile-Bejaher muß sich aber des Konfliktes bewußt sein, in den er mit der Wissenschaft tritt, und so sind ihm zwei Wege möglich: entweder diese Wissenschaft zu ignorieren oder sie zu überholen.
Der erste Weg muß naturgemäß außerhalb unserer Betrachtung bleiben; wir wollen aber noch ganz kurz die Frage streifen, wie man versuchen kann, die Perpetuum-mobile-Möglichkeit vom Standpunkt der Physik zu bejahen.
Solche Versuche gibt es. Bemerkenswert in dieser Hinsicht ist z. B. ein Werk, das den Titel „Neue Energetik“ trägt. [15] Der Autor, Leo Gilbert, will darin eine neue Energetik begründen, die von der bisherigen prinzipiell abweicht. Die Basis seiner Anschauung ist die Korrelation oder Gegensätzlichkeit der Erscheinungen (Bipolarität). Jedes Ding hat zwei Seiten, jede Erscheinung hat eine Gegenerscheinung. Tritt an irgendeiner Stelle ein physikalischer Prozeß in dem einen Sinne ein, so muß zugleich an irgendeiner anderen Stelle ein Prozeß in dem dazu entgegengesetzten Sinne sich vollziehen. Jeder Begriff der Physik hat einen Gegenbegriff, von dem die Störung des einen die Erhaltung des anderen bedeutet (positive — negative Elektrizität;
[95]kalt — warm; Ruhe — Bewegung). Alle Prozesse bestehen also darin, daß fortwährend Gleichgewichtszustände gestört werden, wobei neue Gleichgewichte hergestellt werden.
Diese Anschauungsweise schließt, wenigstens theoretisch, das Perpetuum mobile nicht aus. Da das Wesen der Arbeit demnach in der Verschiebung eines Energiekomplexes von einem Pol zum anderen Pol ist, so ist ja eine Maschine denkbar, deren Aufgabe darin besteht, die Verschiebung hin und her hervorzurufen.
Damit möge der Grundgedanke dieser „neuen Energetik“ skizziert sein. Ob aber diese Energetik, die mit einer vollkommen neuen Terminologie operiert und alle alten Begriffe auf den Kopf stellt, nicht auf einem formalen Irrtum beruht, müßte rein erkenntnistheoretisch untersucht werden.
Aber selbst wenn man von solchen und ähnlichen Versuchen, das Perpetuum-mobile-Prinzip zu rechtfertigen, absieht, findet man noch Erfinder genug, die von der Möglichkeit einer aus sich selbst arbeitenden Maschine rein praktisch überzeugt sind. Man kann auch heute noch Ingenieure und Techniker treffen, die glauben, man müßte die Schwerkraft in Arbeitsfähigkeit umsetzen können.
Das Perpetuum mobile bildet ein besonderes Kapitel aus der Erfinderpsychologie, in der die verschiedenartigsten Momente zusammenkommen. Wie sehr kennt man den Typus des Erfinders, der immer auf dem Sprunge steht, eine weltumstürzende Entdeckung zu machen, dem nur noch soundsoviel Zeit oder soundsoviel Geld dazu fehlt, um seine Erfindung zu verwirklichen. Tagein tagaus, jahrein jahraus arbeitet er im ehrlichen Streben, er bringt seiner Idee die größten Opfer, — der Erfolg bleibt aus, aber er glaubt fest an seine Sache. Er merkt es schon lange nicht mehr, daß er sich immer weiter vom Ziel entfernt; er verbohrt sich immer mehr in die Sache, je mehr sie ihm entschwindet; er kümmert sich nicht um die Verachtung oder das Mitleid seiner Mitmenschen, er läßt sich von niemandem und durch nichts überzeugen, denn er will die Erfindung machen, und der Wille ist bei ihm stärker als Motive der Vernunft.
Einen interessanten und psychologisch wertvollen Beitrag zu dem ewigen Typus des Perpetuum-mobile-Suchers bildet ein kleines Werk von Paul Scheerbart „Das Perpetuum mobile“.[16] Diese „Geschichte [96] einer Erfindung“ ist von einem Dichter geschrieben, der in der Literatur durch eine Reihe phantastischer Romane bekannt ist. Mit wunderbarer Überlegenheit ist diese Erfinderjobsiade erzählt. „Durch Gewichte bewegtes Zahnrad“ nennt der Erfinder sein Unternehmen. Er sagt sich: „Die Anziehung der Erde ist eine perpetuierliche, und diese perpetuierliche Anziehungsarbeit läßt sich durch einige aufeinandergestellte Räder in perpetuierliche Bewegung umsetzen.“ Er weiß: das widerspricht dem Gesetz von der Erhaltung der Energie, aber — „Was ging mich Robert Mayer an?“ — und — „Die Physiker waren mir immer verhaßt.“ Er versucht einen Wagen zu konstruieren, in dem die Räder sich nicht außerhalb, sondern innerhalb des Vehikels befinden, und noch bevor der Plan die leiseste Spur von Erfolg verspricht, ergeht sich der Erfinder in der Ausmalung der Folgen, die die Erfindung haben wird: Zeitungen werden gegründet, Städte gebaut, die Sahara fruchtbar gemacht, Berge versetzt, die gewaltigsten Umwälzungen vollzogen, und alles ohne jede Mühe. „Der Arbeiter muß leider einsehen, daß sein stumpfsinniges Arbeiten ganz überflüssig ist, da ja die Erde durch perpetuierliche Anziehungsarbeit alles, was wir brauchen, ganz alleine besorgt. — Die soziale Frage ist endlich gelöst.“
Bei Scheerbart, dem Dichter, endet die Geschichte damit, daß der Erfinder, von den möglichen Folgen seiner Erfindung abgestoßen, das Problem zwar „löst“, aber es nicht weiter verfolgt; in der Wirklichkeit aber endet sie überhaupt nicht oder endet mit dem Tod. Alle Gründe der Vernunft und alle Erfahrung können einen Menschen doch nicht überzeugen, wenn er mit dem Gefühl an etwas hängt.
Das Moment des Gefühls spielt bei dieser ganzen Frage überhaupt eine wichtige Rolle. Fragt man: Warum ist das Perpetuum mobile (abgesehen von der Physik) unmöglich? so wird der eine antworten: Mein Gefühl sträubt sich gegen die Idee, daß in der Praxis etwas möglich sei, was ewig unaufhörlich ist. Der andere aber wird ebenso, aus dem Gefühl heraus, die Idee für möglich halten, weil sie für ihn einen Wunsch, ein fernes Ziel, ein Ideal bedeutet. Aus diesem Grunde hat sich die Menschheit weder durch jahrhundertelange Erfahrung noch durch Beweise der Logik eines Besseren belehren lassen, und aus diesem Grunde werden Ideen, wie die des Perpetuum mobile, in dieser oder jener Gestalt immer weiter leben.
Ampère 50.
Anaxagoras 80.
Arago 1, 75.
Archytas 58.
Bacon von Verulam 42.
Becher, J. J. 41.
Berthelot 7.
Beßler, Ernst Elias, s. Orffyreus.
Bettino, Mario 18.
Böckler, G. Andr. 30.
Bollstädt, Graf von, s. Abertus Magnus.
Borelli, Giov. Alf. 20.
Boyle, Robert 41 ff.
Brewster, David 75 ff.
Busäus 35.
Capra, Alessandro 12.
Carnot, L. N. 73.
Chaper, William 90.
Clarke 70.
Clausius 86.
Clunot, Jean 90.
Congreve, William 77 ff.
Cornelius Agrippa 49.
Cusanus 22.
D'Alembert 70.
Daul 3.
Demokritos 6.
Descartes 69 ff.
Dinglinger, Joh. Melchior 63.
Dircks 3.
Doswill, Andrew 26.
Drasch, A. 91.
Drebbel, Cornelius 59 ff.
Dupré 75.
Empedokles 80.
Fludd de Fluctibus 49 ff.
Galvani 79.
Gärtner, Andreas 63.
Gay Lussac 75.
Gehler 71.
Gilbert, Leo 94.
Gilbert, William 25.
's Gravesande, Jakob 63 ff., 69 ff.
Greinacher, H. 92.
Guericke 42.
H., L. v. 47.
Haute-Feuille 57.
Helmholtz 81 ff.
Heron von Alexandrien 51.
Iseis, Alfons 28.
Jacobus 58.
Joule 80.
Kant 70.
Karl, Landgraf von Hessen-Kassel 64 ff.
Kepler 72.
Kircher, Athanasius 15, 16, 25, 26, 38.
Krebs, Nikolaus, s. Cusanus.
Lactantius 46.
Lavoisier 89.
Leonhard, H. 89.
Lessing 70.
Lionardo da Vinci 10, 16, 29, 58.
Lorini 72.
Loyola, Ignatius 37.
Mach, Ernst 83 ff.
Mahn 63.
Martin, A. 54 ff.
Molo, Walter von 41.
Newton, Isaak 63.
Nicholson 77.
Ostwald, Wilhelm 85.
Oldenberg 7.
Orffyreus 62 ff.
Peregrinus, Peter 24.
Peter der Große 66.
Pythagoras 6.
Piobb, Pierre 50.
Planck, Max. 81.
Plinius 22.
Porta, Giambattista 35, 51 ff.
Predaval 92.
Scheerbart, Paul 95 ff.
Scheiner, Christoph 18, 35, 38.
Schott, Kaspar 13, 20, 25 ff., 38, 41, 42, 54.
Schumann 63.
Schwiers 77.
Sinclair, George 54.
Solski, Stanislaus 30 ff.
Somerset, Edward, s. Worcester.
Spence 76.
Steubinger, J. K. 71.
Strutt 92.
Sturm 72.
Sudhoff, K. 41.
Taisnerius, Joh. 23.
Tales von Milet 22.
Thomas von Aquino 34.
Torricelli 54.
Tymme, Thomas 59.
Vaucanson 61.
Vincenz von Beauvais 34.
Vinci, de, s. Lionardo.
Vitruvius, Marcus 6.
Vogel, A. F. 77.
Wagner, Christian 63.
Whewell 72.
Wickham, Horace 91.
Wilkins, John 6, 13 ff., 24, 25, 29, 38 ff.
Wolff 66.
Worcester, Marquis von 16, 17.
Zonca, Vittorio 52 ff.
Barrot du Plessis: Essai sur la possibilité d'une machine à oscillations croissantes. 8º. Paris 1783.
F. Barth: Vermeintliche Perpetuum mobile. Bericht des Nürnberger Gewerbemuseums. Nürnberg 1902. Gr. XXV B.
Joh. Joch. Becher: Närrische Weisheit und weise Narrheit. 12º. Frankfurt 1683.
Joh. Bernoulli: Opera omnia T. I p. 41. Folio. Lausannae et Genevae 1742.
Mario Bettino: Apiaria universae philosophiae, mathem. in quibus paradoxa et nova pleraque machinamenta ad usus eximios traducta etc. Folio. Bononiae 1641.
Georg And. Böckler: Theatrum machinarum novum. Fol. Coloniae Agrippinae 1662.
Giovanni Alphonso Borelli: De motionibus naturalibus et gravitate pendentibus. 4º. Regio Julio 1670.
S. Hartlieb in Robert Boyle: Works Vol. V p. 281 b. Folio. London 1744.
Robert Boyle: An Historical account of a strangely self moving Liquor. Philos. Transact. N. 176. p. 1188. 1685. vol. 15.
E. D. Bräsicke: Das Perpetuum mobile oder eine Maschine, welche allein vermöge der Schwerkraft jede anhaltende Bewegungskraft zu erzeugen imstande ist. 8º. Strasburg. i. U. 1866.
Giov. Branca: Le machine, volume nuovo. 4º. Romae 1629.
Dr. Brewster: Sur le Mouvement perpétuel. Annales de chimie et de physique. 8º. Paris 1818. p. 219.
Fr. Bülau: Geheime Geschichten und rätselhafte Menschen. 12º. Leipzig 1850-64. T. III.
Buonani: Musaeum Kircherianum. Fol. Romae 1709.
M. Camus: Problème de Statique. Histoire de l'Académie Royale des Sciences. Paris 1740. p. 201 ff.
Alessandro Capra: La nuova architectura militare. 4º. Bologna 1683.
Ger. Cardanus: De Rerum varietate libri XVII. Fol. Basileae 1557.
L. N. Carnot: Principes fondamentaux de l'équilibre et du mouvement. 8º. Paris 1803.
R. Cobes: Hydrostatical and Pneumatical Lectures. 8º. London 1738.
A. Daul: Das Perpetuum mobile. 8º. Wien 1900.
J. T. Desaguliers: A Course of experimental philosophy. 8º. London 1745. T. I. p. 183.
—— Remarks on some Attempts made towards a perpetual motion. Phil. Trans. 4º. London 1721. p. 234.
Dictionnaire mathém. des Amusemens et des Sciences. 4º. Paris 1792.
Diderot et D'Alembert: Encyclopédie, ou Dictionnaire raisonné des Sciences, des Arts et des Metiers. Folio. Neufchatel 1765.
H. Dircks: Perpetuum mobile or search for self motive power I-II. 8º. London 1861-72.
Jacob J. W. Dobrzenski de Nigro Ponte: Nova et Amaenior de admirando fontium genio philosphia. Folio. Ferrara 1657.
Andrew Doswil: Gentlem. Magazine 1763. Vol. 33. p. 439.
Corn. Drebbelius: Epistola ad sapientissimum Britanniae Monarcham Jacobum. De perpetuo mobilis inventione. 12º. Hamburg 1621.
Friedrich v. Drieberg: Neue Maschinen, erfunden und beschrieben von F. v. Drieberg. 8º. Berlin 1823.
Rob. Fludd de Fluctibus Armigero: Tractatus Secundus de Naturae Simia seu Technica macrocosmi historia in partes undicem divisa. Fol. In Nobile Oppenheimio 1618.
Gregorio Fontana: Esame d'un nuovo argomento in favore del Moto perpetuo, Memorie di matematica e fisica della societa italiana. 4º. Verona 1786. p. 502.
Gehlers Physikalisches Wörterbuch, neu bearbeitet von Brandes, Gmelin, Horner, Muncke, Pfaff. 8º. Leipzig 1833. Vol. 7. S. 408.
Wil. Gilbert: De Magnete magnetisque corporibus. 4º. London 1600.
'S Gravesande: Oeuvres Philosophiques et mathematiques. 4º. Amsterdam 1774. Bd. 1. p. 303. Lettre à Mr. Newton sur une Machine inventée par Orffyreus.
—— Remarques touchant le mouv. perpétual. Oeuvres phil. et math. p. 305-312.
H. Greinacher: Ein neues Radium perpetuum mobile. Verhandlungen der Deutsch. Phys. Ges. S. 398. 1911. 8º. Braunschweig.
L. v. H.: Magia Divina oder Grund und deutlicher Untericht von den furnehmsten Caballistischen Kunst-Stücken. Der Geheimen Gottlichen Weisheit Liebhabern. 8º. 1745.
M. de Haute-Feuille: Récueil des ouvrages, contenant les Inventions nouvelles dans les Physiques et dans les Mécaniques. Folio. Paris 1692.
G. Helm: Die Energetik nach ihrer geschichtlichen Entwicklung. 8º. Leipzig 1898.
H. von Helmholtz: Über die Erhaltung der Kraft. Berlin 1847. 8º. S. 7.
de la Hire: Demonstration de l'impossibilité du mouvement perpetuel. Mémoires de l'Acad. Royale des Sciences de 1666-1699. Tome 10. 4º. Paris 1730. p. 605.
Histoire de l'Académie Royale des Sciences. 4º. Paris 1775. p. 64.
F. Ichak: Aus dem Haushalte der Natur. (Die Lehre von der Energie.) 8º. Berlin 1906.
Idee und Beschreibung einer fortwährenden Bewegung oder eines sog. Perpetuum mobile. Auf mechan. Prinzipien gegründet und mit beigefügten Zeichnungen und Berechnungen erläutert für Liebhaber der Physik von einem Liebhaber derselben. 8º. Quedlinburg 1833.
James Jurin: An Account of some experiments shown before the Royal Society. Phil. Trans. London 1718. p. 739.
Wil. Kenrick: An account of the automaton, constructed by Orf. 4º. London 1770.
—— A lecture on the perpetual motion. 8º. London 1771.
Athanasius Kircher: Magnus, sive de arte magnetica. Folio. Roma 1640-1641.
—— Misurgia universalis. 2 vol. Fol. Roma 1650.
—— Specula Melitauris Encyclica sive syntagma novum instrumentorum physico mathematicorum. 12º. Messina 1638.
Franciscus de Lanis: Magisterium Naturae et Artis. Folio. Brixiae 1684.
A. Lassus: Album de Villard de Honnecourt. 4º. Paris 1858.
G. G. Leibniz: Brevis Demonstratio erroris memorabilis Cartesii. Acta eruditorum. 4º. Leipzig 1686. p. 161.
—— Specimen Dynamicum, pro admirandis naturae legibus circa corporum vires. Acta eruditorum. 4º. Leipzig 1695. p. 145.
Jakob Leupold: Theatrum machinarum generale. Folio. Leipzig 1724.
E. Mach: Die Prinzipien der Wärmelehre, historisch kritisch entwickelt. 8º. Leipzig 1896.
M. Mathulon: Essay de Géométrie et de Physique. 4º. Paris 1726. Auch Journal des Sçavans. 1726. p. 570.
J. Rob. Mayer: Kleinere Schriften und Briefe. Herausgegeben von J. Weyrauch. 8º. Stuttgart 1893.
Montucla: Histoire de Mathématiques. T. III. Publié par Jérôme de La Lande. 4º. Paris 1802.
—— Récréations Mathématiques. T. IV. 4º. Paris 1778.
Christian Ernst Neumann: Plan zur Erfindung und Verfertigung derjenigen Maschine, welche in der Mechanik das Perpetuum mobile genannt wird. 4º. Lübeck 1767.
W. Nicholson: On the Mechanical Projects for affording a perp. motion. A Journal of Natural Philosphy, Chemistry and arts. 4º. London 1797. p. 375.
Orffyreus: Gründlicher Bericht von dem glücklich inventierten Perpetuo ac per se mobili, nebst dessen akkurater Abbildung. 4º. Leipzig 1715.
---- Neue Nachrichten von der kuriosen und wohlbestellten Lauffperle des Orffyreus auf dem Schlosse Weißenstein bei Cassel von neuem erbauten Perpetui mobilis etc. 4º. Leipzig 1718.
—— Triumphans Perpetuum mobile Orffyreanum (lateinisch u. deutsch). 4º. Cassel 1719.
W. Ostwald: Allgemeine Chemie. 8º. Leipzig 1891.
Dr. Papin, An Answer to the author of the perp. motion. 4º. London Phil. Trans. 1687. p. 267.
—— Observation on a French Paper concerning a perp. motion. 4º. London Phil. Trans. 1685. p. 1240.
—— Some furhter Remarks on the Instrument proposed by an anonymous french author, for effecting a perp. motion. London. Phil. Trans. 1686. p. 138.
Pet. Peregrinus: Da Magnete, seu Rote perpetui motus. 8º. Augsburg 1558.
Pierre Piobb: L'année occultiste et psychique. 8º. Paris. 1908.
M. Planck: Das Prinzip der Erhaltung der Energie. 8º. Leipzig 1887.
---- Vorlesungen über Thermodynamik. 8º. Leipzig 1911.
Giambattista della Porta: Magia naturalis sive de miraculis rerum naturalium lib. XX. Fol. Neapel 1589.
Giov. Baptista Riccioli: Considerazioni sopra la forza d'alcune regione fis. mat. 4 vol. 4º. Venezia 1667-1669.
F. Rosenberger, Geschichte der Physik. 8º. Braunschweig 1882.
Valerii Saledini: Die immerwährende Bewegung. 8º. Frankfurt a. M. 1625.
Sammlung von Natur und Medizin, wie auch hierzu gehörigen Kunst und Literatur Geschichten so sich An. 1719 in den 3 Winter-Monaten in Schlesien und anderen Ländern begeben. 4º. Breslau 1720.
Paul Scheerbart, Das Perpetuum mobile, die Geschichte einer Erfindung. 4º. Leipzig 1910.
Christ. Scheiner: Exegesis fundamentorum gnomonicis. 4º. Ingolstadt 1616.
Caspar Schott: Magia unversialis. T. IV. 4º. Herbopoli 1660.
—— Mechanica hydraulíco-pneumatica. 4º. Herbopoli 1658.
—— Technica curiosa. 4º. Herbopolí 1664.
S. Solski: Le mouvement perpetual purement artificiel inventé et exécuté par le P. Stanislas Solski. Journal des Sçavans. 4º. Paris 1678. p. 148.
Georg Sinclair: Ars Nova et Magna Gravitis et Leviatis. 4º. 1669.
D. de Stair: Physiologica nova experimentalis. 4º. Lugdini 1686.
Joh. Karl Steubinger: Aufrechterhaltung des Ideals P. m. vom Standpunkt der Vernunft und Physik. 8º. Halle a. S. 1869.
Simon Stevinus: De staticae elementis. Fol. Lagodini 1605.
Robert Steward: An essay for a machine of perp. motion. 4º. Edinburgh 1709.
Joh. Taisnerius: Opusculum perpetua memoria dignissimum, de natura magnetis, et eius effectibus. 4º. Köln 1562.
Th. Tymme: A Dialogue philosphical, wherein natures secret closed at opened, and the cause of all motion in the nature showed . . . Together with the inverntion of an artificial perp. motion . . . . All which are discoursed between two speakers Philadelph and Theophrast. 4º. London 1612.
Venturi, Essay sur les ouvrages physico-mathém. de Lionardo da Vinci. 8º. Paris 1797.
A. F. Vogel: Entdeckung eines hydraulischen General-Mobils oder per. mob. 8º. Leipzig 1847.
John Wilkins, Mathematical Magick. 8º. London 1648.
Christian von Wolff: Vollständiges mathem. Lexikon. 8º. Leipzig 1734.
Edward Somerset Marquis of Worcester: A century of the names and scantlings of such inventions as at presant I can call to mind to have tried and perfected. 8º. London 1663. by Charles Partington, London 1825.
Vittorio Zonca: Novo Teatro di Machine et edificii. Folio. Padua. 1607.
[1] Vgl. Franz M. Feldhaus: Leonardo, der Techniker und Erfinder, 8º. Jena 1913.
[2] Die Originalzeichnung auf Seite 269 von Math. Magick 8º, London 1648, ist fehlerhaft.
[3] Auch Lionardo da Vinci hat den hydraulischen Typ des Perpetuum mobile gekannt, aber mit dem Scharfsinn des Praktikers verwirft er diese Art von Projekten.
[4] H. v. Eicken, Geschichte und System der mittelalterlichen Weltanschauung. 8º. Stuttgart 1887.
[5] Ebenda.
[6] K. Sudhoff: Versuch einer Kritik der Echtheit der Paracelsischen Schriften. 8º. Berlin 1894.
[7] Wir lassen die Orthographie des Originals erhalten.
[8] Dieser, wie alle ähnlichen Berichte aus längst vergangenen Zeiten müssen natürlich mit größter Vorsicht aufgenommen werden.
[9] In diesem Museum befanden sich vor mehreren Jahren alte Modelle von Perpetuum-mobile-Versuchen. Als d. Verf. den Konservator des Museums nach dem Verbleib der verschwundenen Modelle fragte, bekam sie die Antwort, die Modelle seien vernichtet worden, weil sie „dem Publikum böse Inspirationen einflößten“.
[10] Als Material zu den biographischen Daten des Orffyreus diente: Bülau, Geheime Geschichten und rätselhafte Menschen, Band III. 12º. Leipzig 1850-1862.
[11] Whewell: Geschichte der induktiven Wissenschaften, 8º, Stuttgart, 1840, Bd. II, S. 15.
[12] M. Planck: Vorlesungen über Thermodynamik, 8º, Leipzig 1911.
[13] H. Helmholtz: Über die Erhaltung der Kraft, 8º, Berlin 1847.
[14] R. Mayer: Kleinere Schriften und Briefe. Herausgegeben von J. Weyrauch, 8º Stuttgart 1893.
[15] Leo Gilbert: Neue Energetik, 8º, Dresden 1912.
[16] Paul Scheerbart: Das Perpetuum mobile, 4º; Leipzig 1910.
Anmerkungen:
1. seite 4--'künstliche' geändert zu 'künstlich'
2. seite 6--Bindestrich fügte in der Phrase 'des Perpetuum-mobile-Gedankens'
3. seite 22--'daß' geändert zu 'das'
4. seite 27--'in' geändert zu 'im'
5. seite 33--Bindestrich fügte in der Phrase 'von Perpetuum-mobile-Modellen'
6. seite 33--'Naturphilosopie' behoben zu 'Naturphilosophie'
7. seite 58--'Zauberes' behoben zu 'Zauberers'
8. seite 60--fehlender Zeitraum nachher addiert '...gebracht haben können'
9. seite 66--'„Commercien rath' geändert zu '„Commercienrath'
10. seite 81--'appelieren' behoben zu 'appellierien'
11. seite 90--entfernt 'und' in der Phrase 'soviel bewußte und und unbewußte'
12. seite 96--entfernt „ vorher 'Die soziale Frage...'